맨위로가기

전건

"오늘의AI위키"는 AI 기술로 일관성 있고 체계적인 최신 지식을 제공하는 혁신 플랫폼입니다.
"오늘의AI위키"의 AI를 통해 더욱 풍부하고 폭넓은 지식 경험을 누리세요.

1. 개요

전건은 모스 부호를 송신하기 위해 사용되는 장치로, 다양한 종류가 존재한다. 최초의 전신 키는 알프레드 베일에 의해 발명되었으며, 이후 기술 발전을 통해 단식 전건, 복식 전건, 반자동 전건, 자동 전건 등으로 발전했다. 단식 전건은 손잡이를 위아래로 움직여 모스 부호를 송신하는 기본형이며, 복식 전건은 레버를 좌우로 움직여, 반자동 전건은 기계적 장치를 이용하여 점을 자동으로 송신한다. 자동 전건은 전자 회로를 이용하여 점과 획을 자동으로 송신하며, 두 개의 패들을 사용하여 효율적인 부호 생성이 가능하다. 전신 키는 통신 속도와 사용자 편의성에 영향을 미치며, 초기에는 반복성 긴장 손상과 같은 문제점이 있었으나, 기술 발전을 통해 개선되었다. 전신 키 사용은 조작적 조건 형성 연구에도 활용되었으며, 통신사마다 고유한 송신 스타일인 "피스트"를 갖는 특징이 있다.

2. 종류

전건은 크게 단식 전건, 복식 전건, 반자동 전건, 자동 전건으로 나눌 수 있다.


  • 단식 전건(Straight Key): 가장 기본적인 형태로, 손잡이를 위아래로 눌러 모스 부호를 만든다.
  • 복식 전건(Sideswiper): 손잡이를 좌우로 움직여 모스 부호를 만든다. 반복성 긴장 손상 위험을 줄일 수 있다.
  • 반자동 전건(Semi-automatic Key): 기계 장치를 이용해 점(·)을 자동으로 만들어, 더 빠른 통신이 가능하다. 바이브로플렉스(Vibroplex) 사의 제품이 유명하다.
  • 자동 전건(Electronic Keyer): 전자 회로를 이용해 점(·)과 획(-)을 자동으로 만든다. 싱글 패들 키와 더블 패들 키("이앰빅" 키 또는 "스퀴즈" 키) 두 종류가 있다. 대부분의 전자식 키어에는 'dit 및 dah 메모리' 기능이 포함되어 있어, 사용자는 'dit'과 'dah' 또는 그 반대 사이에 완벽한 간격을 사용할 필요가 없다.


전자식 키어와 함께 사용되는 상용 이앰빅 패들 키. 'dit'과 'dah'의 순서는 사용자가 결정하지만, 타이밍은 패들 키가 연결된 별도의 키어에 의해 제어된다.


thumb

2. 1. 단식 전건 (Straight Key)

"수직 진동 전건" 또는 "벼락벌레"라고도 불리며, 영어로는 "스트레이트 키(Straight key)" 또는 "싱글 키(Single key)"라고 한다.[4] 전신 키의 기본형으로, 손잡이를 위아래로 움직여 모스 부호를 송신한다. 구조가 간단하고 신뢰성이 높으며, 통신 속도를 자유롭게 조절할 수 있다는 장점이 있다. 하지만 단점·장점 타이밍을 모두 수동으로 조작해야 하므로, 정확한 부호 송신을 위해서는 상당한 훈련이 필요하다.[4]

전송 속도는 초보자의 경우 분당 5단어(25문자)에서 숙련된 운영자의 경우 분당 약 30단어(150문자)까지 다양하다. 전신 초기에는 많은 전문 전신기사들이 "유리팔(유리팔)" 또는 "전신기사 마비(telegraphers’ paralysis)"로 알려진 반복성 긴장 손상을 겪었다.[5]

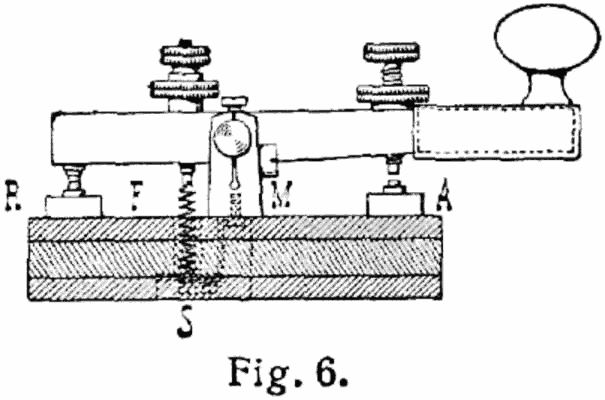
; 동작 원리와 구조

구조도의 일례. 이 그림에서는 스프링이 손잡이와 반대쪽에 있으며, 코일 스프링이 되어 있다.


오래된 역사적인 전신 키. 동작 원리도·구조도와 참조하기 쉽다.

2. 2. 복식 전건 (Sideswipers)

횡진동 전건은 판 모양의 손잡이(레버)를 좌우로 움직여 모스 부호를 송신하며, 단식 전건의 기구를 옆으로 눕힌 구조이다.[3] 좌우로 움직이는 방식은 반복성 긴장성 손상의 위험을 줄여준다. 거의 모든 고급 키에는 이러한 좌우 운동 방식이 사용된다.

2. 3. 반자동 전건 (Semi-automatic Key)

"벅키(Bug key)"라고도 불리는 반자동 전건은 추의 진동과 같은 기계적 장치를 이용하여 점(·)을 자동으로 송신한다. 레버를 오른쪽으로 누르면 점(·)이 자동 송신되고, 왼쪽으로 누르면 수동으로 단속하여 획(-)을 만들기 때문에, 사용자는 획을 수동으로 조작해야 한다. 과거에는 빠른 속도로 전신을 보낼 수 있다는 장점 때문에 업무용으로 널리 사용되었다.[3] 바이브로플렉스(Vibroplex)는 세계 최초로 반자동 전건을 개발한 회사로 1904년에 관련 특허를 취득하였다.

2. 4. 자동 전건 (Electronic Keyers and Paddle Keys)

전자 회로를 이용하여 점(·)과 획(-)을 자동으로 송신하는 전신 키이다. 조작에는 두 개의 접점을 가진 전용 패들(매니퓰레이터)을 사용한다. '''전자식 키'''라고도 불리며, "일렉키"라고 줄여 부르기도 하지만, 이는 캇스미 전기(2011년 폐업)의 등록상표였다.[10][11]

20세기 중반부터 "키어"라고 불리는 전자 장치가 개발되었다. 키어는 전신 키 대신 송신기에 부착되는 독립적인 장치이거나, 현대 아마추어 무선기기에 통합된 회로일 수 있다.

thumb

전자식 키의 키트(제작 완료. 미국 Jackson Harbor Press사의 PK-4)


통신사는 패들 키를 탭하여 레버를 좌우로 움직여 전자식 키어를 작동하는데, 이는 반자동 키와 유사하다. 한쪽(보통 왼쪽)으로 누르면 키어 전자 장치가 일련의 'dah'를 생성하고, 다른 쪽(보통 오른쪽)으로 누르면 일련의 'dit'을 생성한다. 키어는 싱글 패들 키와 더블 패들 키, 두 가지 유형의 키와 함께 작동한다.

  • 싱글 패들 키: 기본적으로 원래의 사이드스와이퍼 키와 동일하며, 왼쪽과 오른쪽 전기 접점이 개별적으로 배선된다.
  • 더블 패들 키: "이앰빅" 키 또는 "스퀴즈" 키라고도 한다. 두 접점 각각에 대해 하나의 암을 가지고 있으며, 각 암은 스프링에 의해 공통 중심에서 떨어져 있다. 두 패들을 함께 누르면 이중 접점이 생성되어 키어가 번갈아 'dit'과 'dah'(또는 'dah'와 'dit', 어떤 레버가 먼저 접촉하느냐에 따라 다름)를 보내게 된다.


대부분의 전자식 키어에는 'dit 및 dah 메모리' 기능이 포함되어 있어, 사용자는 'dit'과 'dah' 또는 그 반대 사이에 완벽한 간격을 사용할 필요가 없다. 전자식 키어는 매우 빠른 속도로 코드를 전송할 수 있다는 장점이 있다.

반자동 키와 비교했을 때, 전자식 키어는 손잡이를 돌리기만 하면 코드 속도를 쉽게 변경할 수 있다는 추가적인 장점이 있다.

자동 전건을 사용하려면 전자식 키어(electric keyer) 기능을 가진 회로가 필요하다. 최근 제조사에서 만든 무선기 중 CW(전신) 모드를 송수신할 수 있는 기종에서는 전자식 키어 회로가 내장되어 있는 것이 일반적이다.

전자식 키어는 최소한의 기능으로 점과 선을 출력할 수 있어야 하며, 타건 속도를 빠르거나 느리게 조절할 수 있는 기능도 거의 필수라고 할 수 있다.

3. 역사

전신기의 역사는 모스 부호의 탄생과 밀접하게 관련되어 있다. 1844년 미국 워싱턴과 볼티모어 간 최초의 전신 시연이 있었지만, 그 몇 주 전에는 모스의 조수인 앨프리드 베일(Alfred Vail)이 간단한 스위치(개폐기)를 사용하고 있었다. 베일이 남긴 기록에 따르면, 그 개폐기는 문의 개폐와 같은 기구로 작동하는 것이었고, 나무판과 황동판을 용수철처럼 결합한 것이었다. 베일은 그 장치를 "Correspondent(코레스폰던트)"라고 불렀고, 한동안 그 명칭이 사용되었다. 이 장치는 1844년 최초의 시연에 사용되었지만, 그 시연으로부터 6개월도 되지 않아 베일은 레버와 받침점을 사용하는 새로운 형태의 전신기를 개발했다.(이와 동일한 방식이 현대에도 사용되고 있다.)[13]

4. 한국의 전신 키

유선 전신 시대부터 사용되어 온 장치로, 이후 무선에서도 사용되게 되었다. 모스 부호로 통신을 하려면 모스 부호를 수신(해독)하는 기술뿐만 아니라, 전신기(電鍵)를 조작하여 정확한 부호를 송신하는 기술이 필요하다.

현재, 종합무선통신사 및 국내전신급 육상특수무선기사의 국가시험 전기통신술에서는 응시자가 지참한 전신기(電鍵)를 사용할 수 있다.

아마추어 무선사들 사이에서 다양한 종류의 전신 키가 사용되고 있으며, 직접 제작하는 경우도 있다.[1]

제2차 세계 대전 당시 미국군에서 사용된 "J38". "스트레이트 키"라고 불리는 스타일. 다른 세 가지와 달리 노브 부분이 아래쪽에 있지만, 노브를 집는 것이 아니라 손가락의 배로 두드리는 방식이기 때문.

5. 전신 키 사용과 관련된 문제점

직선 키는 간단하고 신뢰할 수 있지만, 빠른 속도로 점(dit)을 보내기 위한 펌핑 동작은 의학적으로 중요한 단점을 가진다. 전송 속도는 초보자의 경우 분당 5단어(25문자), 숙련된 운영자의 경우 분당 약 30단어(150문자)까지 다양하다. 전신 초기에 많은 전문 전신기사들은 "유리팔" 또는 "전신기사 마비"로 알려진 반복성 긴장 손상을 겪었다.[5] "유리팔"은 직선 키의 측면 플레이를 높이거나 조절 가능한 트러니언 나사를 풀어서 줄이거나 없앨 수 있다. 이러한 문제는 좋은 수동 기술을 사용하거나 측면 키 유형만 사용하여 방지할 수 있다.[6][7][8]

6. 기타

전신 키와 비슷한 장치는 전기 회로 실험에서 전류 흐름을 제어하는 데 사용되기도 했다. 이러한 키는 주로 간단한 "스트랩(strap)" 키였으며, 키 레버가 굽혀지면서 스프링 역할을 했다.

조작적 조건 형성 연구에서도 전신 키와 비슷한 장치가 사용되었다. 1940년대부터 하버드 대학교B. F. 스키너비둘기를 대상으로 한 실험에서 이 장치를 활용했다. 이 키는 조작적 조건 형성 상자 앞면 벽의 작은 구멍 뒤에 비둘기 부리 높이로 설치되었다. 비둘기가 키를 쪼면 전기 기계식 기록 장비가 이를 감지했고, 실험 조건에 따라 음식 등의 자극이 주어졌다.[1]

모든 통신사는 메시지를 보낼 때 자신만의 고유한 스타일(리듬 패턴)을 가지는데, 이를 ''"피스트(fist)"''라고 한다. 숙련된 통신사는 ''"피스트"''를 통해 누가 특정 메시지를 보냈는지 식별할 수 있다. 이는 제1차 및 제2차 세계 대전 동안 개별 선박과 잠수함을 추적하고 교통량 분석을 수행하는 데 매우 중요했다.[2]

하지만 전자 키어(단일 패들 또는 이중 패들)를 사용하면서 이러한 특징은 약해졌다. 전자 키어는 설정된 속도로 균일한 코드를 생성하여 통신사 고유의 ''"피스트"''를 구분하기 어렵게 만들기 때문이다.[3]

참조

[1] 웹사이트 Telegraph Key https://www.si.edu/o[...] Smithsonian Institution 2024-12-15
[2] 서적 Principles of Modern Communications Technology https://books.google[...] Artech House 2024-12-16
[3] 웹사이트 CW Mode https://www.arrl.org[...] The National Association for Amateur Radio 2024-12-15
[4] 서적 Elements of Telegraph Operating https://books.google[...] International Correspondence Schools 2024-12-15
[5] 서적 Explorations in the History and Heritage of Machines and Mechanisms: Dynamic Analysis of a Semiautomatic Telegraph Key https://books.google[...] Springer Nature 2024-12-15
[6] Youtube How to operate a straight key https://www.youtube.[...]
[7] Youtube Technique of hand sending (1944) https://www.youtube.[...]
[8] Youtube Straight key hand sending technique approved by professionals https://www.youtube.[...]
[9] Youtube How to properly adjust and use a Vibroplex bug https://www.youtube.[...] 2021-12-12
[10] 블로그 Arduino CW keyer http://blog.radioart[...] 2024-10-27
[11] Youtube How to use an iambic keyer https://www.youtube.[...]
[12] 웹사이트 Iambic keying – debunking the myth http://www.morsex.co[...] 2022-11-09
[13] 웹사이트 Morse Key Development & History https://www.electron[...]



본 사이트는 AI가 위키백과와 뉴스 기사,정부 간행물,학술 논문등을 바탕으로 정보를 가공하여 제공하는 백과사전형 서비스입니다.
모든 문서는 AI에 의해 자동 생성되며, CC BY-SA 4.0 라이선스에 따라 이용할 수 있습니다.
하지만, 위키백과나 뉴스 기사 자체에 오류, 부정확한 정보, 또는 가짜 뉴스가 포함될 수 있으며, AI는 이러한 내용을 완벽하게 걸러내지 못할 수 있습니다.
따라서 제공되는 정보에 일부 오류나 편향이 있을 수 있으므로, 중요한 정보는 반드시 다른 출처를 통해 교차 검증하시기 바랍니다.

문의하기 : help@durumis.com