피조 실험
"오늘의AI위키"의 AI를 통해 더욱 풍부하고 폭넓은 지식 경험을 누리세요.
1. 개요
피조 실험은 빛이 움직이는 물 속에서 어떻게 전파되는지 관찰하기 위해 1851년 아르망 이폴리트 루이 피조가 수행한 실험이다. 이 실험은 빛의 속도가 물의 속도에 영향을 받지만, 단순히 더해지는 것이 아니라 프레넬의 끌림 계수에 의해 결정된다는 것을 보여주었다. 피조 실험은 에테르 이론과 일치하지 않아 논쟁을 불러일으켰고, 마이컬슨-몰리 실험과 함께 특수 상대성 이론의 발전에 영향을 미쳤다.
피조 실험은 빛이 흐르는 물속에서 어떻게 전파되는지 알아보기 위해 설계되었다. 1851년에 수행된 이 실험은 빛의 속도 변화를 정밀하게 측정하기 위해 고안되었다.
2. 실험의 설정
실험 장치는 광원에서 나온 빛을 빔 스플리터를 이용해 두 갈래로 나누었다. 나누어진 빛은 각각 반대 방향으로 흐르는 물줄기를 통과한 후 다시 합쳐져 간섭무늬를 만들었다. 이 간섭무늬의 변화를 관찰하면 빛의 속도가 어떻게 달라지는지 알 수 있었다.
초기 실험에서는 단색광을 사용했지만, 이후 앨버트 마이컬슨과 에드워드 몰리는 공통 경로 간섭계를 사용하여 백색광으로도 실험이 가능하도록 개선했다.
2. 1. 피조의 실험 장치
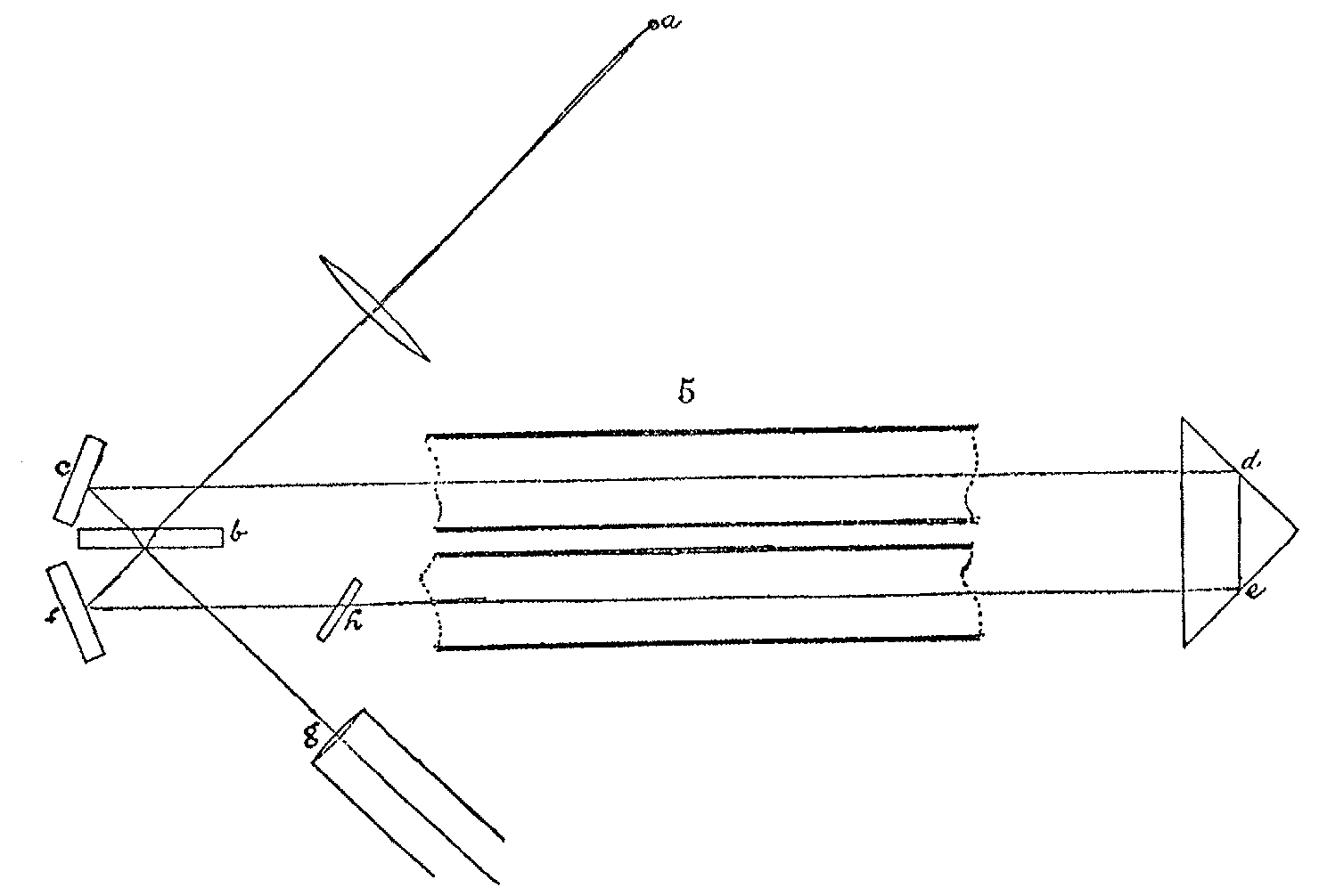
피조의 1851년 실험은 그림 2와 같이 매우 단순하게 표현할 수 있다. 입사된 빛은 빔 스플리터(BS)에 의해 두 개의 빔으로 나뉘고, 이 빔은 반대 방향으로 흐르는 두 개의 물 기둥을 통과한다. 그 후 두 빔은 다시 결합하여 관찰자가 해석할 수 있는 간섭 패턴을 형성한다.[70][90]
그림 2의 단순화된 배열에서는 희미한 간섭무늬만 가능한 단색 조명을 사용해야 했을 것이다. 백색광은 간섭 길이가 짧기 때문에, 백색광을 사용하려면 광학 경로를 비현실적인 정밀도로 일치시켜야 했으며, 장치는 진동, 동작 이동 및 온도 효과에 극도로 민감했을 것이다.
반면, 그림 3과 그림 4에 나타난 피조의 실제 장비는 공통 경로 간섭계로 설정되었다. 이 덕분에 반대쪽 빔이 동일한 경로를 통과하여, 태양을 광원으로 사용해도 줄무늬가 쉽게 형성된다.
광원 ''S′''에서 나온 광선은 빔 분할기 ''G''에 의해 반사되고 렌즈 ''L''에 의해 콜리메이트되어 평행 광선이 된다. 슬릿 ''O''1과 ''O''2를 통과한 두 광선은 관 ''A''1과 ''A''2를 통과하는데, 각 관 안에는 화살표 방향으로 물이 흐르고 있다. 두 광선은 렌즈 ''L′''의 초점에 놓인 거울 ''m''에서 반사된다. 따라서 한쪽 광선은 관을 통과할 때 항상 물의 흐름과 같은 방향으로 전파되고, 다른 쪽 광선은 항상 물의 흐름과 반대 방향으로 전파된다. 관 안을 왕복한 두 광선은 ''S''에서 다시 합쳐진다. 여기서 만들어진 간섭 무늬는 접안렌즈로 관찰할 수 있다. 간섭 무늬 분석을 통해 물의 흐름에 따른 광선과 역행하는 광선의 속도 차이를 측정할 수 있다.
2. 2. 마이컬슨과 몰리의 개선된 실험 장치
앨버트 마이컬슨과 에드워드 몰리(1886)[73]는 피조의 원래 실험에 대한 몇 가지 우려 사항을 해결하면서 향상된 정확도로 피조의 실험을 반복했다. 마이컬슨과 몰리가 제기한 우려 사항은 다음과 같다.
우려 사항 |
---|
피조의 장치에서 광학 부품의 변형에 의해 인위적인 간섭무늬의 이동이 발생할 수 있다. |
가압된 물의 흐름이 짧은 시간 동안만 지속되었기 때문에 관찰이 급히 이뤄졌다. |
피조의 작은 직경 튜브를 통해 흐르는 물의 층류 프로파일은 중앙 부분만 사용할 수 있어 간섭무늬가 희미하게 된다. |
피조의 튜브 직경에 걸친 유속 결정에는 불확실성이 있었다. |
프레넬은 프랑수아 아라고의 1810년 실험을 설명하기 위해 1818년에 끌림 계수(f)를 도입했다. 피조 실험 결과, 빛의 속도는 물의 속도에 단순히 더해지는 것이 아니라, 특정 비율만큼만 증가했다. 이 비율은 매질의 굴절률(n)에 의해 결정되는 끌림 계수(f)로 나타내며, 다음과 같이 주어진다.[65]
앨버트 마이컬슨과 에드워드 몰리는 1886년에 피조의 실험을 개선하여 반복했다.[73] 이들은 피조의 원래 실험에서 다음과 같은 문제점을 해결했다.
피조 실험의 결과는 당시의 에테르 이론과 완전히 일치하지 않아 논쟁을 불러일으켰다. 벨트만(Veltmann)은 프레넬의 부분 에테르 끌림 가설이 빛의 각 색깔에 대해 서로 다른 굴절률을 적용해야 하며, 이는 에테르가 빛의 각 주파수에 대해 다르게 움직여야 함을 의미한다고 지적했다. 마스카르(Mascart)는 복굴절 매질을 통과하는 편광된 빛이 지구의 움직임에 무관함을 보였고, 이는 프레넬의 공식이 복굴절 매질에 적용될 수 없음을 시사했다.[66]
마이컬슨은 직경이 더 큰 튜브와 3분 동안 물이 안정적으로 흐르도록 하는 큰 저수지로 피조의 장치를 재설계했다. 그의 '''공통 경로 간섭계''' 설계는 경로 길이의 자동 보정을 제공하여 광학 요소가 정렬되자마자 백색광 줄무늬를 한 번에 표시되도록 했다. 위상학적으로 빛의 경로는 각 빛의 경로에서 짝수의 반사를 갖는 사냐크 간섭계의 경로였다.[87] 이것은 광학 부품의 움직임에 전혀 영향을 받지 않는 극도로 안정적인 간섭무늬를 제공했다. 안정성은 '''''h'''''에 유리판을 삽입하거나 심지어 간섭무늬 시스템의 중심을 이동시키지 않고 빛의 경로에 불이 켜진 성냥을 들고 있어도 가능할 정도였다. 이 장치를 사용하여 마이컬슨과 몰리는 물뿐만 아니라 공기 중에서도 피조의 결과를 완전히 확인할 수 있었다.[73]
3. 프레넬의 끌림 계수
:
1895년, 헨드릭 로런츠는 분산 효과를 고려하여 프레넬의 끌림 계수를 다음과 같이 수정했다.[92]
:
여기서 λ는 빛의 파장이다. 매질이 관찰자를 향하거나 멀어지기 때문에 매질을 통해 이동하는 빛은 도플러 편이되므로, 공식에 사용된 굴절률은 도플러 편이된 파장에 적합한 것으로 사용해야 한다.[83] 제이만(Zeeman)은 1915년에 로런츠 분산 항의 존재를 확인했다.[75]
결과적으로, 프레넬의 끌림 계수는 특수 상대성 이론의 속도 덧셈 공식과 일치하는 것으로 밝혀졌다. 특수 상대론에서의 유도를 참조.
4. 실험의 반복과 검증
문제점 해결 방법 광학 부품의 변형으로 인한 인위적인 간섭무늬 이동 공통 경로 간섭계 설계를 통해 경로 길이 자동 보정 짧은 실험 시간 (가압된 물의 흐름 지속 시간 짧음) 직경이 더 큰 튜브와 큰 저수지를 사용하여 3분 동안 안정적인 물 흐름 유지 층류 프로파일로 인한 희미한 간섭무늬 (관 중앙 부분만 사용 가능) (위와 동일) 튜브 직경에 걸친 유속 결정의 불확실성 (위와 동일)
마이컬슨은 공통 경로 간섭계를 사용하여 광학 요소가 정렬되자마자 백색광 줄무늬가 바로 나타나도록 했다. 이 장치는 사냐크 간섭계와 유사한 경로를 가지며, 광학 부품의 움직임에 거의 영향을 받지 않는 매우 안정적인 간섭무늬를 제공했다. 마이컬슨과 몰리는 이 장치를 통해 물뿐만 아니라 공기 중에서도 피조의 결과를 완전히 확인할 수 있었다.[73]
1914-1915년에 피터르 제이만은 암스테르담의 주요 수도관에 직접 연결된 마이컬슨 장치의 확대 버전을 사용하여 실험을 수행했다. 그는 보라색(4358Å)에서 빨간색(6870Å)까지의 단색광을 사용하여 로렌츠의 수정된 끌림 계수를 검증했다.[74][75]
1910년에 프란츠 하레스는 회전 장치를 사용하여 실험을 수행했고, 데이터에서 "체계적인 경향"을 발견했는데, 이는 나중에 사냐크 효과로 밝혀졌다.
이후에도 링 레이저,[76][77][78][79] 중성자 간섭계[80][81][82] 등을 사용한 다양한 실험이 수행되었다.[94] 또한, 매질이 입사광의 방향에 대해 직각으로 움직일 때의 '가로 끌기 효과'도 관찰되었다.[83][84]
5. 논쟁과 해석
피조 자신도 프레넬 가설의 기계적 타당성에 의문을 제기하며, 실험 결과가 프레넬의 가설을 지지하는 강력한 증거일 수 있지만, 그 개념이 너무 특별하고 어렵기 때문에 추가적인 증명과 조사가 필요하다고 언급했다.
1887년 마이컬슨-몰리 실험은 에테르 이론에 대한 또 다른 문제를 제기했다. 이 실험은 에테르가 지구에 대해 정지해 있음을 보여주는 결과를 낳았는데, 이는 완전한 에테르 끌림을 지지하는 것처럼 보였다. 이는 광행차와 피조 실험 결과(부분적인 에테르 끌림)와 모순되는 것이었다.[88]
헨드릭 로런츠는 에테르 이론을 수정하여 피조 실험 결과를 설명하려 했다. 그는 에테르가 완전히 고정되어 있다고 가정하고, 움직이는 물과 에테르 사이의 상호작용으로 프레넬의 끌림 계수를 도출했다.[88][91] 또한 '국소 시간'이라는 개념을 도입하고, 피츠제럴드-로렌츠 수축 가설을 제안하여 마이컬슨-몰리 실험 결과를 설명하려 했다. 이러한 노력은 로런츠 변환으로 이어졌지만, 이는 임시방편적인 성격을 가졌다.[88][91]
알베르트 아인슈타인은 특수 상대성 이론을 통해 피조 실험 결과를 에테르 없이 설명할 수 있음을 보였다. 그는 이동하는 자석과 도체의 문제, 에테르 이동을 부정하는 실험, 광행차와 함께 피조 실험이 상대성 이론을 형성하는 데 중요한 역할을 했다고 언급했다.[89][67]
5. 1. 특수 상대성 이론에서의 유도
막스 폰 라우에는 프레넬의 끌림 계수가 특수 상대성 이론의 속도 덧셈 공식의 자연스러운 결과임을 증명했다.[68] 특수 상대성 이론에서, 정지한 물에서의 빛의 속도(''c/n'')와 물의 속도(''v'')를 합성하면 피조 실험에서 관찰된 빛의 속도가 유도된다.
1. 정지한 물에서 빛의 속도는 ''c/n''이다.
2. 속도 합성의 법칙으로부터 물이 속도 ''v'' (빛과 같은 방향으로)로 흐르는 실험실에서 관찰되는 빛의 속도는 다음과 같다.
:
3. 따라서 속도의 차이는,
:
:이는 ''v''/''c'' ≪ 1 일 때 정확하며, 이 조건을 만족하는 피조의 측정에 기반한 공식과 일치한다.
따라서 피조의 실험은 아인슈타인의 속도 추가 공식의 동일 선상 사례에 대한 증거를 뒷받침한다.[72]
참조
[1]
서적
Electromagnetic Fields and Interactions
https://books.google[...]
Courier Corporation
2023-03-09
[2]
서적
From Paradox to Reality: Our Basic Concepts of the Physical World
https://books.google[...]
Cambridge University Press
2023-03-09
[3]
서적
Introductory Special Relativity
https://books.google[...]
CRC Press
2023-03-09
[4]
서적
Physical Optics
https://archive.org/[...]
The Macmillan Company
[5]
서적
The universe of general relativity
Birkhäuser
2012-04-17
[6]
간행물
Einstein's Investigations of Galilean Covariant Electrodynamics prior to 1905
http://philsci-archi[...]
[7]
서적
It's about time: understanding Einstein's relativity
https://archive.org/[...]
Princeton University Press
[8]
간행물
Sagnac effect: A century of Earth-rotated interferometers
[9]
서적
Einstein's Space-Time: An Introduction to Special and General Relativity
Springer
[10]
서적
Basics of Interferometry, 2nd edition
Elsevier
[11]
간행물
Going Critical
Springer
[12]
간행물
Fizeau's "aether-drag" experiment in the undergraduate laboratory
[13]
서적
Traité d'optique
https://archive.org/[...]
Gauthier-Villars
2015-08-09
[14]
서적
Albert Einstein's special theory of relativity. Emergence (1905) and early interpretation (1905–1911)
https://archive.org/[...]
Addison–Wesley
[15]
서적
Theory of Relativity
Dover
[16]
간행물
Conversations with Albert Einstein
[17]
간행물
Ring-laser tests of fundamental physics and geophysics
[18]
간행물
Sur les hypothèses relatives à l'éther lumineux
http://gallica.bnf.f[...]
[19]
간행물
Sur les hypothèses relatives à l'éther lumineux
http://gallica.bnf.f[...]
[20]
간행물
Determination de la vitesse avec laquelle est entrainée une onde lumineuse traversant un milieu en mouvement
[21]
간행물
Die Mitführung des Lichtes durch bewegte Körper nach dem Relativitätsprinzip
https://zenodo.org/r[...]
[22]
간행물
Influence of Motion of the Medium on the Velocity of Light
https://zenodo.org/r[...]
[23]
간행물
Fresnel's coefficient for light of different colours. (First part)
https://archive.org/[...]
[24]
간행물
Fresnel's coefficient for light of different colours. (Second part)
https://archive.org/[...]
[25]
간행물
Measurement of Fresnel Drag with the Ring Laser
[26]
간행물
Fresnel Drag in a Ring Laser: Measurement of the Dispersive Term
[27]
간행물
Light drag in a ring laser – An improved determination of the drag coefficient
[28]
간행물
Measurement of Fresnel drag in moving media using a ring-resonator technique
[29]
간행물
Neutron Propagation in Moving Matter: The Fizeau Experiment with Massive Particles
[30]
간행물
Interferometric measurement of neutron Fizeau effect
[31]
간행물
Observation of a motion-induced phase shift of neutron de Broglie waves passing through matter near a nuclear resonance
[32]
간행물
'Fresnel Aether Drag' in a Transversely Moving Medium
[33]
간행물
"Aether Drag" in a Transversely Moving Medium
[34]
서적
Physical Optics
https://books.google[...]
The Macmillan Company
[35]
서적
The universe of general relativity
https://books.google[...]
Birkhäuser
[36]
논문
Einstein's Investigations of Galilean Covariant Electrodynamics prior to 1905
http://philsci-archi[...]
[37]
서적
It's about time: understanding Einstein's relativity
https://books.google[...]
Princeton University Press
[38]
논문
Sagnac effect: A century of Earth-rotated interferometers
[39]
서적
Basics of Interferometry
Elsevier
2006-10-23
[40]
서적
Going Critical
Springer
2010-11-30
[41]
논문
Fizeau's "aether-drag" experiment in the undergraduate laboratory
[42]
서적
Traité d'optique
https://archive.org/[...]
Gauthier-Villars
1889
[43]
서적
Albert Einstein's special theory of relativity. Emergence (1905) and early interpretation (1905–1911)
Addison–Wesley
1981-06-01
[44]
서적
Theory of Relativity
Dover
1981-07-01
[45]
논문
Conversations with Albert Einstein
[46]
논문
Ring-laser tests of fundamental physics and geophysics
[47]
논문
Sur les hypothèses relatives à l'éther lumineux
http://gallica.bnf.f[...]
[48]
논문
Sur les hypothèses relatives à l'éther lumineux
http://gallica.bnf.f[...]
[49]
논문
Die Mitführung des Lichtes durch bewegte Körper nach dem Relativitätsprinzip
[50]
논문
Influence of Motion of the Medium on the Velocity of Light
[51]
논문
Fresnel's coefficient for light of different colours. (First part)
https://archive.org/[...]
[52]
논문
Fresnel's coefficient for light of different colours. (Second part)
https://archive.org/[...]
[53]
논문
Measurement of Fresnel Drag with the Ring Laser
[54]
논문
Fresnel Drag in a Ring Laser: Measurement of the Dispersive Term
[55]
논문
Light drag in a ring laser – An improved determination of the drag coefficient
[56]
논문
Measurement of Fresnel drag in moving media using a ring-resonator technique
[57]
논문
Neutron Propagation in Moving Matter: The Fizeau Experiment with Massive Particles
[58]
논문
Interferometric measurement of neutron Fizeau effect
[59]
논문
Observation of a motion-induced phase shift of neutron de Broglie waves passing through matter near a nuclear resonance
[60]
논문
'Fresnel Aether Drag' in a Transversely Moving Medium
[61]
논문
"Aether Drag" in a Transversely Moving Medium
[62]
서적
Electromagnetic Fields and Interactions
https://books.google[...]
1982-01-01
[63]
서적
From Paradox to Reality: Our Basic Concepts of the Physical World
https://books.google[...]
1989-08-25
[64]
서적
Introductory Special Relativity
https://books.google[...]
1992-01-06
[65]
서적
Physical Optics
https://archive.org/[...]
[66]
서적
The universe of general relativity
Birkhäuser
2012-04-17
[67]
인용
Einstein's Investigations of Galilean Covariant Electrodynamics prior to 1905
http://philsci-archi[...]
[68]
서적
It's about time: understanding Einstein's relativity
https://archive.org/[...]
[69]
저널
Sur les hypothèses relatives à l'éther lumineux
http://gallica.bnf.f[...]
[70]
저널
Sur les hypothèses relatives à l'éther lumineux
http://gallica.bnf.f[...]
[71]
저널
Determination de la vitesse avec laquelle est entrainée une onde lumineuse traversant un milieu en mouvement
[72]
인용
Die Mitführung des Lichtes durch bewegte Körper nach dem Relativitätsprinzip
[73]
저널
Influence of Motion of the Medium on the Velocity of Light
https://zenodo.org/r[...]
[74]
저널
Fresnel's coefficient for light of different colours. (First part)
https://archive.org/[...]
[75]
저널
Fresnel's coefficient for light of different colours. (Second part)
https://archive.org/[...]
[76]
저널
Measurement of Fresnel Drag with the Ring Laser
[77]
저널
Fresnel Drag in a Ring Laser: Measurement of the Dispersive Term
[78]
저널
Light drag in a ring laser – An improved determination of the drag coefficient
[79]
저널
Measurement of Fresnel drag in moving media using a ring-resonator technique
[80]
저널
Neutron Propagation in Moving Matter: The Fizeau Experiment with Massive Particles
[81]
저널
Interferometric measurement of neutron Fizeau effect
[82]
저널
Observation of a motion-induced phase shift of neutron de Broglie waves passing through matter near a nuclear resonance
[83]
저널
'Fresnel Aether Drag' in a Transversely Moving Medium
[84]
저널
"Aether Drag" in a Transversely Moving Medium
[85]
저널
Sagnac effect: A century of Earth-rotated interferometers
[86]
서적
Einstein's Space-Time: An Introduction to Special and General Relativity
Springer
[87]
서적
Basics of Interferometry, 2nd edition
Elsevier
[88]
인용
Going Critical
Springer
[89]
저널
Fizeau's "aether-drag" experiment in the undergraduate laboratory
[90]
서적
Traité d'optique
https://archive.org/[...]
Gauthier-Villars
1889
[91]
서적
Albert Einstein's special theory of relativity. Emergence (1905) and early interpretation (1905–1911)
https://archive.org/[...]
Addison–Wesley
[92]
서적
Theory of Relativity
Dover
[93]
저널
Conversations with Albert Einstein
[94]
저널
Ring-laser tests of fundamental physics and geophysics
본 사이트는 AI가 위키백과와 뉴스 기사,정부 간행물,학술 논문등을 바탕으로 정보를 가공하여 제공하는 백과사전형 서비스입니다.
모든 문서는 AI에 의해 자동 생성되며, CC BY-SA 4.0 라이선스에 따라 이용할 수 있습니다.
하지만, 위키백과나 뉴스 기사 자체에 오류, 부정확한 정보, 또는 가짜 뉴스가 포함될 수 있으며, AI는 이러한 내용을 완벽하게 걸러내지 못할 수 있습니다.
따라서 제공되는 정보에 일부 오류나 편향이 있을 수 있으므로, 중요한 정보는 반드시 다른 출처를 통해 교차 검증하시기 바랍니다.
문의하기 : help@durumis.com