탈진기
"오늘의AI위키"의 AI를 통해 더욱 풍부하고 폭넓은 지식 경험을 누리세요.
1. 개요
탈진기는 시계의 핵심 부품으로, 시간 측정 장치의 동력을 조절하고 진동을 제어하여 정확한 시간 측정을 가능하게 한다. 최초의 탈진기는 기원전 3세기에 비잔티움의 필론이 세면대의 일부로 설명한 액체 구동 탈진기였으며, 723년 당나라의 일행과 량릉찬이 물로 작동하는 시계식 탈진기를 개발했다. 이후 버지 탈진기가 개발되어 13세기 후반부터 19세기 중반까지 널리 사용되었으며, 1657년 앵커 탈진기가 개발되어 추 시계의 표준이 되었다. 19세기 말에는 전자 기계식 탈진기가 개발되었고, 20세기 들어서는 쿼츠 시계의 등장으로 탈진기 설계는 새로운 변화를 맞이했다. 탈진기의 종류에는 기계식, 전기 기계식, 그리고 현대적인 동축 탈진기 등이 있으며, 신뢰성과 정확성은 제작 기술과 유지보수에 달려 있다.
더 읽어볼만한 페이지
- 시계학 - 보시구
보시구는 시간 알림 방식에서 시작된 시각 신호 장치로, 전보 도입 시 해상 시계 표준화에 기여했으나 전파 시계 등장 후 쇠퇴하여 현재는 뉴욕 타임스 스퀘어 볼로 그 명맥을 잇고 있다. - 시계학 - 엘린바
엘린바는 온도 변화에 따른 탄성 변화가 적은 철-니켈-크롬 합금으로, 기계식 시계의 태엽 스프링 재료로 사용되어 시계 정확도 향상에 기여했으며, 엘린바 연구를 통해 샤를 에두아르 기욤은 노벨 물리학상을 수상했다. - 그리스의 발명품 - 민주주의
민주주의는 국민이 주권을 가지고 국민의 의사에 따라 정치 권력이 행사되는 정치 체제이며, 기본권 존중, 권력 분립, 다수결 원칙을 특징으로 하고 다양한 형태로 나타나며 최근 위협받는다는 우려가 제기된다. - 그리스의 발명품 - 피타고라스 정리
피타고라스 정리는 직각삼각형에서 직각변의 제곱의 합이 빗변의 제곱과 같다는 정리로, a² + b² = c²으로 표현되며, 한 변의 길이를 계산하는 데 사용되고, 여러 지역에서 알려졌으나 피타고라스 학파에 의해 체계화되었다고 전해진다. - 기계 동력 제어 - 원심 조속기
원심 조속기는 회전 속도에 따라 움직이는 추를 이용하여 기계의 속도를 제어하는 장치로, 추의 원심력을 이용해 스로틀 밸브를 조절하여 속도를 일정하게 유지하며 산업 혁명에 기여했고 현재에도 다양한 기계에서 사용된다. - 기계 동력 제어 - 자전거 사슬
자전거 체인은 페달 동력을 바퀴로 전달하는 부품으로, 롤러 체인 형태로 발전했으며, 높은 에너지 효율을 위해 유지보수가 중요하고, 변속 기어 방식에 따라 체인 길이를 조절해야 한다.
| 탈진기 | |
|---|---|
| 탈진기 개요 | |
![]() | |
| 유형 | 시계 장치 부품 |
| 상세 정보 | |
| 역할 | 시간 측정 장치에서 일정한 간격으로 에너지를 방출하는 메커니즘 |
| 작동 방식 | 진동자와 협력하여 진동의 빈도를 유지 |
| 사용 분야 | 기계식 시계 자명종 태엽 구동 장난감 |
| 핵심 부품 | 팔레트 포크 (pallet fork) 이스케이프 휠 (escape wheel) |
2. 역사
탈진기의 발명은 기술의 역사에서 중요한 발걸음이었는데, 이는 완전 기계식 시계를 가능하게 했기 때문이다.[1] 최초의 완전 기계식 탈진기인 버지 탈진기는 13세기 유럽에서 발명되었다. 이는 물시계의 물 흐름과 같은 연속적인 과정에서 추의 흔들림과 같은 진동하는 과정으로 시간 측정 방법을 전환할 수 있게 하여 더 정확한 시간 측정을 가능하게 했다.[3] 진동하는 시간 측정 장치는 모든 현대 시계의 제어 장치이다.[4][5][6]
최초의 기계식 탈진기인 버지 탈진기는 시계에 적용되기 수세기 전부터 alarumla이라 불리는 종을 울리는 장치에 사용되었다.[14] 일부 자료에서는 프랑스 건축가 빌라르 드 오네쿠르가 그의 노트에 있는, 태양을 따라 움직이는 천사상을 돌리기 위한 로프 연결 장치 그림을 인용하여 1237년 최초의 탈진기를 발명했다고 주장하지만, 이것이 탈진기가 아니라는 것이 일반적인 견해이다.[15][16][17][18][19][20][21]
1271년, 천문학자 로베르투스 앵글리쿠스는 시계 제작자들이 탈진기를 발명하려고 노력하고 있지만 아직 성공하지 못했다고 기록하였다.[22] 시계 제작을 위한 재정 거래 기록은 13세기 후반을 탑 시계 메커니즘이 물 시계에서 기계식 탈진기로 전환된 가장 가능성 높은 시기로 지적한다.[23][24] 대부분의 자료는 1300년까지 기계식 탈진기 시계가 존재했다는 데 동의한다.[25][26]
가장 오래된 탈진기에 대한 설명은 버지 탈진기가 아니라 "스트롭" 탈진기라는 변형된 형태였다. 월링퍼드의 리처드가 세인트 올번스 수도원에 건설한 시계에 대한 1327년 필사본 Tractatus Horologii Astronomicila에 기술된 이 탈진기는 같은 축에 서로 다른 방사형 이빨을 가진 한 쌍의 탈진 바퀴로 구성되었다. 버지봉은 그 사이에 매달려 있었고, 엇갈린 이빨이 지나가면서 한 방향으로, 그리고 다른 방향으로 회전하는 짧은 가로대가 있었다.[23] 다른 예는 알려져 있지 않지만, 이것이 최초의 시계 탈진기 설계였을 가능성이 있다.[23][27][28]
버지는 다른 모든 초기 시계와 손목시계에 사용되는 표준 탈진기가 되었으며, 400년 동안 유일하게 알려진 탈진기로 남아 있었다. 버지 탈진기의 성능은 마찰과 반동에 의해 제한되었지만, 가장 중요한 것은 버지 탈진기에 사용된 초기 평형 바퀴인 "폴리오트"에는 평형 스프링이 없었기 때문에 자연적인 "박자"가 없어 시간 측정 정확도가 심각하게 제한되었다.[1][14][29][23]
1657년 이후 진자의 발명과 평형 바퀴에 평형 스프링을 추가함으로써 탈진기의 정확도가 크게 향상되었다.[29][14][23] 이로써 시계와 손목시계 모두 조화 진동자가 되었다. 시간 측정 정확도의 향상으로 탈진기의 정확도에 대한 관심이 높아졌다. 기계식 시계 제작의 황금기라 할 수 있는 다음 두 세기 동안 300개가 넘는 탈진기 설계가 발명되었지만, 이 중 약 10개만 시계와 손목시계에 널리 사용되었다.[30]
1920년대에 발명된 결정 발진기와 석영 시계는 1930년대까지 가장 정확한 시계가 되었고, 시간 측정에 대한 기술 연구는 전자 방식으로 전환되었으며, 탈진기 설계는 시간 측정 정밀도 향상에 더 이상 역할을 하지 않게 되었다.
1658년 진자와 밸런스 스프링의 도입으로 정확한 시계가 가능해진 이후, 300가지가 넘는 다양한 기계식 탈진기가 고안된 것으로 추산되지만, 실제로 널리 사용된 것은 약 10가지에 불과하다.[35] 20세기에 전기식 시계 기술이 기계식 시계를 대체하면서 탈진기 설계는 거의 알려지지 않은 흥미로운 주제가 되었다.
19세기 후반, 진자 시계를 위한 전자기식 탈진기가 개발되었다. 이러한 탈진기에서, 스위치 또는 광전관이 진자의 스윙의 짧은 구간 동안 전자석에 에너지를 공급했다. 일부 시계에서는 진자를 작동시키는 전기 펄스가 기어 트레인을 움직이는 플런저도 작동시켰다.
2. 1. 고대와 중세의 탈진기
기술의 역사에서 탈진기의 발명은 완전 기계식 시계를 가능하게 했다는 점에서 중요한 발걸음이었다.[1] 최초의 완전 기계식 탈진기인 버지 탈진기는 13세기 유럽에서 발명되었다. 이는 물시계의 물 흐름과 같은 연속적인 과정에서 추의 흔들림과 같은 진동하는 과정으로 시간 측정 방법을 전환할 수 있게 하여 더 정확한 시간 측정을 가능하게 했다.[3] 진동하는 시간 측정 장치는 모든 현대 시계의 제어 장치이다.[4][5][6]최초의 액체 구동 탈진기는 기원전 3세기에 그리스의 기술자인 비잔티움의 필론이 그의 기술 논문 ''Pneumatics'' 31장에서 세면대의 일부로 설명했다.[7] 물통에서 공급되는 추걸이 달린 숟가락은 가득 차면 대야에 넘어지면서 둥근 부석 조각을 놓는다. 숟가락이 비워지면 추걸이에 의해 다시 위로 당겨져 팽팽해진 끈으로 부석 위에 있는 문을 닫는다. 필론의 "그 구조는 시계와 유사하다"라는 논평은 그러한 탈진기 메커니즘이 이미 고대 물시계에 통합되었음을 나타낸다.[7]
중국에서는 당나라의 불교 승려 일행과 관리 량릉찬이 723년(또는 725년)에 물로 작동하는 천구의와 시계 구동 장치 작동을 위해 탈진기를 만들었는데, 이는 세계 최초의 시계식 탈진기였다.[8][9] 송나라의 시계 기술자 장사순과 소송은 10세기에 그들의 천문시계탑에 탈진 장치를 적용했다.[10] 물이 회전축에 있는 용기에 흘러들어가는 방식이었다. 그러나 이 기술은 나중에 침체되고 퇴보했다. 역사학자 데릭 J. 드 솔라 프라이스에 따르면, 중국의 탈진기는 서쪽으로 퍼져 서구 탈진기 기술의 원천이 되었다.[11]
아마드 Y. 하산에 따르면, 1277년 알폰소 10세를 위한 스페인어 저술에 있는 수은 탈진기는 이전의 아랍어 자료까지 거슬러 올라갈 수 있다.[12] 이 수은 탈진기에 대한 지식은 아랍어와 스페인어 원고의 번역을 통해 유럽으로 퍼져나갔을 것이다.[12][13]
그러나 이것들은 모두 진정한 기계식 탈진기는 아니었다. 시간을 측정하기 위해 여전히 구멍을 통한 액체의 흐름에 의존했기 때문이다. 이러한 설계에서는 용기가 가득 찰 때마다 넘어져서 동일한 양의 물이 측정될 때마다 시계의 바퀴를 전진시켰다. 방출 사이의 시간은 모든 액체 시계와 마찬가지로 흐름 속도에 따라 달라졌으며, 온도와 점도 변화에 따라 다르고, 원천 용기의 액체 수위가 낮아짐에 따라 압력에 따라 감소한다. 기계식 시계의 개발은 일정하게 유지되는 진동하는 추에 의해 시계의 움직임을 제어할 수 있는 탈진기의 발명에 달려 있었다.
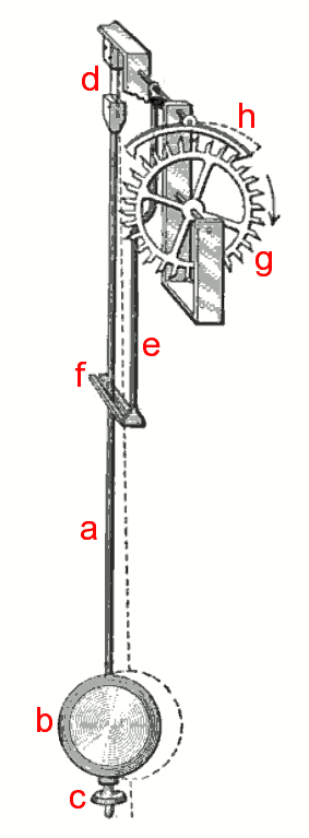
버지 탈진기(영: Verge escapement)는 1275년경 개발된 초기 기계식 시계에 사용된 탈진기로, 13세기 후반부터 19세기 중반까지 350년 동안 시계에 사용된 유일한 탈진기였다. 버지라는 이름은 '막대기' 또는 '막대'를 의미하는 라틴어 ''virga''에서 유래했다.[83]
버지 탈진기는 수평으로 배치된 축을 가진 톱니 모양의 이빨이 축 방향 앞으로 돌출된 간기차(간기차)와 이 간기차에 직각인 막대인 버지 로드(버지 로드)로 구성되어 있다. 버지 로드에는 간기차의 이빨과 맞물리는 두 개의 금속판인 팔레트(팔레트)가 있다. 팔레트는 평행하지 않고, 한 번에 하나의 이빨만을 잡도록 각도를 두고 배치되어 있다. 꼭대기에는 관성 진동자, 텐륜 또는 초기 시계에서는 양쪽 끝에 추를 단 수평의 봉인 포리오(포리오)가 장착되어 속도를 일정하게 유지한다.
요스트 뷔르기가 1584년에 크로스비트 탈진기를 발명했다. 이것은 두 개의 포일럿이 반대 방향으로 회전하는 버지 탈진기의 변형이었다.[84] 당시 기록에 따르면, 요스트 뷔르기의 시계는 하루에 1분 이내의 놀라운 정확도를 달성했는데, 이는 당시 다른 시계보다 두 자릿수나 뛰어났다. 그러나 이러한 정확도 향상은 아마도 탈진기 자체 때문이 아니라, 요스트 뷔르기 개인의 뛰어난 기술과 구동력의 변화로부터 탈진기를 분리하는 루몽투아르의 발명 때문이었던 것으로 여겨진다. 히게젠마이가 없었다면 정확도를 유지할 수 없었을 것이라고 알려져 있다.[84]

갈릴레오의 탈진기는 이탈리아의 과학자 갈릴레오 갈릴레이가 1637년경에 발명한 시계의 탈진기 설계도이다. 진자 시계의 가장 초기 설계이다. 당시 갈릴레오는 실명 상태였기 때문에, 이 장치를 아들에게 설명하고, 아들은 그 스케치를 그렸다. 아들은 시제품 제작에 착수했지만, 완성되기 전에 아들과 갈릴레오 모두 사망했다.
2. 2. 근대 탈진기의 발전
기술의 역사에서 중요한 발걸음이었던 탈진기의 발명은 완전 기계식 시계를 가능하게 했다.[1] 최초의 완전 기계식 탈진기인 버지 탈진기는 13세기 유럽에서 발명되었다. 이는 물시계의 물 흐름과 같은 연속적인 과정에서 추의 흔들림과 같은 진동하는 과정으로 시간 측정 방법을 전환하여 더 정확한 시간 측정을 가능하게 했다.[3] 진동하는 시간 측정 장치는 모든 현대 시계의 제어 장치이다.[4][5][6]최초의 기계식 탈진기인 버지 탈진기는 시계에 적용되기 수세기 전부터 alarumla이라 불리는 종을 울리는 장치에 사용되었다.[14] 일부 자료에서는 프랑스 건축가 빌라르 드 오네쿠르가 그의 노트에 있는, 태양을 따라 움직이는 천사상을 돌리기 위한 로프 연결 장치 그림을 인용하여 1237년 최초의 탈진기를 발명했다고 주장하지만,[15] 이것이 탈진기가 아니라는 것이 일반적인 견해이다.[16][17][18][19][20][21]
1271년, 천문학자 로베르투스 앵글리쿠스는 시계 제작자들이 탈진기를 발명하려고 노력하고 있지만 아직 성공하지 못했다고 기록하였다.[22] 시계 제작을 위한 재정 거래 기록은 13세기 후반을 탑 시계 메커니즘이 물 시계에서 기계식 탈진기로 전환된 가장 가능성 높은 시기로 지적한다.[23][24] 대부분의 자료는 1300년까지 기계식 탈진기 시계가 존재했다는 데 동의한다.[25][26]
하지만 가장 오래된 탈진기에 대한 설명은 버지 탈진기가 아니라 "스트롭" 탈진기라는 변형된 형태였다. 월링퍼드의 리처드가 세인트 올번스 수도원에 건설한 시계에 대한 1327년 필사본 Tractatus Horologii Astronomicila에 기술된 이 탈진기는 같은 축에 서로 다른 방사형 이빨을 가진 한 쌍의 탈진 바퀴로 구성되었다. 버지봉은 그 사이에 매달려 있었고, 엇갈린 이빨이 지나가면서 한 방향으로, 그리고 다른 방향으로 회전하는 짧은 가로대가 있었다.[23] 다른 예는 알려져 있지 않지만, 이것이 최초의 시계 탈진기 설계였을 가능성이 있다.[23][27][28]
버지는 다른 모든 초기 시계와 손목시계에 사용되는 표준 탈진기가 되었으며, 400년 동안 유일하게 알려진 탈진기로 남아 있었다. 버지 탈진기의 성능은 마찰과 반동에 의해 제한되었지만, 가장 중요한 것은 버지 탈진기에 사용된 초기 평형 바퀴인 "폴리오트"에는 평형 스프링이 없었기 때문에 자연적인 "박자"가 없어 시간 측정 정확도가 심각하게 제한되었다.[1][14][29][23]
1657년 이후 진자의 발명과 평형 바퀴에 평형 스프링을 추가함으로써 탈진기의 정확도가 크게 향상되었다.[29][14][23] 이로써 시계와 손목시계 모두 조화 진동자가 되었다. 시간 측정 정확도의 향상으로 탈진기의 정확도에 대한 관심이 높아졌다. 기계식 시계 제작의 황금기라 할 수 있는 다음 두 세기 동안 300개가 넘는 탈진기 설계가 발명되었지만, 이 중 약 10개만 시계와 손목시계에 널리 사용되었다.[30]
1920년대에 발명된 결정 발진기와 석영 시계는 1930년대까지 가장 정확한 시계가 되었고, 시간 측정에 대한 기술 연구는 전자 방식으로 전환되었으며, 탈진기 설계는 시간 측정 정밀도 향상에 더 이상 역할을 하지 않게 되었다.
1658년 진자와 밸런스 스프링의 도입으로 정확한 시계가 가능해진 이후, 300가지가 넘는 다양한 기계식 탈진기가 고안된 것으로 추산되지만, 실제로 널리 사용된 것은 약 10가지에 불과하다.[35] 20세기에 전기식 시계 기술이 기계식 시계를 대체하면서 탈진기 설계는 거의 알려지지 않은 흥미로운 주제가 되었다.


1657년경 로버트 훅(Robert Hooke)에 의해 발명된 앵커 탈진기는 곧 버지 탈진기를 대체하여 19세기까지 추 시계에 사용되는 표준적인 탈진기가 되었다. 앵커 탈진기의 장점은 추의 진폭을 3~6°로 좁혀 추를 거의 등시성으로 만들고, 더 길고 더 느리게 움직이는 추의 사용을 가능하게 하여 더 적은 에너지로 작동하도록 한 것이다. 이 앵커는 대부분의 추 시계가 가늘고 긴 형태를 하고 있는 원인이며, 또한 앵커 시계로서 처음 시판된 그랜드파더 클락(Grandfather Clock)이 개발된 원인이기도 하다. 탈진기는 추 시계의 정확도를 향상시켰고, 1600년대 후반에는 시계의 문자판에 분침이 추가되었다(그 이전에는 시침만 있었다).
데드비트 탈진기 또는 그레이엄 탈진기라고 불리며, 1675년 토마스 톰피온(Thomas Tompion)이 리처드 타운리(Richard Towneley)의 설계를 기반으로 제작한 앵커 탈진기를 개량한 것이다.[85][86] 톰피온의 후계자인 조지 그레이엄(George Graham)이 1715년에 널리 보급시켰다고 여겨지기 때문에 그레이엄 탈진기라는 별칭이 있다. 앵커 탈진기에서는 추의 진동에 의해, 그 주기의 일부에서 톱니바퀴가 원래의 회전 방향과 반대로 밀린다. 이러한 “반동”은 추의 움직임을 방해하여 부정확성의 원인이 되고, 기어열의 회전 방향을 반대로 하기 때문에 백래시를 일으켜 시스템에 과부하를 주고, 마찰과 마모의 원인이 되었다. 데드비트 탈진기의 주된 장점은 반동을 없앤 것이었다.[87]
1741년경 루이 아망(Louis Aman)이 발명한 이 탈진기는 매우 견고하게 제작되었다. 톱니를 사용하지 않고, 앵커 휠에는 둥근 핀이 있으며, 가위 모양의 앵커(팔레트)로 정지시키거나 해제시킨다. 이 탈진기는 아망 탈진기 또는 독일에서는 만하르트 탈진기라고도 불리며, 탑 시계에 자주 사용된다.
데텐트 탈진기 또는 크로노미터 탈진기라고 불리는 이 탈진기는 템프 탈진기 중에서 가장 정확하다고 여겨지며, 해상 크로노미터에만 채용된 것이 아니라 18~19세기의 정밀 시계에도 채용되었다. 초기 형태는 1748년에 피에르 르 로아(Pierre Le Roy)에 의해 발명된 것으로, 이론적으로는 결함이 있었지만, 회전 데텐트 방식의 탈진기를 만들어냈다.[88][89] 1775년경 존 아널드(John Arnold)에 의해 개량된 데텐트 탈진기는 1780년에 토마스 아른쇼(Thomas Earnshaw)에 의해 더욱 개량되었고, 1783년에 라이트(아른쇼는 라이트 밑에서 일했다)에 의해 특허를 취득했다. 아널드 또한 스프링 데텐트 탈진기를 설계했지만, 18세기 마지막 10년 동안 기본적인 아이디어에 여러 차례 개량이 가해져 최종적으로는 아른쇼의 것이 채용되었다. 최종적인 형태는 1800년경에 완성되었고, 이 디자인은 1970년대에 기계식 크로노미터가 사라질 때까지 사용되었다.
1695년 토머스 톰피언(Thomas Tompion)이 발명한 수평탈진기 또는 실린더 탈진기(シリンダー脱進機)라 불리는 것으로,[90] 1726년 조지 그레이엄(George Graham)에 의해 완성되었다.[91] 1700년 이후, 휴대용 시계에 버지 탈진기(バージ脱進機)를 대체하여 사용되기 시작한 탈진기 중 하나이다. 이 탈진기의 큰 장점은 버지 탈진기보다 훨씬 얇아서, 세련되고 슬림한 시계를 만들 수 있었다는 점이다. 시계 장인들은 이 탈진기가 과도하게 마모되는 것을 알아차렸고, 18세기에는 마모에 강한 루비 소재의 실린더를 장착한 일부 고급 시계를 제외하고는 거의 사용되지 않게 되었다. 프랑스에서는 실린더와 앵커를 경화강으로 만듦으로써 이 문제를 해결했고,[90] 이 탈진기는 19세기 중반부터 20세기에 걸쳐 프랑스와 스위스의 저렴한 휴대용 시계와 소형 시계에 대량으로 사용되었다.

듀플렉스 탈진기는 1700년경 로버트 훅(Robert Hooke)이 발명하고, 장 바티스트 뒤테르(Jean-Baptiste Dutertre)와 피에르 르 로와(Pierre Le Roy)가 개량하여 1782년 토마스 테일러(Thomas Tyrer)가 특허를 취득했다.[92] 초기 형태에는 두 개의 탈진기 톱니바퀴가 있었다. 듀플렉스 탈진기는 제작이 어려웠지만, 실린더 탈진기보다 훨씬 높은 정확도를 달성했고, 초기 레버 탈진기와 동등한 정확도를 얻을 수 있었다.[92] 따라서 1790년경부터 1860년경까지 영국산 고급 회중시계에 사용되었다.[93][94][95] 그리고 1880년부터 1898년까지 미국의 저렴한 에브리맨즈 워치(Everyman's Watch), 워터베리(Waterbury)에 채용되었다.[96]
듀플렉스 탈진기는 크로노미터 탈진기와 유사하게, 템프는 그 주기에서 두 번의 진동 중 한 번의 진동 동안만 충격을 받는다.[97] 듀플렉스 탈진기는 엄밀히 말하면 마찰 없는 탈진기이며, 톱니가 롤러에 접촉함으로써 템프가 진동할 때 마찰이 발생한다.[98] 따라서 크로노미터와 마찬가지로 마찰이 적고 윤활유가 거의 필요하지 않다. 그러나 부품의 허용 오차가 엄격하고 충격에 약하기 때문에, 활동적인 사람에게는 적합하지 않았다. 크로노미터와 마찬가지로 갑작스러운 충격으로 템프가 멈추었을 때 자동으로 복귀하지 않는다.
1750년 토마스 매지(Thomas Mudge)가 발명한 레버 탈진기는 19세기 이후 대부분의 시계에 채용되었다. 실린더 탈진기나 듀플렉스 탈진기와는 달리, 템프가 레버에 접촉하는 것은 템프가 중심 위치를 통과하는 짧은 충격 시간일 뿐이며, 나머지 사이클은 자유롭게 회전하기 때문에 정확도가 향상되었다. 원형은 랙 레버 탈진기로, 레버와 템프는 레버 위의 톱니 랙을 통해 항상 접촉하고 있었다. 그 후, 톱니의 이빨을 하나를 제외하고 모두 제거할 수 있다는 것을 알게 되어, 디태치드 레버 탈진기가 탄생했다. 영국의 시계 제작자는 레버가 템프와 직각으로 배치된 영국식 디태치드 레버를 사용했다. 그 후, 스위스와 미국의 시계 제작자는 템프와 앵커 사이에 레버를 직렬로 배치한 인라인 레버를 채용했다. 1867년, 조르주 프레데릭 로코프(Georges Frédéric Roskopf)가 로스코프 탈진기 또는 핀 팔레트 탈진기라고 불리는 저렴하고 정확도가 낮은 탈진기를 발명하여, 20세기 초 저렴한 "1달러 시계"에 사용되었고, 현재도 저렴한 알람 시계나 키친 타이머에 사용되고 있다.
1722년 존 해리슨(John Harrison)이 발명한 추시계용 저마찰 탈진기이다. 널리 사용되지는 않았다.

이중삼각중력탈진기(Gravity escapement)는 작은 추 또는 약한 용수철을 사용하여 진자에 직접 충격을 가해 작동한다. 런던의 빅벤과 케임브리지 대학교의 트리니티 칼리지 시계탑에 사용되고 있다. 시계탑은 옥외에 노출되어 있기 때문에 큰 시침에 바람, 눈, 얼음 등의 부하가 걸리고 구동력의 큰 변동에 노출된다. 따라서 이중삼각중력탈진기는 구동력 자체가 진자를 추진하는 것이 아니라, 단순히 추진력을 제공하는 추를 재설정할 뿐이므로, 탈진기는 외부의 영향을 받지 않는다.
원래는 브록섬이라는 변호사가 고안한 것을 건축가 에드먼드 베켓과 초대 그림소프 남작이 개량했다고 알려져 있다.
2. 3. 현대의 탈진기
조지 다니엘스가 1974년경에 발명하고[66] 1980년에 특허를 받은[67] 동축 이스케이프먼트는 현대 시계에서 상업적으로 채택된 몇 안 되는 새로운 시계 이스케이프먼트 중 하나이다.동축 탈진기(英: Coaxial escapement)는 쿼츠 시계 위기 한가운데, 영국의 시계 기술자인 조지 다니엘스가 미국의 사업가이자 시계 수집가인 세스 G. 아트우드(Seth G. Atwood)로부터 기계식 시계의 성능을 근본적으로 향상시키는 의뢰를 받고 개발한 것이다.[99][100][101]
1792년경 로버트 로빈이 발명한 이스케이프먼트는 한 방향으로 단일 충격을 가하며 수동 레버 팔레트로 잠금이 이루어진다.[68] 동축 이스케이프먼트의 설계는 로빈의 또 다른 변형인 파솔트 이스케이프먼트와 더 유사하다. 파솔트 이스케이프먼트는 1859년 미국인 찰스 파솔트가 발명하고 특허를 받았다.[69][70][71]
로빈과 파솔트 이스케이프먼트 모두 한 방향으로만 충격을 가한다.
후자의 이스케이프먼트는 크기가 다른 두 개의 이스케이프 휠과 맞물리는 레버를 가지고 있다. 작은 임펄스 휠은 레버 끝의 단일 팔레트에 작용하는 반면, 뾰족한 레버 팔레트는 더 큰 휠에 걸린다. 밸런스는 롤러 핀과 레버 포크를 통해 레버와 맞물리고 레버에 의해 추진된다. 레버 '앵커' 팔레트는 더 큰 휠을 고정하고, 이것이 풀리면 레버 끝의 팔레트가 레버 포크를 통해 작은 휠로부터 충격을 받는다. 복귀 스트로크는 '죽은' 상태이며, '앵커' 팔레트는 단지 고정과 해제에만 사용되고, 단일 레버 팔레트를 통해 한 방향으로만 충격이 가해진다. 듀플렉스와 마찬가지로 잠금 휠은 크기가 커서 압력과 마찰을 줄인다.
다니엘스 이스케이프먼트는 수동 레버 팔레트로 더 큰 휠을 고정하고 해제하는 데만 사용하여 이중 충격을 달성한다. 한쪽에서는 롤러와 임펄스 핀을 통해 작은 휠이 레버 팔레트에 작용하여 충격이 가해진다. 복귀 시 레버는 다시 더 큰 휠을 풀고, 이는 밸런스 축의 임펄스 롤러에 직접 충격을 가한다.
주요 장점은 이를 통해 두 충격 모두 중앙선에서 발생하고, 양방향으로 마찰이 해제된다는 점이다. 이러한 충격 방식은 이론적으로 진입 팔레트에 마찰이 있는 레버 이스케이프먼트보다 우수하다. 오랫동안 이것은 밸런스의 등시성에 방해가 되는 요인으로 인식되었다.[72][73]
구매자들은 더 이상 주로 정확성을 위해 기계식 시계를 구입하지 않으므로, 제조업체는 필요한 공구에 투자할 의향이 거의 없었지만, 결국 오메가가 1990년에 이를 채택했다.[73]

저렴한 쿼츠 시계로 기계식 시계보다 훨씬 더 높은 정확도를 달성할 수 있기 때문에, 개선된 이스케이프먼트 설계는 더 이상 실용적인 시계 기능의 필요성에 의해 움직이지 않고 하이엔드 시계 시장의 참신함으로 여겨진다. 최근 수십 년 동안 일부 하이엔드 기계식 시계 제조업체는 홍보를 위해 새로운 이스케이프먼트를 도입했다. 그러나 이들 중 어느 것도 원 제작자를 제외한 어떤 시계 제조업체에서도 채택되지 않았다.
발명가 Nicolas Déhon을 대신하여 롤렉스가 처음 제출한 특허를 기반으로,[74] 콘스탄트 이스케이프먼트는 지라르 페리고에 의해 2008년 시제품으로 개발되었고(당시 Nicolas Déhon은 Girard-Perregaux 연구개발 부서장이었다.) 2013년 시계에 적용되었다.
이 이스케이프먼트의 핵심 구성 요소는 탄성 에너지를 저장하는 실리콘 버클형 블레이드이다. 이 블레이드는 불안정 상태에 가까운 지점까지 구부러진 다음, 밸런스 휠의 각 스윙마다 딸깍 소리와 함께 풀려 휠에 충격을 가하고, 그 후 휠 트레인에 의해 다시 장전된다. 주장되는 장점은 블레이드가 휠에 매번 같은 양의 에너지를 전달하기 때문에, 밸런스 휠이 휠 트레인과 메인스프링으로 인한 충격력 변화로부터 분리되어 기존 이스케이프먼트에서 발생하는 부정확성이 제거된다는 것이다.
파르미지아니 플뤼리에는 자사의 제네껭 이스케이프먼트를, 율리스 나르댕은 자사의 율리스 앵커 이스케이프먼트를 통해 실리콘 평평 스프링의 특성을 활용했다. 독립 시계 제작자인 De Bethune은 자석이 고주파로 공진기를 진동시켜 기존의 밸런스 스프링을 대체하는 개념을 개발했다.[75]
3. 탈진기의 종류

탈진기는 다양한 형태로 발전해 왔으며, 크게 기계식 탈진기와 전자 기계식 탈진기로 나눌 수 있다. 1658년 진자와 밸런스 스프링의 도입으로 정확한 시계가 가능해진 이후, 300가지가 넘는 다양한 기계식 탈진기가 고안되었지만, 실제로 널리 사용된 것은 약 10가지에 불과하다.[35] 20세기에 전기식 시계 기술이 기계식 시계를 대체하면서 탈진기 설계는 거의 알려지지 않은 흥미로운 주제가 되었다.
3. 1. 기계식 탈진기
탈진기의 발명은 기술의 역사에서 중요한 발걸음이었는데, 이는 완전 기계식 시계를 가능하게 했기 때문이다.[1] 최초의 완전 기계식 탈진기인 버지 탈진기는 13세기 유럽에서 발명되었다. 이는 물시계의 물 흐름과 같은 연속적인 과정에서 추의 흔들림과 같은 진동하는 과정으로 시간 측정 방법을 전환할 수 있게 하여 더 정확한 시간 측정을 가능하게 했다.[3] 진동하는 시간 측정 장치는 모든 현대 시계의 제어 장치이다.[4][5][6]최초의 액체 구동 탈진기는 기원전 3세기에 그리스의 기술자인 비잔티움의 필론이 그의 기술 논문 ''Pneumatics'' 31장에서 세면대의 일부로 설명했다.[7] 물통에서 공급되는 추걸이 달린 숟가락은 가득 차면 대야에 넘어지면서 그 과정에서 둥근 부석 조각을 놓는다. 숟가락이 비워지면 추걸이에 의해 다시 위로 당겨져 팽팽해진 끈으로 부석 위에 있는 문을 닫는다. 필론의 "그 구조는 시계와 유사하다"라는 논평은 그러한 탈진기 메커니즘이 이미 고대 물시계에 통합되었음을 나타낸다.[7]
중국에서는 당나라의 불교 승려 일행과 관리 량릉찬이 723년(또는 725년)에 물로 작동하는 천구의와 시계 구동 장치 작동을 위해 탈진기를 만들었는데, 이는 세계 최초의 시계식 탈진기였다.[8][9] 송나라의 시계 기술자 장사순과 소송은 10세기에 그들의 천문시계탑에 탈진 장치를 적용했다.[10] 물이 회전축에 있는 용기에 흘러들어가는 방식이었다. 그러나 이 기술은 나중에 침체되고 퇴보했다. 역사학자 데릭 J. 드 솔라 프라이스에 따르면, 중국의 탈진기는 서쪽으로 퍼져 서구 탈진기 기술의 원천이 되었다.[11]
아마드 Y. 하산에 따르면, 1277년 알폰소 10세를 위한 스페인어 저술에 있는 수은 탈진기는 이전의 아랍어 자료까지 거슬러 올라갈 수 있다. 이 수은 탈진기에 대한 지식은 아랍어와 스페인어 원고의 번역을 통해 유럽으로 퍼져나갔을 것이다.[12][13]
그러나 이것들은 모두 진정한 기계식 탈진기는 아니었다. 시간을 측정하기 위해 여전히 구멍을 통한 액체의 흐름에 의존했기 때문이다. 이러한 설계에서는 용기가 가득 찰 때마다 넘어져서 동일한 양의 물이 측정될 때마다 시계의 바퀴를 전진시켰다. 방출 사이의 시간은 모든 액체 시계와 마찬가지로 흐름 속도에 따라 달라졌고, 구멍을 통한 액체의 흐름 속도는 온도와 점도 변화에 따라 다르며, 원천 용기의 액체 수위가 낮아짐에 따라 압력에 따라 감소한다. 기계식 시계의 개발은 일정하게 유지되는 진동하는 추에 의해 시계의 움직임을 제어할 수 있는 탈진기의 발명에 달려 있었다.
최초의 기계식 탈진기인 버지 탈진기는 시계에 적용되기 수세기 전부터 alarumla이라 불리는 종을 울리는 장치에 사용되었다.[14] 일부 자료에서는 프랑스 건축가 빌라르 드 오네쿠르가 그의 노트에서 발견된 태양을 따라 움직이는 천사상을 돌리기 위한 로프 연결 장치 그림을 인용하여 1237년 최초의 탈진기를 발명했다고 주장하지만,[15] 이것이 탈진기가 아니라는 것이 일반적인 견해이다.[16][17][18][19][20][21]
천문학자 로베르투스 앵글리쿠스는 1271년에 시계 제작자들이 탈진기를 발명하려고 노력하고 있지만 아직 성공하지 못했다고 기록하였다.[22] 시계 제작을 위한 재정 거래 기록은 13세기 후반을 탑 시계 메커니즘이 물 시계에서 기계식 탈진기로 전환된 가장 가능성 높은 시기로 지적한다.[23][24] 대부분의 자료는 1300년까지 기계식 탈진기 시계가 존재했다는 데 동의한다.[25][26]
하지만 가장 오래된 탈진기에 대한 설명은 버지 탈진기가 아니라 "스트롭" 탈진기라는 변형된 형태였다. 월링퍼드의 리처드가 세인트 올번스 수도원(세인트 올번스 수도원)에 건설한 시계에 대한 1327년 필사본 Tractatus Horologii Astronomicila에 기술된 이 탈진기는 같은 축에 서로 다른 방사형 이빨을 가진 한 쌍의 탈진 바퀴로 구성되었다. 버지봉은 그 사이에 매달려 있었고, 엇갈린 이빨이 지나가면서 한 방향으로, 그리고 다른 방향으로 회전하는 짧은 가로대가 있었다.[23] 다른 예는 알려져 있지 않지만, 이것이 최초의 시계 탈진기 설계였을 가능성이 있다.[23][27][28]
버지는 다른 모든 초기 시계와 손목시계에 사용되는 표준 탈진기가 되었으며, 400년 동안 유일하게 알려진 탈진기로 남아 있었다. 버지 탈진기의 성능은 마찰과 반동에 의해 제한되었지만, 가장 중요한 것은 버지 탈진기에 사용된 초기 평형 바퀴인 "폴리오트"에는 평형 스프링이 없었기 때문에 자연적인 "박자"가 없어 시간 측정 정확도가 심각하게 제한되었다.[1][14][29][23]
1657년 이후 진자의 발명과 평형 바퀴에 평형 스프링을 추가함으로써 탈진기의 정확도가 크게 향상되었다.[29][14][23] 이로써 시계와 손목시계 모두 조화 진동자가 되었다. 시간 측정 정확도의 향상으로 탈진기의 정확도에 대한 관심이 높아졌다. 기계식 시계 제작의 황금기라 할 수 있는 다음 두 세기 동안 300개가 넘는 탈진기 설계가 발명되었지만, 이 중 약 10개만 시계와 손목시계에 널리 사용되었다.[30]
1920년대에 발명된 결정 발진기와 석영 시계는 1930년대까지 가장 정확한 시계가 되었고, 시간 측정에 대한 기술 연구는 전자 방식으로 전환되었으며, 탈진기 설계는 시간 측정 정밀도 향상에 더 이상 역할을 하지 않게 되었다.
1658년 진자와 밸런스 스프링의 도입으로 정확한 시계가 가능해진 이후, 300가지가 넘는 다양한 기계식 탈진기가 고안된 것으로 추산되지만, 실제로 널리 사용된 것은 약 10가지에 불과하다.[35] 20세기에 전기식 시계 기술이 기계식 시계를 대체하면서 탈진기 설계는 거의 알려지지 않은 흥미로운 주제가 되었다.
1200년대 후반에 등장한 최초의 기계식 탈진기는 크라운 휠 탈진기라고도 알려진 버지 탈진기(Verge escapement)였다.[21][23] 최초의 기계식 시계에 사용되었으며, 원래는 양쪽 끝에 추를 단 수평 막대인 평형차(Balance wheel, foliot)에 의해 제어되었다. 이 탈진기는 크라운 모양의 탈진 휠로 구성되며, 뾰족한 이빨이 축 방향으로 측면에서 튀어나와 수평으로 배치된다. 크라운 휠 앞에는 폴리오트 상단에 부착된 수직 축이 있으며, 깃대에서 깃발처럼 90도 정도 간격으로 튀어나온 두 개의 금속판(팔레트)이 있다. 따라서 한 번에 하나의 팔레트만 크라운 휠 이빨과 맞물린다. 휠이 회전하면 한 이빨이 위쪽 팔레트를 밀어 축과 부착된 폴리오트를 회전시킨다. 이빨이 위쪽 팔레트를 지나면 아래쪽 팔레트가 휠 반대편 이빨의 경로로 이동한다. 이빨이 아래쪽 팔레트에 걸리면서 축이 반대 방향으로 회전하고, 이러한 사이클이 반복된다. 이 탈진기의 단점은 이빨이 팔레트에 닿을 때마다 폴리오트의 운동량이 크라운 휠을 짧은 거리만큼 뒤로 밀었다가 휠의 힘이 운동을 반전시킨다는 점이었다. 이것을 "되튐(recoil)"이라고 하며, 마모와 부정확성의 원인이 되었다.
버지는 350년 동안 시계와 손목시계에 사용된 유일한 탈진기였다. 태엽 시계와 손목시계에서는 퓨즈(fusee)가 필요하여 태엽(mainspring)의 힘을 고르게 분배했다. 1656년 추 시계가 발명된 후 약 50년 동안 최초의 추 시계에도 사용되었다. 추 시계에서는 크라운 휠과 축이 수평으로 배치되고, 추는 축에 매달렸다. 그러나 버지는 일반적인 탈진기 중에서 가장 부정확하며, 1650년대에 추가 도입된 후 다른 탈진기로 대체되기 시작하여 1800년대 후반에 이르러서야 폐기되었다. 이 무렵 얇은 시계의 유행으로 탈진 휠이 매우 작게 만들어져 마모의 영향이 증폭되었고, 이 시대의 시계를 오늘날 감으면 하루에 수 시간씩 빨리 가는 것을 발견할 수 있다.
요스트 뷔르기(Jost Bürgi)는 1584년에 크로스비트 이스케이프먼트(cross-beat escapement)를 발명했다. 이는 두 개의 팔레트가 서로 반대 방향으로 회전하는 버지 이스케이프먼트(verge escapement)의 변형이다.[36] 당시 기록에 따르면, 그의 시계는 하루에 1분 이내의 놀라운 정확도를 달성했다.[36] 이는 당시 다른 시계보다 두 자릿수 더 정확한 수치였다. 그러나 이러한 개선은 이스케이프먼트 자체 때문이 아니라, 더 나은 제작 기술과 구동력의 변화로부터 이스케이프먼트를 분리하는 장치인 레몽토아르(remontoire)의 발명 덕분일 가능성이 높다.[36] 밸런스 스프링이 없다면, 크로스비트는 버지와 마찬가지로 등시성이 없었을 것이다.[36]
갈릴레오의 탈진기는 1637년경 이탈리아 과학자 갈릴레오 갈릴레이(1564-1642)가 발명한 시계 탈진기 설계이다. 이것은 최초의 추시계 설계였다. 당시 이미 실명 상태였던 갈릴레오는 이 장치를 아들에게 설명했고, 아들은 이를 스케치로 그렸다. 아들은 시제품 제작을 시작했지만, 아들과 갈릴레오 모두 완성하기 전에 사망했다.
1657년경 로버트 훅이 발명한 앵커 탈진기(오른쪽 애니메이션 참조)는 버지 탈진기를 빠르게 대체하여 19세기까지 추시계에서 표준 탈진기로 사용되었다. 장점은 버지 탈진기의 넓은 진자 진동 각도를 3~6°로 줄여 진자를 거의 등시성에 가깝게 만들고, 에너지 소모가 적은 더 길고 느리게 움직이는 진자를 사용할 수 있게 했다. 앵커 탈진기는 대부분의 추시계의 길고 좁은 모양과, 1680년경 윌리엄 클레멘트가 발명하여 상업적으로 판매된 최초의 앵커 시계인 그랜드파더 클락의 개발에 기여했다. 클레멘트는 훅과 탈진기 발명의 공로를 두고 논쟁을 벌였다.
앵커 탈진기는 뾰족하고 뒤로 기울어진 이빨이 있는 탈진 바퀴와, 그 위에 피벗으로 고정되어 진자에 연결되어 좌우로 흔들리는 "앵커" 모양의 부품으로 구성된다. 앵커는 팔에 경사진 팔레트가 있어 탈진 바퀴의 이빨에 번갈아 걸려 충격을 받는다. 작동 방식은 버지 탈진기와 기계적으로 유사하며, 버지 탈진기의 두 가지 단점을 가지고 있다. (1) 진자는 사이클 전체에 걸쳐 탈진 바퀴 이빨에 의해 지속적으로 밀리며 자유롭게 흔들릴 수 없어 등시성이 방해받고, (2) ''후퇴형'' 탈진기이다. 앵커는 사이클의 일부 동안 탈진 바퀴를 뒤로 민다. 이로 인해 백래시가 발생하고 시계 기어의 마모가 증가하며 정확도가 떨어진다. 이러한 문제는 정밀 시계에서 앵커 탈진기를 서서히 대체한 데드비트 탈진기에서 해결되었다.
그레이엄 또는 데드비트 탈진기는 1675년 리처드 타운리의 설계를 바탕으로 토마스 톰피온이 처음 만든 앵커식 탈진기의 개량형이다.[38][39][40] 하지만 흔히 1715년에 이를 대중화시킨 조지 그레이엄의 업적으로 여겨진다.[41] 앵커식 탈진기에서는 진자의 흔들림이 그 주기의 일부 동안 탈진차를 뒤로 밀어낸다. 이러한 '반동'은 진자의 운동을 방해하여 부정확성을 초래하고 기어 트레인의 방향을 반전시켜 백래시를 발생시키며 시스템에 높은 하중을 발생시켜 마찰과 마모를 유발한다. 데드비트 탈진기의 주요 장점은 반동을 제거한 것이다.[14]
데드비트 탈진기에서 팔레트는 앵커가 회전하는 피봇을 중심으로 동심원상에 있는 두 번째 곡선형 "잠금"면을 가지고 있다. 진자의 흔들림이 극단에 달하면 탈진차 이빨이 이 잠금면에 닿아 진자에 충격을 주지 않아 반동을 방지한다. 진자의 흔들림이 최저점에 가까워지면 이빨이 잠금면에서 경사진 "충격"면으로 미끄러져 팔레트가 이빨을 놓기 전에 진자를 밀어준다. 데드비트 탈진기는 처음에는 정밀 조절 시계에 사용되었지만, 더 높은 정확성 때문에 19세기에 앵커식 탈진기를 대체했다. 종탑 시계는 종종 중력식 탈진기를 사용하는 것을 제외하고는 거의 모든 현대 진자 시계에 사용된다.[31]
루이 아망(Louis Amant)이 1741년경 발명한 이 데드비트 탈진기는 매우 견고하게 만들 수 있다. 이빨을 사용하는 대신, 탈진 바퀴는 가위 모양의 앵커에 의해 정지되고 해제되는 둥근 핀을 가지고 있다. 아망 탈진기 또는 (독일에서는) 만하르트(Johann Mannhardt) 탈진기라고도 불리는 이 탈진기는 탑 시계에 자주 사용된다.
탈진기(detent escapement) 또는 크로노미터 탈진기는 해상 크로노미터에 사용되었지만, 18세기와 19세기 동안 일부 정밀 시계에도 사용되었다.[42] 20세기 초 레버 탈진기 크로노미터가 경쟁에서 성능을 앞서기 시작할 때까지, 탈진기는 밸런스 휠 탈진기 중 가장 정확한 것으로 여겨졌다.[43] 초기 형태는 1748년 피에르 르 로이(Pierre Le Roy)이 발명한 피봇형 탈진기였지만, 이론적으로는 결함이 있었다.[44][45][46] 최초의 효과적인 탈진기 설계는 1775년경 존 아놀드가 발명했지만, 탈진기는 피봇 방식이었다. 이 탈진기는 1780년 토마스 얼쇼(Thomas Earnshaw)에 의해 수정되었고, 그가 일했던 라이트(Wright)에 의해 1783년 특허를 받았다. 그러나 특허에 묘사된 대로는 작동하지 않았다. 아놀드는 스프링 탈진기도 설계했지만, 개선된 설계를 통해 얼쇼의 버전이 결국 채택되었고, 18세기 마지막 10년 동안 기본 아이디어가 약간 수정되었다. 최종 형태는 1800년경에 등장했고, 이 설계는 1970년대 기계식 크로노미터가 쓸모없어질 때까지 사용되었다.
탈진기는 비접촉식 탈진기로, 밸런스 휠이 사이클의 대부분 동안 방해받지 않고 움직일 수 있도록 한다. 단, 짧은 충격 기간을 제외하고는 사이클당 한 번(매 두 번째 스윙)만 충격이 주어진다.[44] 탈출 톱니가 팔레트와 거의 평행하게 움직이기 때문에 마찰이 거의 없고 기름칠이 필요 없다. 이러한 이유들로 탈진기는 밸런스 휠 시계에 가장 정확한 탈진기로 여겨졌다.[47] 존 아놀드는 오버코일 밸런스 스프링(1782년 특허)을 사용한 최초의 탈진기였고, 이러한 개선으로 그의 시계는 하루에 1~2초 이내의 오차를 유지하는 최초의 정확한 휴대용 시계가 되었다. 이 시계들은 1783년부터 생산되었다.
그러나 탈진기는 시계 사용에 제한을 두는 단점이 있었다. 취약하고 숙련된 유지보수가 필요했으며, 자가 시동이 되지 않아 시계가 충격으로 밸런스 휠이 멈추면 다시 시작되지 않았고, 대량 생산이 어려웠다. 따라서 자가 시동식 레버 탈진기가 시계에서 주류가 되었다.
수평형 또는 실린더 탈진기는 1695년 토머스 톰피온(Thomas Tompion)[48]이 발명하고 1726년 조지 그레이엄(George Graham (clockmaker))[49]이 개량한 것으로, 1700년 이후 포켓시계에서 버지 탈진기를 대체한 탈진기 중 하나이다. 가장 큰 장점은 버지 탈진기보다 훨씬 얇아서 세련되고 슬림한 시계를 만들 수 있다는 것이었다. 시계 제작자들은 실린더의 마모가 심한 문제점을 발견하여 18세기에는 루비로 만든 고급 시계를 제외하고는 많이 사용되지 않았다. 프랑스에서는 실린더와 탈진 바퀴를 경화된 강철로 제작하여 이 문제를 해결했고,[48] 19세기 중반부터 20세기까지 저렴한 프랑스와 스위스산 포켓시계와 작은 시계에 대량으로 사용되었다.
이 탈진기는 팔레트 대신 밸런스 휠 축에 있는 일부가 잘린 실린더를 사용하며, 탈진 바퀴의 이빨이 하나씩 실린더 안으로 들어간다.[48][49] 각각의 쐐기 모양 이빨은 실린더 가장자리에 가해지는 압력으로 밸런스 휠에 충격을 가하고, 회전하면서 실린더 안에 고정되며, 반대쪽으로 나올 때 다시 휠에 충격을 가합니다. 바퀴는 일반적으로 15개의 이빨을 가지고 있으며 각 방향으로 20°~40° 각도로 밸런스 휠에 충격을 가한다.[48] 이것은 마찰식 정지 탈진기로, 밸런스 휠의 전체 주기 동안 이빨이 실린더와 접촉하고 있기 때문에 레버 탈진기와 같은 "분리형" 탈진기만큼 정확하지 않았으며, 높은 마찰력으로 인해 과도한 마모가 발생하여 더 자주 청소해야 했다.[49]
듀플렉스 시계 탈진기는 1700년경 로버트 훅이 발명하고, 장 바티스트 뒤테르트르와 피에르 르 로이가 개량했으며, 1782년 토마스 타이어가 특허를 받아 최종 형태를 갖추었다.[50]
초기 형태는 탈진 바퀴가 두 개였다. 듀플렉스 탈진기는 제작이 어려웠지만 실린더 탈진기보다 훨씬 높은 정확도를 달성했으며, (초기) 레버 탈진기와 맞먹는 수준이었고, 정교하게 제작될 경우 데텐트 탈진기와 거의 비슷한 성능을 발휘했다.[50][51][52]
약 1790년부터 1860년까지 영국 고급 포켓와치에 사용되었으며,[57][53][54] 1880년부터 1898년까지는 저렴한 미국산 '대중용' 시계인 워터베리에 사용되었다.[55][56]
듀플렉스는 유사한 크로노미터 탈진기와 마찬가지로 균형 바퀴는 한 사이클의 두 개의 진동 중 하나에서만 충격을 받는다.[57]
탈진 바퀴에는 두 개의 이빨 세트가 있다(따라서 '듀플렉스'라는 이름이 붙음). 긴 잠금 이빨은 바퀴의 측면에서 돌출되어 있고, 짧은 충격 이빨은 위쪽에서 축 방향으로 돌출되어 있다. 사이클은 잠금 이빨이 루비 디스크에 닿아 있는 상태로 시작된다. 균형 바퀴가 중앙 위치를 지나 시계 반대 방향으로 회전하면 루비 디스크의 노치가 이빨을 해제한다. 탈진 바퀴가 회전하면 팔레트는 충격 이빨로부터 밀침을 받는 적절한 위치에 있다. 그런 다음 다음 잠금 이빨이 루비 롤러에 걸리고, 균형 바퀴가 사이클을 완료하고 시계 방향으로(CW) 다시 회전하는 동안 그 상태를 유지하며, 이 과정이 반복된다. 시계 방향 스윙 동안 충격 이빨은 루비 롤러 노치에 잠깐 들어가지만 해제되지 않는다.
듀플렉스는 기술적으로 '마찰식 정지' 탈진기이다. 롤러에 닿아 있는 이빨은 스윙하는 동안 균형 바퀴에 약간의 마찰을 더하지만,[57][58] 이것은 매우 미미하다. 크로노미터와 마찬가지로 팔레트와 충격 이빨이 거의 평행하게 움직이기 때문에 충격 중 마찰이 거의 없어 윤활이 거의 필요하지 않다.[59]
그러나 레버 탈진기에 인기를 빼앗겼다. 엄격한 공차와 충격에 대한 민감성으로 인해 듀플렉스 시계는 활동적인 사람들에게 적합하지 않았다. 크로노미터와 마찬가지로 자체적으로 작동하지 않으며 "정지"에 취약하다. 갑작스러운 충격으로 시계 방향 스윙 중 균형이 멈추면 다시 시작할 수 없다.
1750년 토마스 머지가 발명한 레버 탈진기는 19세기 이후 대부분의 시계에 사용되어 왔다. 장점은 (1) "분리형" 탈진기라는 점이다. 실린더형 또는 듀플렉스형 탈진기와 달리 밸런스 휠은 중심 위치를 통과하는 짧은 충격 기간 동안에만 레버와 접촉하고, 나머지 사이클 동안에는 자유롭게 움직여 정확도를 높이며, (2) 자기 시동형 탈진기이므로 시계가 흔들려 밸런스 휠이 멈추더라도 자동으로 다시 시작된다는 점이다. 초기 형태는 레버와 밸런스 휠이 레버의 기어 랙을 통해 항상 접촉하는 랙 레버 탈진기였다. 나중에 기어의 이빨을 하나만 남기고 모두 제거할 수 있다는 것을 알게 되었고, 이것으로 분리형 레버 탈진기가 만들어졌다. 영국 시계 제작자들은 밸런스 휠에 대해 레버가 직각으로 배치된 영국식 분리형 레버를 사용했다. 나중에 스위스와 미국의 제조업체들은 밸런스 휠과 탈진 휠 사이에 레버가 일직선으로 배치된 인라인 레버를 사용했는데, 이것이 현대 시계에 사용되는 형태이다. 1798년 루이 페롱은 저렴하고 정확도가 떨어지는 핀 팔레트 탈진기를 발명했는데, 이것은 20세기 초 저렴한 "달러 시계"에 사용되었고, 현재도 저렴한 알람 시계와 부엌용 타이머에 사용되고 있다.[60]
드물지만 흥미로운 기계식 탈진기는 존 해리슨이 1722년에 발명한 그래스호퍼 탈진기이다. 이 탈진기에서 진자는 두 개의 경첩이 달린 팔(팔레트)에 의해 구동된다. 진자가 흔들리면 한 팔의 끝이 탈진 바퀴에 걸리고 약간 뒤로 밀어낸다. 이는 다른 팔을 움직여 탈진 바퀴가 통과할 수 있도록 한다. 진자가 다시 돌아올 때 다른 팔이 바퀴에 걸리고 밀어내면서 첫 번째 팔을 해제하는 식으로 작동한다. 그래스호퍼 탈진기는 해리슨 시대 이후 매우 적은 수의 시계에 사용되었다. 18세기에 해리슨이 만든 그래스호퍼 탈진기는 아직도 작동하고 있다. 대부분의 탈진기는 훨씬 더 빨리 마모되고 훨씬 더 많은 에너지를 낭비한다. 그러나 다른 초기 탈진기와 마찬가지로 그래스호퍼는 진자를 주기 내내 구동한다. 진자가 자유롭게 움직이는 것을 허용하지 않아 구동력의 변화로 인한 오차가 발생한다.[61] 19세기 시계 제작자들은 데드비트와 같은 더 분리된 탈진기와 경쟁력이 없다고 생각했다.[62][61] 그럼에도 불구하고, 제작에 충분한 주의를 기울이면 정확성을 얻을 수 있다. 현대 실험용 그래스호퍼 시계인 버지스 클락 B는 100일 운영 중 오차가 단 초에 불과했다. 2년 운영 후 기압 보정 후 오차는 ±0.5초였다.[64][65]
중력 탈진기는 작은 추 또는 약한 용수철을 사용하여 진자에 직접 충격을 가합니다. 가장 초기 형태는 진자의 현수 용수철에 매우 가깝게 피벗된 두 개의 팔로 구성되었으며, 각 팔은 진자의 양쪽에 하나씩 위치했습니다. 각 팔에는 경사면이 있는 작은 데드비트 팔레트가 장착되어 있었습니다. 진자가 한 팔을 충분히 들어 올리면 팔레트가 탈진차를 해제합니다. 거의 즉시, 탈진차의 다른 이가 다른 팔의 경사면을 따라 미끄러지기 시작하여 팔을 들어 올립니다. 팔레트에 도달하여 정지합니다. 한편 다른 팔은 여전히 진자와 접촉하고 있으며 시작점보다 낮은 지점으로 다시 내려옵니다. 이 팔의 하강이 진자에 충격을 줍니다. 이 설계는 18세기 중반부터 19세기 중반까지 꾸준히 발전했습니다. 결국 탑 시계의 탈진기로 선택되었는데, 그 이유는 바람, 눈, 얼음 하중이 다양하게 작용하는 큰 외장 시침으로 인해 톱니바퀴열이 큰 구동력 변화를 겪기 때문입니다. 중력 탈진기에서는 톱니바퀴열의 구동력이 진자 자체를 추진하는 것이 아니라 충격을 가하는 추를 단순히 재설정하기 때문에 구동력 변화의 영향을 받지 않습니다.
여기에 나와 있는 '이중 삼각 중력 탈진기'는 블록섬이라는 변호사가 처음 고안하고 나중에 그림소프 경이 개량한 탈진기의 한 형태입니다. 이것은 모든 정확한 '탑' 시계의 표준입니다.
3. 2. 전자 기계식 탈진기
19세기 후반, 진자 시계를 위한 전자기식 탈진기가 개발되었다. 이러한 탈진기에서, 스위치 또는 광전관이 진자의 스윙의 짧은 구간 동안 전자석에 에너지를 공급했다. 일부 시계에서는 진자를 작동시키는 전기 펄스가 기어 트레인을 움직이는 플런저도 작동시켰다.1843년, 마티아스 히프(Matthäus Hipp)는 "팔레트식 이탈장치(echappement à palette)"라고 불리는 스위치로 작동되는 순전히 기계식 시계를 처음 언급했다.[76] 그 이탈장치의 다양한 버전은 1860년대부터 전기로 작동되는 추 시계, 소위 "히프 토글(hipp-toggle)" 내부에서 사용되었다.[77] 1870년대부터 개선된 버전에서는 추가 추봉에 있는 빠울을 통해 래칫 휠을 구동했고, 래칫 휠은 시각을 표시하기 위해 시계 기어 장치의 나머지 부분을 구동했다. 추는 매번 진동하거나 또는 설정된 시간 간격으로 구동된 것이 아니었다. 추의 진동 각도가 특정 수준 이하로 감소했을 때만 구동되었다. 계수 빠울 외에도, 추에는 위쪽에 피벗으로 고정된 히프 토글(Hipp's toggle)이라고 알려진 작은 날개가 달려 있었는데, 이것은 완전히 자유롭게 움직일 수 있었다. 이것은 위쪽에 V자형 홈이 있는 삼각형의 연마된 블록을 가로질러 드래그하도록 배치되었다. 추의 진동 각도가 충분히 크면 날개가 홈을 지나 다른 쪽으로 자유롭게 움직였다. 각도가 너무 작으면 날개는 홈의 먼 쪽을 떠나지 않았고, 추가 되돌아왔을 때 블록을 강하게 아래로 밀었다. 블록은 추를 구동하는 전자석으로 회로를 완성하는 접점을 가지고 있었다. 추는 필요에 따라서만 구동되었다.
이러한 유형의 시계는 대형 건물에서 수많은 종속 시계를 제어하는 마스터 시계로 널리 사용되었다. 대부분의 전화 교환대는 매초, 6초 등 다양한 지속 시간의 펄스를 발행하여 전화 통화의 설정 및 요금 부과를 제어하는 데 필요한 시간이 지정된 이벤트를 제어하기 위해 이러한 시계를 사용했다.
1895년 프랭크 호프-존스(Frank Hope-Jones)가 설계한 싱크로놈 스위치(Synchronome switch)와 중력 탈진기(gravity escapement)는 20세기 대부분의 싱크로놈 시계의 기반이 되었다.[78] 또한 쇼트-싱크로놈 자유 진자 시계의 종속 진자의 기반이기도 하다.[79] 진자에 부착된 집합 암(gathering arm)은 한 위치에서 15개의 이빨을 가진 계수 톱니바퀴(count wheel)를 움직이며, 빠루(pawl)가 역방향으로의 움직임을 방지한다. 톱니바퀴에는 베인(vane)이 부착되어 있으며, 30초마다 한 번씩 중력 암(gravity arm)을 해제한다. 중력 암이 떨어지면 진자에 직접 부착된 팔레트(pallet)를 밀어 진자를 밀어준다. 암이 떨어지면 전기 접촉을 하여 전자석에 전력을 공급하여 중력 암을 재설정하고, 종속 시계에 대한 30초 간격의 충격을 가한다.[80]
쇼트-싱크로놈 시계
20세기, 영국의 시계 제작자 윌리엄 해밀턴 쇼트(William Hamilton Shortt)는 1921년 9월에 특허를 받고 싱크로놈(Synchronome)사에서 제작한, 하루 오차가 100분의 1초인 프리 펜듈럼 시계를 발명했다. 이 시스템에서 시간을 측정하는 "마스터" 펜듈럼은 36% 니켈이 함유된 특수 강철 합금인 인바(Invar)로 만들어진 막대를 사용하여 온도 변화에 따른 길이 변화가 매우 작으며, 진공 챔버에 밀폐되어 외부 영향을 최대한 받지 않고 움직이며, 아무런 일도 하지 않는다. 마스터 펜듈럼은 30초마다 극히 짧은 시간 동안만 이스케이프먼트와 기계적으로 접촉한다. 보조 "슬레이브" 펜듈럼은 래칫을 돌리는데, 이는 30초마다 약간 못 미치는 간격으로 전자석을 작동시킨다. 이 전자석은 마스터 펜듈럼 위의 이스케이프먼트에 중력 레버를 방출한다. (정확히 30초마다) 극히 짧은 시간 후에 마스터 펜듈럼의 움직임이 중력 레버가 더 멀리 떨어지도록 한다. 이 과정에서 중력 레버는 마스터 펜듈럼에 아주 작은 충격을 가하여 펜듈럼이 계속 움직이도록 한다. 중력 레버는 한 쌍의 접점에 떨어져 회로를 완성하는데, 이는 다음과 같은 몇 가지 작업을 수행한다.
1. 마스터 펜듈럼 위의 중력 레버를 최상단 위치로 올리는 두 번째 전자석에 에너지를 공급하고,
2. 하나 이상의 시계 다이얼을 작동시키는 펄스를 보내고,
3. 슬레이브 펜듈럼이 마스터 펜듈럼과 동기화되도록 유지하는 동기화 메커니즘에 펄스를 보낸다.
슬레이브 펜듈럼이 중력 레버를 방출하기 때문에, 이 동기화는 시계 작동에 매우 중요하다. 동기화 메커니즘은 슬레이브 펜듈럼의 샤프트에 부착된 작은 스프링과 전자석 아마추어를 사용하여, 슬레이브 펜듈럼이 약간 늦게 작동하는 경우 스프링을 잡아 슬레이브 펜듈럼의 주기를 한 번의 진동만큼 단축시킨다. 슬레이브 펜듈럼은 약간 느리게 작동하도록 조정되어, 거의 모든 두 번째 동기화 펄스에서 스프링이 아마추어에 걸리게 된다.[81]
이러한 형태의 시계는 천문대에서 사용되는 표준 시계가 되었으며 (약 100개의 시계가 제작되었다[82]), 지구 자전 속도의 미세한 변화를 감지할 수 있는 최초의 시계였다.
4. 신뢰성과 정확성
탈진기의 신뢰성은 제작 기술과 유지보수 수준에 크게 좌우된다. 부실하게 제작되거나 유지 관리가 제대로 되지 않은 탈진기는 문제를 일으킬 수 있다. 탈진기는 진자 또는 밸런스휠의 진동을 시계 또는 손목시계 기어트레인의 회전으로 정확하게 변환하고, 진동을 유지하기에 충분한 에너지를 전달해야 한다.[31]
대부분의 탈진기는 해제 과정에서 미끄러짐 동작을 포함한다. 예를 들어, 앵커의 팔레트는 진자가 움직일 때 탈진 바퀴 이빨에 대해 미끄러진다. 팔레트는 종종 인조 루비와 같은 매우 단단한 재료로 만들어지지만, 그럼에도 불구하고 윤활이 필요하다. 윤활유는 시간이 지남에 따라 증발, 먼지, 산화 등으로 인해 성능이 저하되므로 주기적인 재윤활이 필수적이다. 이를 소홀히 하면 시계가 제대로 작동하지 않거나 멈출 수 있으며, 탈진기 부품이 빠르게 마모될 수 있다. 현대 시계의 신뢰성 향상은 주로 윤활에 사용되는 고품질 오일 덕분이며, 고급 시계에서는 윤활제 수명이 5년 이상일 수 있다.
존 해리슨의 그래스호퍼 탈진기와 같이 미끄럼 마찰을 피하는 탈진기도 있다. 이는 탈진기의 윤활 필요성을 없앨 수 있지만, 기어트레인의 다른 부품 윤활 요구 사항은 여전히 존재한다.
기계식 시계의 정확도는 시계 장치의 정확도에 따라 결정된다. 추가 금속으로 만들어진 경우 열에 의해 팽창 및 수축하여 진동 주기가 변할 수 있다. 고가의 추 시계에는 특수 합금이 사용되어 이러한 왜곡을 최소화한다. 추의 흔들림 각도 역시 정확도에 영향을 미치며, 매우 정확한 추 시계는 원형 오차를 최소화하기 위해 매우 작은 각도로 흔들린다.[31]
추 시계는 뛰어난 정확도를 달성할 수 있으며, 20세기에도 실험실에서 기준 시계로 사용되었다. 탈진기는 정확도에 큰 영향을 미치는데, 추의 움직임에서 충격이 가해지는 정확한 지점은 추가 시간에 얼마나 가깝게 움직일지를 결정한다. 이상적으로는 추의 최저 지점 양쪽에 충격이 고르게 분포되어야 하며, 이를 "박자 맞춤(being in beat)"이라고 한다. 충격이 고르게 분포되면 진동 시간을 변경하지 않고 추에 에너지를 공급한다.[31]
추의 주기는 진폭의 크기에 따라 약간 달라진다. 진폭이 4°에서 3°로 변하면 추의 주기는 약 0.013% 감소하는데, 이는 하루에 약 12초의 이득으로 이어진다. 이는 추에 작용하는 복원력이 원형이기 때문이다. 따라서 추의 주기는 소각 근사 영역에서만 대략적으로 선형이며, 진폭의 영향을 최소화하기 위해 추의 진폭은 가능한 한 작게 유지된다.
일반적으로 탈진기의 작용은 추이든 시계의 균형추이든 진동기에 미치는 영향이 최소화되어야 하며, 이러한 영향을 ''탈진기 오차(escapement error)''라고 한다.
미끄럼 마찰이 있는 탈진기는 윤활이 필요하지만, 윤활이 저하되면 마찰이 증가하여 시계 장치에 충분한 동력이 전달되지 않을 수 있다. 시계 장치가 추인 경우, 마찰력 증가는 Q 계수를 감소시켜 공진 밴드를 증가시키고 정밀도를 감소시킨다. 용수철로 작동하는 시계의 경우, 용수철이 감기면서 가해지는 충격력은 훅의 법칙에 따라 변한다. 중력으로 작동하는 시계의 경우, 추가 떨어지고 더 많은 체인이 기어 트레인에서 추를 매달리면 충격력도 증가하지만, 이 효과는 대형 공용 시계에서만 관찰되며 폐쇄 루프 체인으로 방지할 수 있다.
손목시계와 작은 시계는 추 대신 밸런스 스프링에 연결된 금속 균형추를 사용한다. 대부분의 현대 기계식 시계는 3~4 Hz(초당 진동수) 또는 초당 6~8회의 박자(시간당 21,600~28,800회의 박자)로 작동하며, 일부 시계는 더 빠르거나 느린 속도를 사용한다. 작동 주파수는 밸런스 스프링의 강성에 따라 달라지며, 시간을 유지하려면 강성이 온도에 따라 변하지 않아야 한다. 따라서 밸런스 스프링은 정교한 합금을 사용하며, 이 분야는 여전히 발전하고 있다. 추와 마찬가지로 탈진기는 각 주기에 작은 힘을 가하여 균형추의 진동을 유지해야 하며, 시간이 지남에 따라 동일한 윤활 문제가 발생한다. 탈진기 윤활이 실패하기 시작하면 시계의 정확도가 떨어진다.
투르비용은 포켓 시계에서 중력으로 인한 균형추 무게의 비대칭성 확대를 최소화하기 위해 발명되었다. 균형추와 용수철은 회전하는 케이지에 배치되어 중력 왜곡을 완화한다. 이는 손목시계에서 귀중한 복잡 기능으로, 착용자의 움직임이 중력의 영향을 어느 정도 완화하는 경향이 있다.
상업적으로 생산된 가장 정확한 기계식 시계는 1921년 W. H. Shortt가 발명한 전기 기계식 숏트-싱크로놈 자유 진자 시계로, 연간 약 1초의 오차를 가진다.[32][33] 현재까지 가장 정확한 기계식 시계는 1990년대 E. T. Hall이 제작한 전기 기계식 리틀모어 시계로, 100일 동안 10억분의 3의 오차(약 0.02초)를 기록했다.[34] 이 두 시계는 모두 전기 기계식 시계로, 추를 시간 측정 요소로 사용하지만 기계식 기어 트레인이 아닌 전력을 사용하여 추에 에너지를 공급한다.
참조
[1]
논문
The Evolution of the Quartz Crystal Clock
https://archive.org/[...]
2007-06-06
[2]
서적
Medieval Technology and Social Change
Oxford Press
[3]
서적
Clocks and Culture, 1300 to 1700
https://books.google[...]
W.W. Norton & Co.
[4]
서적
From Sundials to Atomic Clocks: Understanding Time and Frequency
https://books.google[...]
Courier Dover
2020-10-30
[5]
서적
How Everything Works: Making Physics Out of the Ordinary
https://books.google[...]
Wiley
2023-03-19
[6]
웹사이트
Clock
http://tf.nist.gov/g[...]
US National Inst. of Science and Technology
2024-08-13
[7]
서적
Handbook of Ancient Water Technology
Brill
[8]
서적
Science and Civilization in China: Volume 4, Physics and Physical Technology, Part 2, Mechanical Engineering
Caves Books Ltd
[9]
서적
Science and Civilization in China: Volume 4, Physics and Physical Technology, Part 2, Mechanical Engineering
Caves Books Ltd
[10]
서적
Science and Civilization in China: Volume 4, Physics and Physical Technology, Part 2, Mechanical Engineering
Caves Books Ltd
[11]
서적
On the Origin of Clockwork, Perpetual Motion Devices, and the Compass
http://www.gutenberg[...]
[12]
웹사이트
Transfer Of Islamic Technology To The West, Part II: Transmission Of Islamic Engineering
http://www.history-s[...]
[13]
서적
Miracle of Islamic Science
Knowledge House Publishers
[14]
논문
Origin and Evolution of the Anchor Clock Escapement
http://www.geocities[...]
Inst. of Electrical and Electronic Engineers
2007-06-06
[15]
서적
A History of Mechanical Inventions
https://books.google[...]
Courier Dover Publications
2013
[16]
서적
Exemplum: Model-book Drawings and the Practice of Artistic Transmission in the Middle Ages (ca. 900-ca. 1470)
https://books.google[...]
Amsterdam University Press
1995
[17]
서적
The Portfolio of Villard de Honnecourt (Paris, Bibliothèque Nationale de France, MS Fr 19093)
https://books.google[...]
Ashgate Publishing Ltd.
2009
[18]
서적
Heavenly Clockwork: The Great Astronomical Clocks of Medieval China
https://books.google[...]
CUP Archive
1986
[19]
서적
Science and Civilisation in China: Volume 4, Physics and Physical Technology, Part 2, Mechanical Engineering
https://books.google[...]
Cambridge University Press
1965
[20]
서적
Medieval Technology and Social Change
https://books.google[...]
Oxford Univ. Press
1964
[21]
서적
History of the Hour: Clocks and Modern Temporal Orders
https://books.google[...]
University of Chicago Press
1996
[22]
서적
[23]
서적
Time in History: Views of Time from Prehistory to the Present Day
https://books.google[...]
Oxford Univ. Press
1989
[24]
서적
Medieval Technology and Social Change
Oxford Press
[25]
서적
Clocks and Culture, 1300 to 1700
https://books.google[...]
W.W. Norton & Co.
[26]
서적
Medieval Technology and Social Change
https://books.google[...]
[27]
서적
God's Clockmaker: Richard of Wallingford and the Invention of Time
https://books.google[...]
Hambledon & London
[28]
서적
History of the Hour: Clocks and Modern Temporal Orders
https://books.google[...]
Univ. of Chicago Press
[29]
웹사이트
A Revolution in Timekeeping
https://www.nist.gov[...]
National Institute of Standards and Technology
2022-10-13
[30]
서적
Time and Timekeepers
MacMillan
[31]
서적
The Science of Clocks and Watches, 3rd Ed.
The British Horological Institute
1993
[32]
서적
Splitting the Second: The Story of Atomic Time
https://books.google[...]
CRC Press
2000
[33]
서적
Ever-changing Sky: A Guide to the Celestial Sphere
https://books.google[...]
Cambridge Univ. Press
2002
[34]
웹사이트
The Littlemore Clock
http://www.iinet.com[...]
National Association of Watch and Clock Collectors
1996
[35]
서적
[36]
서적
Biographical dictionary of the history of technology
https://books.google[...]
Routledge
[37]
서적
Watch and Clockmaker's Handbook, 9th Edition
https://books.google[...]
E.F.& N. Spon
[38]
웹사이트
The Towneley Clocks at Greenwich Observatory
http://www.mikeoates[...]
2007-11-16
[39]
서적
The Correspondence of John Flamsteed, First Astronomer Royal, Vol.1
https://books.google[...]
CRC Press
[40]
서적
Encyclopedia of Time
https://books.google[...]
Taylor & Francis
[41]
서적
Milham 1945
[42]
서적
Milham 1945
[43]
서적
Technique and history of the Swiss watch
Spring Books
1970
[44]
서적
Time Restored:The Harrison timekeepers and R.T. Gould, the man who knew (almost) everything
https://books.google[...]
Oxford University Press
2006
[45]
서적
Encyclopedia of Time
https://books.google[...]
Garland Publishing
1994
[46]
서적
Britten's Watch & Clock Makers' Handbook Dictionary & Guide Fifteenth Edition
https://books.google[...]
[47]
서적
Milham 1945
[48]
서적
The Watch & Clock Makers' Handbook, Dictionary and Guide
https://archive.org/[...]
E. F. and N. Spon Ltd.
1896
[49]
서적
The Mechanics of Mechanical Watches and Clocks
https://books.google[...]
Springer
2012
[50]
서적
A Treatise on Watchwork, Past and Present
https://books.google[...]
E. & F.N. Spon
[51]
서적
Reid's Treatise 2nd Edition
[52]
특허
British patent no. 1811
[53]
웹사이트
Watch Escapements
http://www.horologia[...]
2007-10-18
[54]
웹사이트
Duplex Escapement
http://www.datacomm.[...]
2007-10-18
[55]
서적
Milham 1945
[56]
웹사이트
A History of the Waterbury Watch Co.
http://www.geocities[...]
The Waterbury Watch Museum
2007-10-18
[57]
서적
Watch and Clock Making
https://archive.org/[...]
Cassel & Co.
[58]
서적
Milham 1945
[59]
백과사전
[60]
웹사이트
Wristwatch - 76.2.109 {{!}} National Watch & Clock Museum
https://nawcc.pastpe[...]
2024-02-08
[61]
서적
The Mechanics of Mechanical Watches and Clocks
https://books.google[...]
Springer Science and Business Media
2012
[62]
서적
Old Clocks and Watches and their Makers
https://books.google[...]
B. T. Batsford
1899
[63]
웹사이트
Harrison / Burgess Clock B
http://leapsecond.co[...]
[64]
학회발표
A close look at clock A close look at clock 'B': and why pendulum clocks are even more interesting than atomic clocks
http://leapsecond.co[...]
2015-04
[65]
잡지
Building an Impossible Clock
https://www.theatlan[...]
2016-01-19
[66]
웹사이트
About George Daniels
http://www.danielslo[...]
2008-06-12
[67]
웹사이트
Where George Daniels shopped the Co-Axial...
http://home.xnet.com[...]
Chuck Maddox home page
2008-06-12
[68]
서적
Echappements
[69]
서적
English and American watches
[70]
서적
It's About Time
[71]
문서
Gros Echappements 1914 P.184 Fig.213
[72]
웹사이트
Could you explain the mechanism of the coaxial watch?
http://www.europasta[...]
Europa star online
2008-06-12
[73]
웹사이트
The Omega Coaxial: An impressive achievement
http://www.timezone.[...]
TimeZone.com
2008-06-12
[74]
웹사이트
Exhaust mechanism having bistable and monostable springs
https://patents.goog[...]
1999-12-16
[75]
웹사이트
The evolution of the escapement and recent innovations
https://monochrome-w[...]
2016-02-00
[76]
문서
Sich selbst controlirende Uhr, welche augenbliklich anzeigt, wenn die durch Reibung etc. verursachte Unregelmäßigkeit im Gang auch nur den tausendsten Theil einer Secunde ausmacht und welche ein mehr als hundertfach größeres Hinderniß überwindet, ehe sie stehen bleibt, als andere Uhren
Polytechnisches Journal
1843-00-00
[77]
문서
Pendule ou horloge électro-magnétique à appal direct d'électricité
French patent
1863-05-27
[78]
웹사이트
ClockDoc. The Electric Clock Archive
https://clockdoc.org[...]
[79]
서적
Electric Clocks
N.A.G. Press Limited
[80]
웹사이트
Synchronome Master Clock (circa 1955)
https://physicsmuseu[...]
2020-05-30
[81]
웹사이트
Electric clocks – a history through animation
http://www.electric-[...]
2011-11-10
[82]
웹사이트
Synchronome - 中国天文学 - 两台摆的电子钟 Chinese Astronomy
http://hua.umf.maine[...]
2011-11-10
[83]
웹사이트
Verge
http://www.etymonlin[...]
2023-11-20
[84]
서적
Biographical dictionary of the history of technology
https://books.google[...]
Routledge
1996-00-00
[85]
서적
The Correspondence of John Flamsteed, First Astronomer Royal, Vol.1
https://books.google[...]
CRC Press
1995-00-00
[86]
서적
Encyclopedia of Time
https://books.google[...]
Taylor & Francis
1994-00-00
[87]
학술지
Origin and Evolution of the Anchor Clock Escapement
http://www.geocities[...]
Inst. of Electrical and Electronic Engineers
2007-06-06
[88]
서적
Time Restored:The Harrison timekeepers and R.T. Gould, the man who knew (almost) everything
https://books.google[...]
Oxford University Press
2006-00-00
[89]
서적
Encyclopedia of Time
https://books.google[...]
Garland Publishing
1994-00-00
[90]
서적
The Watch & Clock Makers' Handbook, Dictionary and Guide
https://archive.org/[...]
E. F. and N. Spon Ltd.
1896-00-00
[91]
서적
The Mechanics of Mechanical Watches and Clocks
https://books.google[...]
Springer
2012-00-00
[92]
서적
A Treatise on Watchwork, Past and Present
https://books.google[...]
E. & F.N. Spon
1873-00-00
[93]
서적
Watch and Clock Making
https://archive.org/[...]
Cassel & Co.
1885-00-00
[94]
웹사이트
Watch Escapements
http://www.horologia[...]
2007-10-18
[95]
웹사이트
Duplex Escapement
http://www.datacomm.[...]
2007-10-18
[96]
웹사이트
A History of the Waterbury Watch Co.
http://www.geocities[...]
The Waterbury Watch Museum
2007-10-18
[97]
서적
Watch and Clock Making
https://archive.org/[...]
Cassel & Co.
1885-00-00
[98]
서적
Watch and Clock Making
https://archive.org/[...]
Cassel & Co.
1885-00-00
[99]
뉴스
Sale of a Master's Collection
https://www.nytimes.[...]
2019-02-17
[100]
웹사이트
About George Daniels
http://www.danielslo[...]
2008-06-12
[101]
웹사이트
Where George Daniels shopped the Co-Axial...
http://home.xnet.com[...]
2008-06-12
[102]
웹사이트
Historical Perspectives: Rarely Seen Documentary Video Featuring George Daniels And Seth Atwood
https://www.hodinkee[...]
2019-02-18
본 사이트는 AI가 위키백과와 뉴스 기사,정부 간행물,학술 논문등을 바탕으로 정보를 가공하여 제공하는 백과사전형 서비스입니다.
모든 문서는 AI에 의해 자동 생성되며, CC BY-SA 4.0 라이선스에 따라 이용할 수 있습니다.
하지만, 위키백과나 뉴스 기사 자체에 오류, 부정확한 정보, 또는 가짜 뉴스가 포함될 수 있으며, AI는 이러한 내용을 완벽하게 걸러내지 못할 수 있습니다.
따라서 제공되는 정보에 일부 오류나 편향이 있을 수 있으므로, 중요한 정보는 반드시 다른 출처를 통해 교차 검증하시기 바랍니다.
문의하기 : help@durumis.com
