양자 우물
"오늘의AI위키"의 AI를 통해 더욱 풍부하고 폭넓은 지식 경험을 누리세요.
1. 개요
양자 우물은 얇은 반도체 층을 겹겹이 쌓아 만든 구조로, 전자의 움직임을 양자역학적으로 제어하여 다양한 전자 소자에 활용된다. 1970년대에 개발되었으며, 결정 성장 기술 발전에 힘입어 발전했다. 양자 우물은 레이저 다이오드, 트랜지스터, 적외선 광검출기 등 다양한 분야에 응용되며, 특히 대한민국에서는 1990년대부터 연구가 시작되어 세계적인 기술력을 확보했다. 양자 우물은 제작 방식에 따라 격자 정합, 변형 균형, 변형 시스템으로 나뉘며, 무한 우물 및 유한 우물 모델을 통해 기본 원리를 설명할 수 있다. 또한, 초격자 구조를 형성하여 특성을 제어할 수 있으며, 레이저, 열전 소자, 태양 전지 등 다양한 분야에서 응용되고 있다. 양자역학적 현상을 연구하는 데 중요한 모델로 활용되며, 슈뢰딩거 방정식을 통해 전하 운반자의 거동을 설명한다.
더 읽어볼만한 페이지
- 양자역학 퍼텐셜 - 상자 속 입자
상자 속 입자는 양자역학에서 입자가 특정 영역에 갇혀 움직이는 이상적인 시스템으로, 슈뢰딩거 방정식을 통해 파동 함수와 양자화된 에너지 준위를 구할 수 있으며, 다양한 물리적 시스템을 이해하는 데 기초가 된다. - 양자역학 퍼텐셜 - 퍼텐셜 우물
퍼텐셜 우물은 양자 가둠 효과가 나타나는 환경으로, 물질의 크기가 드브로이 파장과 유사해질 때 전자 및 광학적 특성이 변하며, 양자점, 양자 와이어 등이 그 예시이고, 에너지 스펙트럼이 이산적으로 변하며 크기가 작아짐에 따라 띠 간격이 증가하는 특징을 가진다. - 반도체 구조 - PN 접합
PN 접합은 p형 반도체와 n형 반도체의 경계로, 다이오드, 트랜지스터 등 다양한 반도체 소자에 활용되며, 두 반도체의 상대 전압에 따라 전류 흐름을 제어한다. - 반도체 구조 - 쇼트키 접합
쇼트키 접합은 금속과 반도체 접촉으로 형성되는 계면에서 금속의 일함수와 반도체의 전자 친화도 차이로 쇼트키 장벽이 생겨 정류 특성을 가지며, 쇼트키 다이오드 등 다양한 반도체 소자와 특성 분석에 활용된다. - 양자전자공학 - 양자 홀 효과
양자 홀 효과는 강한 자기장과 저온의 2차원 전자계에서 홀 전도율이 기본 상수의 정수배 또는 분수배로 양자화되는 현상으로, 정수 양자 홀 효과는 전기 저항 표준 및 미세 구조 상수 결정에 활용되며, 분수 양자 홀 효과는 전자 간 상호작용에 의해 발생하고, 란다우 준위 등의 개념으로 설명되며 위상 물질 연구 등에 응용된다. - 양자전자공학 - 양자 스핀홀 효과
양자 스핀 홀 효과는 전자의 스핀 방향에 따라 반대 방향으로 흐르는 현상이며, 찰스 케인과 유진 멜레는 그래핀 모델을 기반으로 한 케인-멜레 모델을 제안했다.
| 양자 우물 | |
|---|---|
| 지도 정보 | |
| 기본 정보 | |
| 유형 | 헤테로 구조 |
| 설명 | 양자적인 속성을 가지는 전자가 갇혀 있는 퍼텐셜 우물 |
| 특징 | 전자는 우물 내에서 양자화된 에너지 준위를 가짐 전자의 파동함수는 우물 내에 국한됨 |
| 구조 및 재료 | |
| 구조 | 반도체 또는 유전체 재료의 얇은 층으로 구성 헤테로 구조의 형태로 제작됨 |
| 재료 | GaAS AlGaAs InGaAs InAlAs |
| 작동 원리 | |
| 원리 | 전자가 얇은 층에 갇혀 양자화된 에너지 준위를 가짐 전자는 특정 에너지 준위 사이에서 전이할 수 있음 전이 시 광자 방출 또는 흡수 |
| 관련 현상 | 양자 크기 효과 공진 터널링 양자 홀 효과 |
| 응용 분야 | |
| 광전자 소자 | 레이저 다이오드 발광 다이오드 (LED) 광검출기 (예: 양자 우물 적외선 광검출기) |
| 전자 소자 | 고전자 이동도 트랜지스터 (HEMT) 공진 터널링 다이오드 (RTD) 단전자 트랜지스터 (SET) |
| 기타 응용 | 태양 전지 바이오 센서 양자 컴퓨팅 소자 |
| 이론적 모델 | |
| 슈뢰딩거 방정식 | 슈뢰딩거 방정식을 사용하여 양자 우물 내의 전자의 거동을 모델링 시간 독립 슈뢰딩거 방정식: HΨ = EΨ |
| 근사 | 유한한 깊이의 포텐셜 우물 무한한 깊이의 포텐셜 우물 (이상적인 근사) |
| 관련 용어 | |
| 관련 용어 | 포텐셜 우물 헤테로 구조 양자화 양자 크기 효과 양자역학 양자점 양자선 양자 터널링 |
2. 역사
반도체 양자 우물은 1970년 에사키 레오(Leo Esaki)와 츠 라파엘(Raphael Tsu)이 개발하였으며, 이들은 인공 초격자(superlattice)를 발명하기도 했다.[4] 이들은 서로 다른 밴드갭을 가진 반도체의 얇은 층을 교대로 쌓아 만든 이종접합(heterostructure)이 흥미롭고 유용한 특성을 나타낼 것이라고 제안했다.[5] 이후 양자 우물 시스템의 물리학 연구와 양자 우물 소자 개발에 많은 노력과 연구가 투입되었다.
양자 우물은 밴드갭이 더 넓은 알루미늄 비소와 같은 물질의 두 층 사이에 갈륨 비소와 같이 밴드갭이 작은 물질을 끼워 넣어 반도체에 형성한다. 인듐 갈륨 질화물 층을 갈륨 질화물의 두 층 사이에 끼워 넣는 것도 가능하다.
양자 우물 소자의 개발은 결정 성장(crystal growth) 기술의 발전에 크게 기인한다. 양자 우물 소자는 결함이 적고 고순도의 구조를 필요로 하기 때문에, 이러한 이종 구조의 성장을 정밀하게 제어하는 기술은 매우 미세하게 조정된 특성을 가진 반도체 소자를 개발할 수 있게 한다.[4]
양자 우물과 반도체 물리학은 물리학 연구의 주요 주제였다. 여러 반도체로 구성된 구조를 사용한 반도체 소자 개발은 2000년 알페로프 조레스(Zhores Alferov)와 크로머 허버트(Herbert Kroemer)에게 노벨 물리학상을 안겨주었다.[6]
양자 우물 소자에 대한 이론은 발광 다이오드(light-emitting diode), 트랜지스터(transistor) 등 많은 현대 부품의 생산과 효율성 향상에 중요한 발전을 가져왔다. 오늘날 이러한 소자는 현대 휴대전화, 컴퓨터 및 기타 많은 컴퓨팅 장치에 널리 사용되고 있다.
3. 제작
이러한 구조는 분자선 에피택시(MBE) 또는 화학 기상 증착법(CVD)으로 성장시킬 수 있으며, 층 두께는 단층까지 제어할 수 있다. 얇은 금속 박막도 양자 우물 상태를 지지할 수 있는데, 특히 금속 및 반도체 표면에 성장한 얇은 금속 오버레이어에서 그렇다. 진공-금속 계면은 한쪽에서 전자(또는 정공)를 가두고, 일반적으로 반도체 기판에서는 절대 갭으로, 금속 기판에서는 투영된 밴드갭으로 가둔다.
양자 우물(QW) 재료 시스템을 성장시키는 세 가지 주요 방법에는 격자 정합, 변형 균형, 변형이 있다.[7]
3. 1. 격자 정합 시스템
격자 정합 시스템에서 우물과 장벽은 기본 기판 재료와 유사한 격자 상수를 갖는다.[7] 이 방법을 사용하면 밴드갭 차이가 최소화되지만 흡수 스펙트럼의 변화도 최소화된다.
3. 2. 변형 균형 시스템
변형 균형 시스템에서 우물과 장벽은 한 층의 격자 상수 증가가 기판 재료에 비해 다음 층의 격자 상수 감소에 의해 보상되도록 성장한다. 층의 두께와 조성 선택은 밴드갭 요구 사항과 캐리어 수송 제한에 영향을 미친다. 이 방법은 설계 유연성을 가장 높게 제공하여 최소한의 변형 완화로 많은 주기적인 양자 우물(QW)을 제공한다.[7] 즉, 우물과 장벽 물질의 격자 상수가 서로 다르지만, 층 두께와 조성을 조절하여 전체적인 변형을 균형 있게 유지한다.
3. 3. 변형 시스템
변형 시스템에서 우물과 장벽은 격자 상수가 서로 다르다. 이는 전체 구조를 압축하여 변형을 일으킨다. 결과적으로 이러한 구조는 소수의 양자 우물만 수용할 수 있다.[7]
4. 기본 원리
양자 우물은 띠 간격이 작은 물질(우물)을 띠 간격이 큰 물질(장벽) 사이에 끼워 넣어 전하 운반자를 가두는 구조이다. 예를 들어, 띠 간격이 큰 AlGaAs 두 층 사이에 띠 간격이 작은 GaAs 층을 넣어 만들 수 있다. 물질 변화가 z 방향으로 일어나면 양자 우물이 z 방향으로 형성되고, x-y 평면에는 구속이 없다. GaAs 영역에는 주변 AlGaAs보다 띠 간격이 낮은 양자 우물(퍼텐셜 우물)이 만들어져, 낮은 에너지의 캐리어가 갇힐 수 있다.[6]
양자 우물 내부에는 캐리어가 가질 수 있는 불연속적인 에너지 고유 상태가 있다. 전도대 전자는 AlGaAs 영역보다 우물 내부에서 더 낮은 에너지를 가지므로 양자 우물에 갇힐 수 있다. 원자가대의 정공도 마찬가지로 원자가대에 생성된 퍼텐셜 우물 꼭대기에 갇힐 수 있다. 갇힌 캐리어의 상태는 상자 속 입자와 유사하다.[4]
양자 우물 시스템은 무한 우물 모델과 유한 우물 모델로 설명할 수 있다.
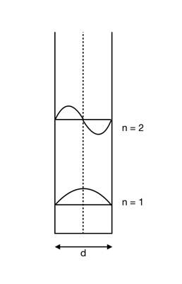
4. 1. 무한 우물 모델
무한 우물 모델은 양자 우물의 장벽을 무한대로 가정하는 가장 간단한 모델이다. 이 모델은 실제 양자 우물이 수백 밀리전자볼트 정도의 크기를 가지더라도, 양자 우물 뒤에 숨겨진 물리 현상에 대한 통찰력을 제공하는 간단하고 유용한 모델로 사용될 수 있다.[4]
z 방향으로 향하는 무한 양자 우물을 고려하면, 우물 내의 전하 운반체는 z 방향으로는 제한되지만 x-y 평면에서는 자유롭게 이동할 수 있다. 양자 우물이 부터 까지 존재한다고 가정할 때, 우물 내에서는 전하 운반체가 퍼텐셜을 경험하지 않고, 장벽 영역의 퍼텐셜은 무한히 높다고 가정한다.
이러한 가정 하에, 무한 우물 모델에서 전하 운반체에 대한 슈뢰딩거 방정식은 다음과 같다.
:
여기서 는 환산 플랑크 상수이고, 는 우물 영역 내 전하 운반체의 유효 질량이다. 유효 질량은 전자가 자신의 양자 환경에서 "느끼는" 질량이며, 밴드의 곡률에 따라 값이 달라지기 때문에 반도체마다 다르다.
무한히 높은 퍼텐셜 때문에, 파동 함수는 우물의 장벽 영역에 존재할 수 없다. 따라서 다음 경계 조건이 적용된다.
:
이 경계 조건 하에서, 파동 함수는 다음과 같은 형태를 가진다.
:
여기서 ()은 정수 양자수를 나타내며, 는 각 상태와 관련된 파수 벡터이다. 관련된 불연속 에너지는 다음과 같이 주어진다.
:
이 식에서 볼 수 있듯이, 우물의 에너지는 우물의 길이()의 제곱에 반비례한다. 즉, 우물의 폭이 좁을수록 에너지 준위 간격이 커진다. 또한, 에너지 준위는 유효 질량의 역수에 비례하므로, 전하 운반체의 유효 질량이 작을수록 에너지 준위 간격이 커진다. 이러한 특성은 밴드갭 공학에 매우 유용하다.[4]
하지만 무한 우물 모델은 실제 양자 우물의 벽이 유한하다는 점과 파동 함수가 우물 경계에서 0이 되지 않고 벽으로 '새어나간다'는 점(양자 터널링)을 고려하지 않아, 실제보다 더 많은 에너지 상태를 예측하는 단점이 있다.[4]
4. 2. 유한 우물 모델
유한 포텐셜 우물 모형은 양자 우물을 보다 현실적으로 모델링한 것이다. 이 모형에서 이종구조의 우물 벽은 서로 다른 반도체의 전도대 에너지 차이인 유한 포텐셜 를 사용하여 모델링된다. 벽이 유한하고 전자가 장벽 영역으로 터널링될 수 있기 때문에 허용된 파동 함수는 장벽 벽을 관통하게 된다.[5]z 방향으로 배향된 유한 양자 우물을 고려해 보자. 우물 내의 전하 캐리어는 z 방향으로는 구속되지만 x-y 평면에서는 자유롭게 움직일 수 있다. 양자 우물이 부터 까지 이어진다고 가정한다. 우물 내에서는 캐리어가 어떠한 포텐셜도 경험하지 않고, 장벽 영역에서는 의 포텐셜을 경험한다고 가정한다.
우물 내부의 캐리어에 대한 슈뢰딩거 방정식은 무한 우물 모형과 비교하여 변하지 않지만, 벽에서의 경계 조건은 이제 파동 함수와 그 기울기가 경계에서 연속적이어야 함을 요구한다.
장벽 영역 내에서 캐리어에 대한 슈뢰딩거 방정식은 다음과 같다.
:
여기서 는 장벽 영역에서의 캐리어의 유효 질량이며, 일반적으로 우물 내부의 유효 질량과 다르다.[4]
4. 3. 초격자
초격자는 서로 다른 밴드갭을 가진 물질을 번갈아 배열하여 만든 주기적인 이종구조이다. 이러한 주기적인 층의 두께는 일반적으로 수 나노미터 정도이다. 이러한 구조에서 생성되는 밴드 구조는 주기적인 일련의 양자 우물이다. 이러한 장벽이 충분히 얇아서 캐리어가 다중 우물의 장벽 영역을 통과할 수 있는 것이 중요하다.[8] 초격자의 특징적인 성질은 우물 사이의 장벽이 충분히 얇아서 인접한 우물이 결합한다는 것이다. 인접한 파동 함수가 결합하기에는 너무 두꺼운 장벽을 가진 반복되는 양자 우물로 만들어진 주기적인 구조는 다중 양자 우물(MQW) 구조라고 한다.[4]캐리어가 우물 사이의 장벽 영역을 통과할 수 있기 때문에, 인접한 우물의 파동 함수는 얇은 장벽을 통해 서로 결합하여, 초격자의 전자 상태는 비국재화된 미니밴드를 형성한다.[4] 초격자에서 허용되는 에너지 상태에 대한 해는 구조의 주기성으로 인해 발생하는 경계 조건의 변화를 가진 유한 양자 우물에 대한 해와 유사하다. 퍼텐셜이 주기적이기 때문에, 이 시스템은 1차원 결정 격자와 유사한 방식으로 수학적으로 설명할 수 있다.
5. 응용
양자 우물은 전하 운반자의 에너지 준위와 상태 밀도를 제어할 수 있어 다양한 광전자 소자에 응용된다. 주요 응용 분야는 다음과 같다.
- 다이오드 레이저: DVD 및 레이저 포인터용 적색 레이저, 광섬유 송신기의 적외선 레이저, 청색 레이저 등에 널리 사용된다.
- 고전자 이동도 트랜지스터(HEMT): 저잡음 전자 장치에 사용된다.
- 양자 우물 적외선 광검출기(QWIP): 적외선 영상에 사용된다.
- 포화 흡수체: 수동 모드 동기 레이저에 널리 사용되는 반도체 포화 흡수체(SESAM)는 III-V족 반도체 단일 양자 우물(SQW) 또는 다중 양자 우물(MQW)로 만들어지며, 초고속 고체 레이저의 성능을 크게 향상시켰다.
- 열전 소자: 에너지 수확에 대한 가능성을 보여주며, 컴퓨터 칩과 같은 전기 회로의 폐열을 전기로 변환하는 데 활용될 수 있다.
- 태양전지: 양자 우물을 도입하여 효율을 높일 수 있으며, 다중 접합 태양전지의 대안적인 접근 방식을 제공한다.
5. 1. 레이저 다이오드
양자 우물 내 전자는 준이차원적 특성 때문에 에너지에 대한 상태 밀도가 벌크 재료에서 발견되는 부드러운 제곱근 의존성과 달리 뚜렷한 계단 형태를 갖는다. 또한, 원자가띠에서 정공의 유효 질량이 변화하여 원자가띠 내 전자의 유효 질량과 더욱 일치하게 된다. 이 두 가지 요소와 양자 우물에서 활성 물질의 양이 감소한 결과, 다이오드 레이저와 같은 광학 소자의 성능이 향상된다. 결과적으로 양자 우물은 DVD 및 레이저 포인터용 적색 레이저, 광섬유 송신기의 적외선 레이저 또는 청색 레이저를 포함한 다이오드 레이저에 널리 사용된다.5. 2. 고전자 이동도 트랜지스터(HEMT)
양자 우물 구조를 이용하여 높은 전자 이동도를 얻을 수 있다. 저잡음 증폭기, 고주파 회로 등에 사용된다.[1]양자 우물 내 전자는 준이차원적 특성 때문에 에너지에 대한 상태 밀도가 벌크 재료에서 발견되는 부드러운 제곱근 의존성과 달리 뚜렷한 계단 형태를 갖는다.[1] 이러한 구조는 고전자 이동도 트랜지스터(HEMT)의 전도 채널을 생성하며 저온에서 양자 홀 효과와 같은 흥미로운 특성을 나타낸다.[1] 억셉터 도펀트는 이차원 정공 가스(2DHG)를 생성할 수도 있다.[1]
5. 3. 양자 우물 적외선 광검출기(QWIP)
양자 우물 적외선 광검출기는 양자 우물을 기반으로 하며 적외선 영상에 사용된다.[1] 양자 우물 내 전자는 준이차원적 특성 때문에 에너지에 대한 상태 밀도가 뚜렷한 계단 형태를 갖는다.[1] 이는 양자 우물 적외선 광검출기가 양자 우물 내의 전자 전이를 이용하여 적외선을 감지하는 원리이다. 이러한 원리를 바탕으로 열화상 카메라, 의료 영상, 군사 기술 등에 활용된다.5. 4. 포화 흡수체
양자 우물은 빛의 세기에 따라 흡수율이 변하는 포화 흡수 특성을 이용하여 포화 흡수체로 제작될 수 있다. 포화 흡수체는 수동 모드 동기 레이저에 널리 사용된다. 반도체 포화 흡수체(SESAM)는 1974년 p형 게르마늄을 사용하여 약 500 ps의 펄스를 생성하는 CO₂ 레이저의 모드 동기를 위해 사용된 이후로 레이저 모드 동기에 사용되었다.[9] 최신 SESAM은 반도체 (DBR) 상에 성장한 III-V족 반도체 단일 양자 우물(SQW) 또는 다중 양자 우물(MQW)이다. 초기에는 공진 펄스 모드 동기(RPM) 방식에서 티타늄 사파이어 레이저 (Ti:sapphire lasers)의 시작 메커니즘으로 사용되었는데, 이 레이저는 빠른 포화 흡수체로 KLM을 사용하였다. RPM은 또 다른 결합 공진기 모드 동기 기술이다. SESAM은 이 구조의 고유한 단순성으로 인해 곧 공진기 내 포화 흡수 장치로 개발되었다. 그 이후로 SESAM의 사용은 초고속 고체 레이저의 펄스 지속 시간, 평균 출력, 펄스 에너지 및 반복률을 수십 배 향상시켰다. 60W의 평균 출력과 최대 160 GHz의 반복률을 얻었다. SESAM 지원 KLM을 사용하여 티타늄 사파이어 발진기에서 직접 6 fs 미만의 펄스를 얻었다. SESAM이 다른 포화 흡수 기술보다 갖는 주요 장점은 흡수체 매개변수를 넓은 범위의 값으로 쉽게 제어할 수 있다는 점이다. 예를 들어, 포화 플루언스는 상단 반사체의 반사율을 변경하여 제어할 수 있으며, 변조 깊이와 복구 시간은 흡수체 층의 저온 성장 조건을 변경하여 조정할 수 있다. 이러한 설계의 자유는 자체 시작 및 작동 안정성을 보장하기 위해 상대적으로 높은 변조 깊이가 필요한 광섬유 레이저의 모드 동기로 SESAM의 응용 분야를 더욱 확장하였다. ~1 μm 및 1.5 μm에서 작동하는 광섬유 레이저가 성공적으로 시연되었다.[9]5. 5. 열전 소자
양자 우물은 열전 소자로서 에너지 수확에 대한 가능성을 보여주었다. 양자 우물은 제작이 용이하고 상온에서 작동할 가능성을 제공하는 것으로 알려져 있다. 우물은 중앙 공동을 두 개의 전자 저장소에 연결한다. 중앙 공동은 저장소보다 더 높은 온도로 유지된다. 우물은 특정 에너지의 전자만 통과시키는 필터 역할을 한다. 일반적으로 공동과 저장소 사이의 온도 차이가 클수록 전자 흐름과 출력 전력이 증가한다.[10][11]실험 장치는 1K의 온도 차이에 대해 약 0.18W/cm2의 출력 전력을 제공했는데, 이는 양자점 에너지 수확기의 전력의 거의 두 배에 달한다. 추가적인 자유도는 더 큰 전류를 허용했다. 그 효율은 양자점 에너지 수확기보다 약간 낮다. 양자 우물은 특정 수준 이상의 에너지를 가진 전자를 모두 전달하는 반면, 양자점은 특정 에너지를 가진 전자만 통과시킨다.[10]
컴퓨터 칩과 같은 전기 회로의 폐열을 전기로 변환하여 칩의 냉각 및 전력 공급에 필요한 에너지를 줄이는 것이 하나의 가능한 응용 분야이다.[10]
5. 6. 태양 전지
양자 우물은 태양전지의 효율을 높이는 데 활용될 수 있다. 기존의 단접합 태양전지는 이론적 최대 효율이 약 34%인데, 이는 여러 파장의 빛을 포착하지 못하기 때문이다. 다중 접합 태양전지는 서로 다른 밴드갭을 가진 여러 개의 p-n 접합을 직렬로 연결하여 흡수 파장 범위를 넓혀 이론적 효율을 높이지만, 복잡하고 제조 비용이 많이 들어 특수한 용도로만 사용된다. 반면, 내재 영역에 하나 이상의 양자 우물을 포함하는 p-i-n 접합으로 구성된 태양전지는 암전류에 대한 광전류를 증가시켜 기존 p-n 전지보다 효율이 향상된다.[12]양자 우물(QWs)을 도입하면 단접합 변형 양자 우물 실리콘 소자의 효율 한계가 28.3%로 증가한다.[15] 이는 배리어 재료의 밴드갭이 내장 전압을 결정하는 반면, 양자 우물의 밴드갭은 흡수 한계를 결정하기 때문이다.[15]
양자 우물(QW)이 없는 태양전지 중에서는 III/V족 다중 접합 태양전지가 가장 효율이 높으며, 고농도 태양광 조건에서 최대 46%의 효율을 기록하고 있다.[7] 더 많은 서로 다른 밴드갭을 가진 양자 우물(QW)을 도입하여 흡수 스펙트럼에 더 많은 태양 복사 에너지를 포함시키면 태양전지의 효율이 증가한다. 하지만 밴드갭과 격자 상수 사이의 직접적인 관계는 다중 접합 태양전지의 발전을 저해한다. 양자 우물(QW)을 더 많이 함께 성장시키면 서로 다른 격자 상수로 인해 재료에 전위가 발생하는데, 이는 확산 길이와 캐리어 수명을 감소시킨다.[7] 따라서 양자 우물(QW)은 결정 전위를 최소화하는 다중 접합 태양전지에 대한 대안적인 접근 방식을 제공한다.
6. 양자역학
양자 우물과 양자 우물 소자를 설명하는 데 사용되는 이론은 양자역학, 통계역학, 전자기학 분야의 중요한 결과들을 활용한다.[1]
참조
[1]
웹사이트
Quantum Well Infrared Photon Detectors IRnova
http://www.ir-nova.s[...]
2018-09-04
[2]
논문
A proposed class of hetero-junction injection lasers
Institute of Electrical and Electronics Engineers (IEEE)
[3]
특허
Authors Certificate 28448
U.S.S.R
[4]
서적
Quantum Wells, Superlattices, and Band-Gap Engineering
Springer US
2006
[5]
서적
Physics of quantum well devices
Kluwer Academic Publishers
2002
[6]
서적
The Oxford solid state basics
Oxford University Press
2017
[7]
논문
Quantum Well Solar Cells: Principles, Recent Progress, and Potential
2019-03-02
[8]
논문
A review of semiconductor quantum well devices
2015
[9]
논문
Observation of High-Order Polarization-Locked Vector Solitons in a Fiber Laser
http://www3.ntu.edu.[...]
[10]
웹사이트
Scientists propose quantum wells as high-power, easy-to-make energy harvesters
http://phys.org/news[...]
Phys.org
2013-10-24
[11]
논문
Powerful energy harvester based on resonant-tunneling quantum wells
[12]
논문
Quantum well solar cells
[13]
논문
Modeling of multiple-quantum-well solar cells including capture, escape, and recombination of photoexcited carriers in quantum wells
[14]
논문
Nanoparticle-induced light scattering for improved performance of quantum-well solar cells
[15]
서적
Quantum Wells, Superlattices, and Band-Gap Engineering
Springer International Publishing
2017
[16]
논문
Quantum well solar cells
1997-04-01
[17]
논문
Ideal theory of quantum well solar cells
1995-04-13
[18]
논문
Energy band-gap shift with elastic strain in GaxIn1−xP epitaxial layers on (001) GaAs substrates
[19]
논문
Material parameters of In1−xGaxAsyP1−yand related binaries
[20]
서적
Quantum Wells, Wires and Dots
John Wiley & Sons, Ltd
2006-01-27
[21]
논문
Germanium-Gallium Arsenide Heterojunctions [Letter to the Editor]
[22]
논문
Steady-state carrier escape from single quantum wells
1993-06-01
[23]
간행물
Pathways to 40%-efficient concentrator photovoltaics
2005-06-01
[24]
논문
100-period, 1.23-eV bandgap InGaAs/GaAsP quantum wells for high-efficiency GaAs solar cells: Toward current-matched Ge-based tandem cells
[25]
논문
Investigations on AlxGa1−xAs Solar Cells Grown by MOVPE
https://publica.frau[...]
[26]
논문
Enhanced Current Collection in 1.7 eV GaInAsP Solar Cells Grown on GaAs by Metalorganic Vapor Phase Epitaxy
[27]
논문
100-period InGaAsP/InGaP superlattice solar cell with sub-bandgap quantum efficiency approaching 80%
본 사이트는 AI가 위키백과와 뉴스 기사,정부 간행물,학술 논문등을 바탕으로 정보를 가공하여 제공하는 백과사전형 서비스입니다.
모든 문서는 AI에 의해 자동 생성되며, CC BY-SA 4.0 라이선스에 따라 이용할 수 있습니다.
하지만, 위키백과나 뉴스 기사 자체에 오류, 부정확한 정보, 또는 가짜 뉴스가 포함될 수 있으며, AI는 이러한 내용을 완벽하게 걸러내지 못할 수 있습니다.
따라서 제공되는 정보에 일부 오류나 편향이 있을 수 있으므로, 중요한 정보는 반드시 다른 출처를 통해 교차 검증하시기 바랍니다.
문의하기 : help@durumis.com