슈트케이스
"오늘의AI위키"의 AI를 통해 더욱 풍부하고 폭넓은 지식 경험을 누리세요.
1. 개요
슈트케이스는 19세기 말에 등장하여 정장을 구겨지지 않게 운반하기 위한 수하물로, 현재는 여행 시 짐을 운반하는 데 사용되는 가방을 통칭한다. 1970년대 바퀴와 손잡이가 달린 캐리어가 발명되면서 사용이 더욱 편리해졌으며, 2010년대에는 GPS, 지문 스캐너 등 기술이 탑재된 스마트 캐리어가 등장했다. 슈트케이스는 잠금 방식, 재질, 기능 등에 따라 다양한 종류가 있으며, 한국에서는 바퀴 달린 여행 가방을 '캐리어'라고 부른다.
더 읽어볼만한 페이지
- 여행 장비 - 여행자 수표
여행자 수표는 해외여행 중 현금 소지의 위험을 줄이기 위해 고안된 수표로, 구매자가 서명한 후 물건 구매 시 판매자 앞에서 재서명하여 본인 확인을 거치는 방식으로 사용되었으나, 신용카드 및 모바일 결제 확산으로 쇠퇴하여 대한민국에서는 더 이상 찾아볼 수 없다. - 여행 장비 - 가이드북
가이드북은 특정 장소나 지역 정보를 여행자에게 제공하는 출판물로, 고대 페리플루스에서 시작하여 헬레니즘 시대 페리에게시스, 중세 아랍의 유물 가이드, 중국 송나라 시대 여행 문학을 거쳐 서양의 그랜드 투어 경험의 영향을 받아 19세기 머레이와 베데커에 의해 현대적 형태를 갖추었으며, 20세기 이후 다양한 출판사와 디지털 시대를 맞아 온라인 및 인터랙티브 가이드로 진화하고 있다. - 수하물 - 리모와
1898년 독일 쾰른에서 시작된 리모와는 듀랄루민, 폴리카보네이트 소재, 리브 디자인, 멀티휠 시스템, TSA 승인 잠금 장치 등 혁신적인 기능을 사용하여 가볍고 튼튼한 여행 가방을 생산하는 회사로, LVMH 그룹 인수 후 다양한 협업을 통해 브랜드 이미지를 강화하고 있다. - 수하물 - 서류가방
서류 가방은 서류나 소지품 운반용 가방으로, 14세기 가방에서 유래하여 1850년대 직사각형 형태로 발전했으며, 다양한 종류와 재료로 만들어져 현대에는 직장인의 상징이자 패션 아이템으로 변화하고 있다.
2. 역사
현대적인 의미의 슈트케이스, 즉 트롤리 케이스(캐리어)는 바닥에 작은 바퀴가 달려 있어 무거운 짐을 쉽게 운반할 수 있도록 만들어졌다.
19세기 말, 대중 관광이 인기를 얻으면서 여행이 비엘리트층에게도 확산되었고, 더 실용적인 수하물이 필요해졌다. 이 시기에 정장을 구겨지지 않게 운반하기 위한 "슈트케이스"가 처음 등장했다.[27] 초기 슈트케이스는 영국 사업가들이 상품과 의류 운반을 위해 발명했으며,[4] 트렁크를 본떠 나무나 강철 프레임에 가죽, 고무 천, 등나무 등을 씌우고 가죽이나 황동 캡으로 모서리를 마감했다. 손잡이는 긴 쪽에 달아 트렁크와 차별화했다.[4] 초기에는 수하물 회사들이 트렁크와 함께 제조하다가, 나중에는 샘소나이트(Samsonite)와 같은 회사가 등장했다.[5]
1938년 미국에서 위탁 수하물 무게 제한(약 18.14kg)이 설정되면서,[2] 1930년대와 1940년대에는 가벼운 플라스틱 및 판지 슈트케이스가 무거운 가죽 모델을 대체했다.[2][3] 독일 회사 리모와(Rimowa)는 최초의 알루미늄 슈트케이스를 제작했고, 1950년에는 융커스 Ju 52 비행기에서 영감을 받은 홈이 있는 디자인으로 판매했다.[5]
1970년, 버나드 D. 새도우(Bernard D. Sadow)는 바퀴와 끈이 달린 캐리어를 발명하여 특허를 받았다.[8] 1987년, 노스웨스트 항공 조종사 로버트 플래스(Robert Plath)는 두 개의 바퀴와 손잡이가 달린 수직형 캐리어인 '롤라보드(Rollaboard)'를 발명했다.[13] 1990년대 중반부터 Travelpro가 롤라보드를 상업적으로 판매하기 시작했고,[16] 1993년경부터는 다른 여행 가방 회사들이 롤라보드를 모방하면서 새도우의 디자인을 대체했다.[14][13][18]
2000년대 들어 샘소나이트는 4개의 바퀴로 어느 방향이든 움직이고 회전할 수 있는 "스피너 스타일" 캐리어를 판매하기 시작했다.[5] 2010년대에는 GPS 추적, 내장형 저울, 원격 잠금 등의 기능이 있는 스마트 수트케이스가 등장했다.[27][22]
2. 1. 19세기 이전
1153년 십자군 시대에 무기를 운반하기 위해 바퀴 달린 수하물이 개발되었다.[2] 1596년 옥스퍼드 영어 사전에 "luggage"라는 단어가 "불편하게 무거운 수하물"을 뜻하는 말로 추가되었다.[27] 슈트케이스가 발명되기 전에는 대부분 나무와 가죽으로 만든 트렁크가 수하물로 사용되었으며, 트렁크에는 철제 받침대가 있었고 캔버스나 나무 수액을 사용하여 방수 처리되었다. 18세기 그랜드 투어 동안 유럽 엘리트들의 하인들이 이러한 트렁크를 옮겨야 했는데, 당시 여행은 주로 부유층의 전유물이었기 때문이다.[3]2. 2. 19세기 말 ~ 20세기 중반
대중 관광이 인기를 얻고 철도와 크루즈 선박으로 인해 여행이 비엘리트층에게도 접근 가능해지면서, 더 실용적인 수하물의 필요성이 증가했다. 19세기 말에 정장을 구겨지지 않게 운반하기 위한 "슈트케이스"라고 알려진 최초의 수하물이 등장했다.[27] 초기 슈트케이스 모델은 상품과 의류를 운반하는 데 사용한 영국 사업가들이 발명했다.[4] 이들은 트렁크를 모델로 하여 나무 또는 강철로 만들어진 평평하고 단단한[28] 프레임 위에 가죽, 고무 재질의 천 또는 등나무를 씌우고 모서리에 가죽 또는 황동 캡을 씌우고 긴 쪽에 손잡이를 달아, 두 개의 짧은 쪽에 손잡이가 있는 트렁크와 차별화했다.[4] 일반적으로 안쪽에 셔츠를 위한 칸과 모자 상자가 있었다.[3] 슈트케이스는 처음에는 수하물 회사에서 트렁크와 함께 제조되기 시작했는데, 나중에는 샘소나이트(Samsonite)로 이름을 바꾼 Shwayder Trunk Manufacturing Company가 그 예이다.[5]가벼운 슈트케이스는 주로 처음에는 여성을 대상으로 판매되었다. 1938년 미국에서 위탁 수하물에 대한 약 18.14kg의 중량 제한이 설정되면서, 1930년대와 1940년대에는 무거운 가죽 모델의 슈트케이스가 더 가벼운 플라스틱 및 판지 슈트케이스로 대체되었다.[2][3] 독일 수하물 회사 리모와(Rimowa)는 최초의 알루미늄 슈트케이스를 제작했으며, 1950년에 융커스 Ju 52 비행기에서 영감을 받은 홈이 있는 디자인으로 판매하기 시작했다.[5]
2. 3. 1970년대 ~ 2000년대: 바퀴 달린 캐리어의 등장
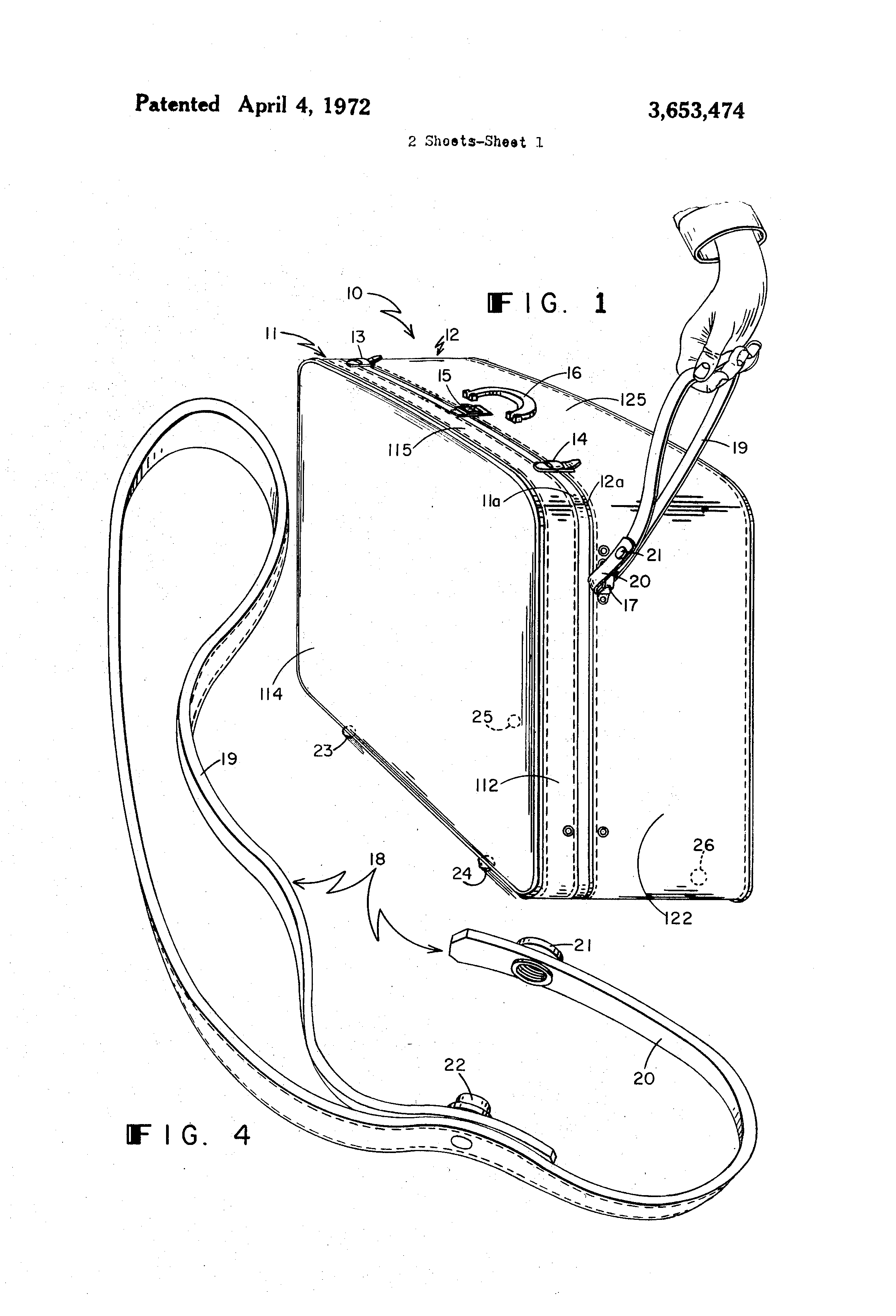
1970년, 버나드 D. 새도우(Bernard D. Sadow)는 바퀴와 끈이 달린 캐리어를 발명하여 특허를 받았다.[8] 그는 아루바 가족 휴가를 마치고 푸에르토 리코 공항에서 여행 가방 두 개를 들고 가던 중, 작업자가 바퀴 달린 플랫폼에 무거운 기계를 굴리는 것을 보고 아이디어를 얻었다.[8] 새도우는 여행 가방에 캐스터를 부착하고 뒤에서 끌 수 있는 끈을 달았다.[8] 새도우는 1972년에 "바퀴 달린 여행 가방"에 대한 특허 번호 3,653,474를 받았다.[9]
1987년, 노스웨스트 항공의 747 조종사였던 로버트 플래스(Robert Plath)는 두 개의 바퀴와 손잡이가 달린 수직형 캐리어인 '롤라보드(Rollaboard)'를 발명했다.[13] 그는 스칸디나비아에서 기착하는 동안 호텔에서 승객들이 수하물 카트에서 고무 밴드로 묶인 가방을 꺼내느라 고생하는 모습을 보면서 이 아이디어를 떠올렸다.[16] 처음에는 롤라보드를 동료 조종사 및 객실 승무원에게만 판매했지만,[16] 1990년대 중반에 Travelpro는 소매점에서 롤라보드를 상업적으로 판매하기 시작했다.[16]
1993년경부터 롤라보드는 다른 여행 가방 회사들이 널리 모방하기 시작하면서[14] 사도우의 디자인이 거의 완전히 대체되었다.[13][18] 퀸스 플러싱 출신의 디자이너 돈 쿠(Don Ku)는 1993년에 확장 가능한 손잡이가 달린 캐리어를 발명하고 특허를 받았다.[19][20]
2000년대 들어 샘소나이트(Samsonite)는 4개의 바퀴가 달려 어느 방향으로든 움직이고 회전할 수 있는 최초의 "스피너 스타일" 캐리어를 판매하기 시작했다.[5]

2. 4. 2010년대 이후: 스마트 캐리어
2010년대에는 GPS 추적, 내장형 저울, 원격 잠금 등의 기술적 기능이 내장된 스마트 수트케이스가 인기를 얻었다.[27][22] 이러한 기능에는 내부 추적, 지리 정보, 지문 스캐너, 기기 충전, 저울, GPS 기능, 터치 스위치, 원격 잠금, 컴퓨터 비전 등이 있다.[23] Away, Arlo Skye, Ovis와 같은 회사들이 주로 스마트 수하물을 판매한다.[18] 대부분의 스마트 수트케이스는 리튬 이온 배터리로 작동한다.[22]
스마트 수트케이스의 리튬 이온 배터리가 비행기 화물칸에서 폭발하여 화재가 발생한 후, 국제 항공 운송 협회(IATA)는 이 배터리를 "위험물"로 분류했다. 2017년 5월, IATA는 약 275개 회원사(예: 유나이티드 항공, 제트블루 항공, 버진 애틀랜틱 항공)에 탈착 불가능한 배터리를 장착한 스마트 수트케이스에 대한 제한을 권고하는 내용을 발표했다.[24] 아메리칸 항공, 알래스카 항공, 델타 항공 등 미국 기반 항공사들은 2017년 말과 2018년 초에 탈착 불가능한 배터리가 장착된 스마트 수하물의 위탁 수하물 운송을 금지했으며, 영국의 민간 항공국은 2018년에 유사한 금지를 권고했다.[22][25] Bluesmart와 같은 스마트 수트케이스 회사들은 이러한 금지 조치로 인해 폐업했다.[21]
3. 종류
잠금 방식에 따라 프레임 타입과 지퍼 타입으로 나뉜다. 프레임 타입은 충격을 프레임이 흡수해주는 특성이 있는 반면, 지퍼 타입은 충격이 내부로 전달되기 쉽다.[1]
4. 한국과 일본에서의 캐리어
한국에서는 바퀴 달린 여행 가방을 '캐리어'라고 부르는데, 이는 '트롤리 케이스(trolley case)'를 잘못 칭하는 한국어식 영어이다.[1]
보통 슈트케이스는 무거운 짐을 쉽게 운반할 수 있도록 바닥에 작은 바퀴가 달려 있고, 신축 가능한 손잡이나 가죽 끈이 달려 있어 항공기 여행 시에 많이 사용된다.[1] 트롤리 케이스는 사용 시 나는 소리 때문에 '''코로코로''' 또는 '''가라가라'''라고도 불린다.[1]
일본에서도 캐리어를 끌 때 나는 소리 때문에 '코로코로' 또는 '가라가라'라고 부르기도 한다.
4. 1. 한국
한국에서는 바퀴 달린 여행 가방을 '캐리어'라고 부르는데, 이는 '트롤리 케이스(trolley case)'를 잘못 칭하는 한국어식 영어이다.[1]보통 슈트케이스는 무거운 짐을 쉽게 운반할 수 있도록 바닥에 작은 바퀴가 달려 있고, 신축 가능한 손잡이나 가죽 끈이 달려 있어 항공기 여행 시에 많이 사용된다.[1] 트롤리 케이스는 사용 시 나는 소리 때문에 '''코로코로''' 또는 '''가라가라'''라고도 불린다.[1]
4. 2. 일본
일본에서는 캐리어를 끌 때 나는 소리 때문에 '코로코로' 또는 '가라가라'라고 부르기도 한다.일본 각지의 공항에서는 외국인 관광객이 버리고 간 여행 가방 처리가 문제가 되고 있다. 일본에서 많은 쇼핑을 하는 관광객은 가져온 여행 가방에 짐이 다 들어가지 않으면 새 여행 가방을 구입한다. 그러나 공항에서 짐을 맡길 때 무게 초과 요금이 부과된다는 것을 알고 낡은 여행 가방을 공항에 버리고 간다. 오사카 만국 박람회를 앞두고 관광객은 더욱 증가할 것으로 예상되지만, 처리하기 곤란한 여행 가방이 공항에 버려지는 사례를 어떻게 줄일지가 문제로 대두되고 있다.[32][33]
5. 기타
최근 슈트케이스에는 미국 교통안전청(TSA)에서 보안 검사 시 자물쇠를 파손하지 않고 열 수 있도록 고안된 TSA 락이 장착되는 경우가 많다. 또한, 전동 캐리어는 대한민국 도로교통법상 "일반 원동기 부착 자전거"로 분류되어 면허가 필요하며, 공도 주행을 위한 추가적인 안전 기준을 충족해야 한다.[1] 1970년 버나드 D. 새도우에 의해 바퀴 달린 슈트케이스가 발명된 이후, 슈트케이스는 다양한 기능을 가진 형태로 발전해왔다.
5. 1. TSA 락
미국 교통안전청(TSA)은 보안을 위해 슈트케이스 자물쇠를 잠그지 않도록 권고한다. 잠근 경우 자물쇠를 파괴하고 검사할 수 있다. TSA 락은 소유자와 TSA 직원만 열 수 있는 특수 잠금장치로, TSA 락이 있는 슈트케이스는 잠근 채 위탁 수하물로 보낼 수 있다. 따라서 최근 슈트케이스에는 TSA 락이 장착되는 경우가 많다.5. 2. 전동 캐리어
전동식 여행 가방은 모터로 주행하며 사람이 이동할 목적으로 만들어진 것으로, 도로교통법상 "일반 원동기 부착 자전거"(원동기 바이크)로 분류된다.[1] 따라서 주행하려면 면허가 필요하다.[1] 면허가 있더라도 공도를 주행하려면 미러, 헤드라이트 등을 갖추고 번호판 취득, 자배책 보험 가입이 필요하다.[1] 전동식 여행 가방은 이러한 보안 기준을 충족하지 못하여 공도를 주행할 수 없다.[1]6. 주요 브랜드
참조
[1]
웹사이트
suitcase
https://dictionary.c[...]
2022-12-02
[2]
웹사이트
From the Crusades to robotic cases, the surprisingly interesting 1,000-year history of luggage
https://www.telegrap[...]
2018-09-28
[3]
웹사이트
The History of the Humble Suitcase
https://www.smithson[...]
2014-05-09
[4]
웹사이트
Luggage Through the Ages
https://www.theatlan[...]
1986-06-01
[5]
웹사이트
The history of luggage
https://www.foxnews.[...]
2015-03-24
[6]
웹사이트
How Gender Bias Inhibits Progress and What Leaders Can Do About It
https://msmagazine.c[...]
2021-08-18
[7]
웹사이트
Mystery of the wheelie suitcase: how gender stereotypes held back the history of invention
http://www.theguardi[...]
2021-06-24
[8]
웹사이트
The Suitcase With Wheels Turns 40
https://abcnews.go.c[...]
2010-10-01
[9]
특허
Rolling luggage
1972-04-04
[10]
웹사이트
Happy anniversary, wheeled luggage!
http://www.cnn.com/2[...]
2010-10-04
[11]
웹사이트
7 brilliant inventions that changed travel
https://www.national[...]
2018-10-24
[12]
웹사이트
'Rollerboard' Or 'Rollaboard': What's The Correct Term For A Suitcase?
https://www.huffpost[...]
2022-04-27
[13]
뉴스
Reinventing the Suitcase by Adding the Wheel
https://www.nytimes.[...]
2010-10-04
[14]
웹사이트
Rollaboard luggage celebrates a wheelie big birthday
https://abcnews.go.c[...]
2022-08-16
[15]
웹사이트
Rolling Luggage Takes a Load Off Travelers
https://www.chicagot[...]
1994-07-18
[16]
웹사이트
Success in the Bag for Pilot-Entrepreneur
https://www.orlandos[...]
1993-10-31
[17]
웹사이트
Behind the scenes at Travelpro luggage lab
https://www.fox13new[...]
2016-11-22
[18]
웹사이트
30 Years Ago, One Suitcase Changed Everything
https://www.cntravel[...]
2017-09-22
[19]
뉴스
Luggage through the ages
https://www.washingt[...]
2011-06-15
[20]
웹사이트
From the Crusades to robotic cases, the surprisingly interesting 1,000-year history of luggage
https://www.telegrap[...]
2018-09-28
[21]
웹사이트
Bluesmart shuts down after airlines ban smart luggage
https://www.theverge[...]
2018-05-01
[22]
웹사이트
Airlines Restrict 'Smart Luggage' Over Fire Hazards Posed By Batteries
https://www.npr.org/[...]
2017-12-06
[23]
웹사이트
Next-level luggage: Smart suitcases are here and we want every one
https://www.cbc.ca/l[...]
2018-01-04
[24]
뉴스
With 'smart' luggage, if you can't remove the lithium battery, consider it grounded
https://www.inquirer[...]
2018-01-23
[25]
웹사이트
Why your 'smart' luggage could get you kicked off a plane
https://www.telegrap[...]
2022-09-16
[26]
서적
Iconix: Exceptional Product Design
https://books.google[...]
Simon and Schuster
2018-11-20
[27]
웹사이트
A Brief History of the Modern Suitcase
https://www.travelan[...]
2016-12-08
[28]
웹사이트
The Golden Age of Travel and the History of Luggage Tags
https://www.barnebys[...]
2021-12-20
[29]
웹사이트
10 best travel inventions of all time
https://abcnews.go.c[...]
2012-03-08
[30]
웹사이트
What was life like before luggage had wheels?
https://www.theguard[...]
2014-07-19
[31]
웹사이트
ガイド解説|失敗しないスーツケースの選び方2ステップ+αとは
https://sekai-sanpo.[...]
2020-06-16
[32]
웹사이트
中国人たちが日本の空港で捨てる「スーツケース」が問題になっているらしい
http://news.searchin[...]
モーニングスター
2018-05-17
[33]
문서
スーツケースを正しく梱包する方法
https://cars-scanner[...]
[34]
웹사이트
電動スーツケースは「原付き」扱い でも、公道を走ると違法 なぜ?:朝日新聞デジタル
https://digital.asah[...]
朝日新聞
2024-09-16
본 사이트는 AI가 위키백과와 뉴스 기사,정부 간행물,학술 논문등을 바탕으로 정보를 가공하여 제공하는 백과사전형 서비스입니다.
모든 문서는 AI에 의해 자동 생성되며, CC BY-SA 4.0 라이선스에 따라 이용할 수 있습니다.
하지만, 위키백과나 뉴스 기사 자체에 오류, 부정확한 정보, 또는 가짜 뉴스가 포함될 수 있으며, AI는 이러한 내용을 완벽하게 걸러내지 못할 수 있습니다.
따라서 제공되는 정보에 일부 오류나 편향이 있을 수 있으므로, 중요한 정보는 반드시 다른 출처를 통해 교차 검증하시기 바랍니다.
문의하기 : help@durumis.com
