맨위로가기

중공축 평행카르단 구동방식

"오늘의AI위키"는 AI 기술로 일관성 있고 체계적인 최신 지식을 제공하는 혁신 플랫폼입니다.
"오늘의AI위키"의 AI를 통해 더욱 풍부하고 폭넓은 지식 경험을 누리세요.

1. 개요

중공축 평행 카르단 구동 방식은 철도 차량의 동력 전달 방식 중 하나로, 주 전동기를 차륜에 평행하게 배치하고 전기자 축을 중공축으로 하여 그 안에 토션 샤프트를 통과시키는 구조이다. 이 방식은 대차 틀에 주 전동기와 기어 장치를 지지하여 스프링 하 질량을 줄여 승차감을 향상시키고 궤도 충격을 감소시키는 장점이 있다. 일본에서 협궤 철도에 널리 사용되었으나, VVVF 인버터 제어와 유도 전동기의 보급으로 인해 최근에는 채용 사례가 감소했다. 일본에서는 도요 전기 제조가 최초로 실용화했으며, 한국에서는 관련 정보가 별도로 기술되어 있지 않다.

2. 구조 및 원리

주 전동기는 대차 틀에 지지되어 차륜과 평행하게 배치되며, 전기자 축은 굵은 중공축으로 되어 있다. 중공축 양 끝에는 플렉시블 디스크 커플링이 부착되고, 중공축 내부에는 하나의 구동축(토션 샤프트)이 관통한다. 동력은 중공축, 플렉시블 디스크 커플링, 구동축, 피니언 기어를 거쳐 전달된다.[1]

출력축은 피니언 기어 반대쪽에서 나오도록 하여 토션 샤프트의 유효 길이를 확보하고, 차량의 상하 운동이 심한 고속 주행 시에도 큰 힘을 부드럽게 전달할 수 있도록 한다. 주 전동기와 기어 장치는 모두 대차 틀에 지지되어 스프링 하 질량을 줄임으로써 레일이나 대차에 가해지는 충격을 감소시킨다.

중공축을 사용하기 때문에 모터 직경이 커지는 단점이 있지만, WN 구동 방식에 비해 축 방향 치수를 짧게 할 수 있어 협궤 철도에서 큰 출력을 내는 모터를 탑재하는 데 유리했다.

2. 1. 핵심 구성 요소

브라운 보베리에서 개발한 디스크 드라이브


주 전동기는 대차 틀에 지지되어 있으며, 차륜에 평행하게 배치된다. 주 전동기의 전기자 축은 굵은 중공축으로 되어 있고, 이 중공축 양 끝에는 플렉시블 디스크 커플링이 장착되어 있다. 중공축 안에는 하나의 구동축 (토션 샤프트)이 통과하는 구조이다. 동력은 중공축 → 주 전동기 출력축 반대쪽 플렉시블 디스크 커플링 → 중공축 안의 구동축 → 주 전동기 출력축 측 플렉시블 디스크 커플링 → 피니언 기어 순서로 전달된다.

출력축을 피니언 기어 반대쪽에서 내보내면 토션 샤프트의 유효 길이를 확보할 수 있다. 또한 토션 샤프트의 이동 각도를 작게 억제하면서도 커플링 전체로는 충분한 변위량을 확보할 수 있어, 차량의 상하 운동이 커지는 고속 주행 시에도 부드럽게 큰 힘을 전달할 수 있다. 주 전동기와 기어 장치는 모두 대차 틀에 지지되어[1] 그 무게가 대차의 축 스프링을 통해 차륜에 걸리기 때문에, 스프링 하 질량이 작아져 레일이나 대차에 대한 충격이 줄어든다.

중공축을 통과시켜야 하기 때문에 모터의 직경은 커지지만, WN 구동 방식에 비해 축 방향의 치수를 짧게 할 수 있다. 따라서 개발 당시에는 특히 협궤 철도에 출력이 큰 모터를 탑재하는 경우에 적합했다.

2. 2. 작동 원리



주 전동기는 차륜에 평행하게 배치되어 대차 틀에 지지되어 있으며, 주 전동기의 전기자 축을 굵은 중공축으로 하고, 그 양단에 플렉시블 디스크 커플링을 장착한다. 중공축 안에는 하나의 구동축 (토션 샤프트라고 함)을 통과시키는 구조로 되어 있다. 동력은 중공축 → 주 전동기 출력축 반대쪽 플렉시블 디스크 커플링 → 중공축 안의 구동축 → 주 전동기 출력축 측 플렉시블 디스크 커플링 → 피니언 기어 순서로 전달된다.

출력축을 피니언 기어 반대쪽에서 내보냄으로써 토션 샤프트의 유효 길이를 확보할 수 있다. 또한 토션 샤프트의 이동 각도를 작게 억제하면서 커플링 전체로는 충분한 변위량을 확보할 수 있으므로, 차량의 상하 운동이 커지는 고속 주행 시에도 부드럽게 큰 힘을 전달할 수 있다. 주 전동기와 기어 장치는 모두 대차 틀에 지지되어[1], 그 무게가 대차의 축 스프링을 통해 차륜에 걸리기 때문에 스프링 하 질량이 작아져 레일이나 대차에 대한 충격이 줄어든다.

중공축을 통과시키기 때문에 모터의 직경은 커지지만, WN 구동 방식에 비해 축 방향의 치수를 짧게 할 수 있으므로, 개발 당시에는 특히 협궤 철도에 출력이 큰 모터를 탑재하는 경우에 적합했다.

3. 장점 및 특징

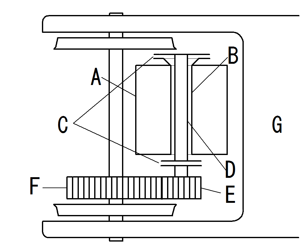
중공축 평행 카르단 구동 방식을 위에서 본 모형도. A: 모터 (대차 틀에 지지), B: 중공축 (전기자 축), C: 플렉시블 디스크 커플링, D: 토션 샤프트, E: 피니언 기어, F: 링 기어


주 전동기는 차륜에 평행하게 배치되어 대차 틀에 지지되어 있으며, 주 전동기의 전기자 축을 굵은 중공축으로 하고, 그 양단에 플렉시블 디스크 커플링을 장착한다. 중공축 안에는 하나의 구동축 (토션 샤프트)을 통과시키며, 동력은 중공축 → 주 전동기 출력축 반대쪽 플렉시블 디스크 커플링 → 중공축 안의 구동축 → 주 전동기 출력축 측 플렉시블 디스크 커플링 → 피니언 기어로 전달된다.[1]

3. 1. 장점

주 전동기와 기어 장치는 모두 대차 틀에 지지되어[1], 그 무게가 대차의 축 스프링을 통해 차륜에 걸리기 때문에 스프링 하 질량이 작아져 레일이나 대차에 대한 충격이 줄어든다. 따라서 궤도와 대차에 가해지는 충격이 줄어들어 승차감 향상 및 궤도 유지보수 비용 절감에 기여한다.

출력축을 피니언 기어 반대쪽에서 내보냄으로써 토션 샤프트의 유효 길이를 확보할 수 있으며, 토션 샤프트의 이동 각도를 작게 억제하면서 커플링 전체로는 충분한 변위량을 확보할 수 있다. 따라서 차량의 상하 운동이 커지는 고속 주행 시에도 부드럽게 큰 힘을 전달할 수 있다.

중공축을 통과시키기 때문에 모터의 직경은 커지지만, WN 구동 방식에 비해 축 방향의 치수를 짧게 할 수 있다. 따라서 개발 당시에는 특히 협궤 철도에 출력이 큰 모터를 탑재하는 경우에 적합했다.

3. 2. 특징



주 전동기는 차륜에 평행하게 배치되어 대차 틀에 지지되어 있으며, 주 전동기의 전기자 축을 굵은 중공축으로 하고, 그 양단에 플렉시블 디스크 커플링을 장착하여, 중공축 안에 하나의 구동축 (토션 샤프트)을 통과시키는 구조로 되어 있다. 동력은 중공축 → 주 전동기 출력축 반대쪽 플렉시블 디스크 커플링 → 중공축 안의 구동축 → 주 전동기 출력축 측 플렉시블 디스크 커플링 → 피니언 기어로 전달된다.

출력축을 피니언 기어 반대쪽에서 내보냄으로써 토션 샤프트의 유효 길이를 확보할 수 있으며, 토션 샤프트의 이동 각도를 작게 억제하면서 커플링 전체로는 충분한 변위량을 확보할 수 있으므로, 차량의 상하 운동이 커지는 고속 주행 시에도 부드럽게 큰 힘을 전달할 수 있다. 주 전동기와 기어 장치는 모두 대차 틀에 지지되어[1], 그 무게가 대차의 축 스프링을 통해 차륜에 걸리기 때문에, 스프링 하 질량이 작아져 레일이나 대차에 대한 충격이 줄어든다.

중공축을 통과시키기 때문에 모터의 직경은 커지지만, WN 구동 방식에 비해 축 방향의 치수를 짧게 할 수 있으므로, 개발 당시에는 특히 협궤 철도에 출력이 큰 모터를 탑재하는 경우에 적합했다.

4. 일본에서의 도입 및 발전

중공축 평행 카르단 구동 방식의 150kW 직류 직권 전동기. 중실의 출력축(비틀림축)에 휨판 이음새가 장착된 상태이며, 전기자 측의 중공축과는 중심이 어긋나 있다.


중공축 평행 카르단 구동 방식의 차륜. 차륜 이외의 스프링 하 질량은 대형 기어와 감속기의 일부에 불과하며, 매달린 구동 방식에 비해 매우 작다.


도요 전기 제조는 일본 최초로 가요성 이음새를 사용한 두 종류의 평행 구동 장치(브라운 보베리의 디스크 방식에서 힌트를 얻은 휨판에 의한 중공축 카르단과 WN 이음새와 유사한 중실축 치형 이음새)를 개발했다.

1954년에는 세계 최초로 1,067mm 협궤용 휨판 이음새식 중공축 카르단 구동 장치를 나고야 철도난카이 전기 철도에 납품했고, 같은 해 니시닛폰 철도 후쿠오카 시내선의 1000형에 채용되었다.

4. 1. 초기 도입 및 시험

도요 전기 제조는 일본 최초로 가요성 이음새를 사용한 두 종류의 평행 구동 장치(브라운 보베리의 디스크 방식에서 힌트를 얻은 휨판에 의한 중공축 카르단과 WN 이음새와 유사한 중실축 치형 이음새)를 1952년 11월 게이한신 급행 전철(현 한큐 전철) 교토선 751에서 현차 시험을 실시했다.[2] 이 시험 결과를 바탕으로, 1953년 6월에 완성된 게이한 전기 철도 1800형 1801용으로 최초의 실용 중공축 평행 카르단 구동 장치 1세트를 납품했다. 구동 기구는 주전동기 쪽에 완충 고무와 치형 이음새, 피니언 기어 쪽에 휨판 이음새를 사용했다.[3]

4. 2. 실용화 및 보급

1954년 나고야 철도, 난카이 전기 철도, 니시닛폰 철도 등에서 1,067mm 협궤용 및 노면 전차용으로 채택되었다. 1957년 일본국유철도 (국철) 101계 전동차에 채용되면서 협궤 철도 사업자를 중심으로 널리 보급되었다.[2]

4. 3. 기술 발전 및 한계

1957년 일본국유철도(국철) 모하 90계의 구동 장치로 채용되었다. 미쓰비시 전기미국 기업 웨스팅하우스 일렉트릭의 라이센시로서 제조한 WN 구동 방식에 비해, 축 방향의 치수를 최소로 할 수 있어 공간 효율이 우수하고, 기어 박스와 주전동기의 전기자 축의 상대 위치 변동 폭을 크게 할 수 있어, 열악한 궤도 조건에서의 추종성이 우수하여 협궤 철도 사업자를 중심으로 보급되었다. 이 구동 방식에서는 휨판의 피로파괴가 문제가 되었지만, 1970년 소부 완행선을 주행하던 101계 전차[2]에서 휨판 파손이 발생하여, 파손된 휨판에 의해 제어선이 단락되는 폭주 사고로까지 발전했다(사상자 없음). 그 후 휨판은 전수 교환되어 유사한 문제는 거의 없어졌다[3]

이후 휨판 이음새를 2개 조합한 TD (Twin Disc) 이음새와 중실축 주전동기를 사용하는 "TD 평행 카르단 구동 방식"이 개발되었다. 한편 VVVF 인버터 제어와 유도 전동기의 조합이 보급되면서 주전동기 소형화가 추진되어, 중공축 평행 카르단 구동 방식의 우위성은 상대적으로 저하되었다. 따라서 최근 신형식 전차에서 본 방식을 채용하는 예는 거의 찾아볼 수 없게 되었다.

5. 채용 철도 사업자

중공축 평행 카르단 구동방식은 일본에서 개발되어 널리 사용되었으며, 한국에도 도입되었다.

국가철도 회사차량
일본도쿄 급행 전철(현 도큐, 철도 사업은 도큐 전철로 분사)
도부 철도
게이오 전철 (현 게이오 전철)
게이힌 급행 전철
게이세이 전철
세이부 철도
오다큐 전철3000형, 3100형
이즈하코네 철도3000계
시즈오카 철도1000형
엔슈 철도1000형
나고야 철도
게이한 전기 철도
난카이 전기 철도도요 전기 제조제 주전동기 차량의 11001계(협궤용으로는 일본 최초), 20001계, 21001계
한카이 전기 궤도
한신 전기 철도
한큐 전철교토선의 초대 1300계, 2300계, 2800계, 3300계
니시닛폰 철도
후쿠이 철도
도야마 지방 철도
일본국유철도(국철)207계 900번대는 TD 평행 카르단 구동 방식
홋카이도 여객철도(JR 홋카이도)721계
일본동일본 여객철도(JR 동일본)
도카이 여객철도(JR 도카이)211계, 213계, 311계, 371계
서일본 여객철도(JR 서일본)205계 1000번대, 211계 쿠모로211・모로210형(폐차), 213계 증비차, 221계. 207계 이후의 VVVF 인버터 차는 일부 예외[4]를 제외하고 WN 구동 방식
규슈 여객철도(JR 규슈)
일본요코하마시 교통국
후쿠오카시 교통국1000계, 2000계


5. 1. 일본

도요 전기 제조가 일본 최초로 가요성 이음새를 사용한 평행 구동 장치 2종류를 개발, 1952년 11월 게이한신 급행 전철(현 한큐 전철)에서 현차 시험을 실시했다. 이 시험 결과를 바탕으로 1953년 6월 게이한 전기 철도 1800형 1801용으로 최초의 실용 중공축 평행 카르단 구동 장치를 납품했다. 1954년에는 세계 최초로 1,067mm 협궤용 휨판 이음새식 중공축 카르단 구동 장치를 나고야 철도난카이 전기 철도에 납품했고, 같은 해 니시닛폰 철도 후쿠오카 시내선 1000형에 채용되었다.

1957년에는 일본국유철도(국철) 모하 90계의 구동 장치로 채용되었다. 미쓰비시 전기미국 웨스팅하우스 일렉트릭의 라이선시로 제조한 WN 구동 방식에 비해 공간 효율이 우수하고 열악한 궤도 조건에서의 추종성이 뛰어나 협궤 철도 사업자를 중심으로 보급되었다. 1970년 휨판 파손으로 인한 폭주 사고가 발생했지만, 이후 휨판 전수 교환으로 유사 문제는 거의 없어졌다.[2][3]

이후 휨판 이음새를 2개 조합한 TD 이음새와 중실축 주전동기를 사용하는 "TD 평행 카르단 구동 방식"이 개발되었다. VVVF 인버터 제어와 유도 전동기의 조합이 보급되면서 주전동기가 소형화되어 중공축 평행 카르단 구동의 우위성은 상대적으로 저하되어, 최근 신형식 전차에서는 채용 사례를 찾아보기 어렵게 되었다.

중공축 평행 카르단 구동방식을 채택한 일본 철도 회사 및 차량은 다음과 같다.

철도 회사차량
도쿄 급행 전철(현 도큐, 철도 사업은 도큐 전철로 분사)
도부 철도
게이오 전철 (현 게이오 전철)
게이힌 급행 전철
게이세이 전철
세이부 철도
오다큐 전철3000형, 3100형
이즈하코네 철도3000계
시즈오카 철도1000형
엔슈 철도1000형
나고야 철도
게이한 전기 철도
난카이 전기 철도도요 전기 제조제 주전동기 차량의 11001계(협궤용으로는 일본 최초), 20001계, 21001계
한카이 전기 궤도
한신 전기 철도
한큐 전철교토선의 초대 1300계, 2300계, 2800계, 3300계
니시닛폰 철도
후쿠이 철도
도야마 지방 철도
일본국유철도(국철)207계 900번대는 TD 평행 카르단 구동 방식
홋카이도 여객철도(JR 홋카이도)721계
동일본 여객철도(JR 동일본)
도카이 여객철도(JR 도카이)211계, 213계, 311계, 371계
서일본 여객철도(JR 서일본)205계 1000번대, 211계 쿠모로211・모로210형(폐차), 213계 증비차, 221계. 207계 이후의 VVVF 인버터 차는 일부 예외[4]를 제외하고 WN 구동 방식
규슈 여객철도(JR 규슈)
요코하마시 교통국
후쿠오카시 교통국1000계, 2000계


참조

[1] 문서
[2] 문서
[3] 문서
[4] 문서



본 사이트는 AI가 위키백과와 뉴스 기사,정부 간행물,학술 논문등을 바탕으로 정보를 가공하여 제공하는 백과사전형 서비스입니다.
모든 문서는 AI에 의해 자동 생성되며, CC BY-SA 4.0 라이선스에 따라 이용할 수 있습니다.
하지만, 위키백과나 뉴스 기사 자체에 오류, 부정확한 정보, 또는 가짜 뉴스가 포함될 수 있으며, AI는 이러한 내용을 완벽하게 걸러내지 못할 수 있습니다.
따라서 제공되는 정보에 일부 오류나 편향이 있을 수 있으므로, 중요한 정보는 반드시 다른 출처를 통해 교차 검증하시기 바랍니다.

문의하기 : help@durumis.com