바이스 (도구)
"오늘의AI위키"의 AI를 통해 더욱 풍부하고 폭넓은 지식 경험을 누리세요.
1. 개요
바이스는 물체를 고정하기 위해 사용되는 도구로, 어원은 라틴어 'vitis'에서 유래되었으며, 다양한 종류가 존재한다. 가로 바이스, 머신 바이스, 슈퍼 바이스, 베타 바이스, 앵글 바이스, 정밀 바이스, 사인 바이스, 입 바이스 등이 있으며, 작업대나 책상에 고정하여 사용하거나 손으로 들고 사용하는 등 용도와 형태에 따라 분류된다. 이 외에도 섀클 바이스, 파이프 바이스, 테이블 바이스, 바이스 그립과 같은 특수한 형태의 바이스도 존재한다.
더 읽어볼만한 페이지
- 금속가공공구 - 망치
망치는 머리와 손잡이로 이루어진 타격 도구로, 돌망치에서 시작하여 금속 망치로 발전했으며, 다양한 분야에서 사용될 뿐만 아니라 노동, 생산, 힘, 권능을 상징하는 중요한 의미를 지닌다. - 금속가공공구 - 스패너
스패너는 볼트나 너트를 조이거나 푸는 데 사용되는 도구로, 렌치라고도 불리며 15세기부터 사용되었고, 체결구 치수 표준화에 따라 입구 폭 치수 또한 표준화되었으며, 다양한 형태와 기능으로 나뉜다. - 표시 이름과 문서 제목이 같은 위키공용분류 - 라우토카
라우토카는 피지 비치레부섬 서부에 위치한 피지에서 두 번째로 큰 도시이자 서부 지방의 행정 중심지로, 사탕수수 산업이 발달하여 "설탕 도시"로 알려져 있으며, 인도에서 온 계약 노동자들의 거주와 미 해군 기지 건설의 역사를 가지고 있고, 피지 산업 생산의 상당 부분을 담당하는 주요 기관들이 위치해 있다. - 표시 이름과 문서 제목이 같은 위키공용분류 - 코코넛
코코넛은 코코넛 야자나무의 열매로 식용 및 유지로 사용되며, 조리되지 않은 과육은 100g당 354kcal의 열량을 내는 다양한 영양 성분으로 구성되어 있고, 코코넛 파우더의 식이섬유는 대부분 불용성 식이섬유인 셀룰로오스이며, 태국 일부 지역에서는 코코넛 수확에 훈련된 원숭이를 이용하는 동물 학대 문제가 있다. - 한국어 위키백과의 링크가 위키데이터와 같은 위키공용분류 - 라우토카
라우토카는 피지 비치레부섬 서부에 위치한 피지에서 두 번째로 큰 도시이자 서부 지방의 행정 중심지로, 사탕수수 산업이 발달하여 "설탕 도시"로 알려져 있으며, 인도에서 온 계약 노동자들의 거주와 미 해군 기지 건설의 역사를 가지고 있고, 피지 산업 생산의 상당 부분을 담당하는 주요 기관들이 위치해 있다. - 한국어 위키백과의 링크가 위키데이터와 같은 위키공용분류 - 코코넛
코코넛은 코코넛 야자나무의 열매로 식용 및 유지로 사용되며, 조리되지 않은 과육은 100g당 354kcal의 열량을 내는 다양한 영양 성분으로 구성되어 있고, 코코넛 파우더의 식이섬유는 대부분 불용성 식이섬유인 셀룰로오스이며, 태국 일부 지역에서는 코코넛 수확에 훈련된 원숭이를 이용하는 동물 학대 문제가 있다.
2. 어원
''바이스''라는 단어의 어원은 중세 영어 ''vys''와 앵글로-프랑스어 ''vyz''를 거쳐 라틴어 ''vitis'' "포도"에서 유래된 것으로 추정된다.[3] 이는 바이스라는 기계 장치의 강력한 조임 방식이 마치 식물의 덩굴손이 무언가를 단단히 감아 조이는 모습과 비슷하다고 여겨 비유적으로 사용된 것으로 보인다.
재료(소재)를 가공하거나 성형할 때 강한 힘으로 물어 고정하는 도구를 바이스라고 한다. 소재의 강도를 넘는 압력을 가하면 파손될 수 있으므로 적절한 힘 조절이 필요하다. 절삭, 연마, 절단, 접착제 경화 시 고정, 나사 체결 등 재료가 움직이면 안 되는 다양한 작업에 사용된다. 공작 기계의 기계 요소로서 내장되어 있는 경우도 있다.
3. 종류
클램프와 기구적으로 유사한 면이 있지만, 클램프는 주로 여러 대상을 묶거나 대상을 작업대 등에 함께 고정하는 데 쓰이는 반면, 바이스는 그 자체가 작업대 등에 설치되어 대상을 단독으로 고정하는 데 주로 사용된다. 다만 이는 문화권에 따른 용어 차이일 뿐 명확한 구분 기준이 있는 것은 아니다.
바이스는 작업 목적과 대상에 따라 형태, 압력, 고정 방식 등이 다른 다양한 종류가 있다. 주요 종류는 다음과 같다.3. 1. 가로 바이스 (평행 바이스)
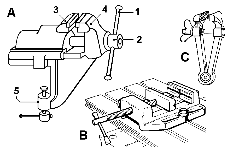
가로 바이스(parallel bench vices영어)는 작업대에 볼트로 고정하여 사용하는 가장 일반적인 형태의 바이스이다.[4] '엔지니어 바이스', '기계공 바이스', '벤치 바이스' 등으로도 불리며, 공장에서는 흔히 볼 수 있는 기본적인 공구 중 하나이다.
호칭 치수는 입금(턱)의 긴 쪽(장변) 길이를 기준으로 하며, 75, 100, 125, 150의 네 가지 크기가 일반적으로 사용된다. 입금(턱)은 분리 및 교체가 가능하며, 가공물에 흠집이 나는 것을 방지하기 위해 구리판이나 알루미늄판과 같이 상대적으로 무른 재질의 보호판을 L자 형태로 구부려 덧대어 사용하기도 한다.
가동하는 입금(턱) 측 몸체의 형태에 따라 종류가 나뉘는데, 몸체 단면이 사각형인 것을 각동형(JIS B4620)[13], 원통형인 것을 환동형(JIS B4621)[14]이라고 한다. 환동형은 각동형에 비해 나사의 정밀도나 입금(턱)의 평행 이동 정밀도가 더 우수하다. 원활한 작동과 마모 예방을 위해 움직이는 부분에 주기적으로 기름칠(급유)을 해주는 것이 좋다.
3. 1. 1. 변형


엔지니어 바이스는 ''금속 가공'' 바이스, ''기계공'' 바이스 또는 비공식적으로 "벤치 바이스"라고도 불린다. 주로 나무 대신 금속을 고정하는 데 사용되며, 줄질이나 절단 작업 시 금속을 단단히 잡아주는 역할을 한다. 재질은 주강이나 가단 주철로 만들어지기도 하지만, 대부분은 주철로 제작된다.
턱 부분은 분리 및 교체가 가능하며, 보통 톱니 모양이나 다이아몬드 모양의 이빨이 새겨져 있어 물체를 단단히 고정시킨다. 섬세한 작업물을 보호해야 할 때는 알루미늄, 구리, 목재 또는 플라스틱으로 만든 소프트 턱 커버를 덧대어 사용할 수 있다. 엔지니어 바이스의 턱이 벌어지는 최대 너비는 일반적으로 턱 자체의 너비와 같거나 더 넓을 수 있다.
엔지니어 바이스는 작업대 윗면에 볼트로 고정하여 사용하며,[5] 고정된 턱의 면이 작업대 앞쪽 가장자리에 오도록 설치한다. 바이스 몸체 뒷면에는 작은 모루와 같은 추가 기능이 포함된 경우도 있다. 대부분의 엔지니어 바이스는 작업 방향을 조절할 수 있도록 회전 가능한 베이스를 가지고 있다.
한편, "가정용 등급"으로 판매되는 일부 엔지니어 바이스는 폿 메탈이나 품질이 낮은 철로 만들어지기도 한다. 많은 가정용 벤치 바이스는 작동시키는 나사 부분이 외부로 노출되어 있는 경우가 많다.
3. 2. 머신 바이스
공작 기계용 바이스인 machine vice|머신 바이스영어는 크게 밀링반용(밀링용)의 M형과 형삭반용(세이퍼용)의 S형으로 나뉜다. 구 JIS 규격 번호 B6162[15]에 각 부분의 정밀도 등이 자세히 규정되어 있다. M형은 S형에 비해 사용 목적상 더 높은 정밀도와 조임력을 제공하는 반면, S형은 선회대가 달려 있다는 특징이 있다.
3. 2. 1. 변형
기계 바이스는 드릴 프레스, 연삭기 및 밀링 머신 등에 장착하여 사용한다. 연마 톱에는 거친 나사산이나 캠 방식으로 작동하는 기계형 바이스가 내장되어 있기도 하다.
3. 3. 슈퍼 바이스
대형 가공물을 직접 공작 기계의 테이블에 설치하는 데 사용한다. 고정측과 이동 입금측이 분리되어 있는 바이스다.
3. 4. 베타 바이스

볼반 작업에서, 가공물을 유지하는데 사용한다.
3. 5. 양키 바이스
저면과 측면이 직각으로 되어 있어, 가공물을 끼운 채로 90도 돌려 직각 방향의 구멍 뚫기도 동시에 할 수 있는 볼반용 바이스이다.
3. 6. 앵글 바이스
수평 방향, 상하 방향으로 각도를 바꿀 수 있는 바이스다.
3. 7. 정밀 바이스
평면 연삭반에서 사용하는 바이스이다. 밑면에 대해 측면의 직각도가 정밀하게 유지되도록 제작되었다. 가공물을 바이스에 고정한 상태 그대로 90도씩 돌려가며 작업할 수 있기 때문에, 가공물의 각 면 사이 직각도를 정밀하게 맞출 수 있다. 이러한 과정을 반복하면 가공물의 6면 모두를 높은 정밀도로 연삭할 수 있다.
3. 8. 사인 바이스
바이스와 사인 바Sine bar영어를 조합한 형태의 바이스이다.
3. 9. 입 바이스 (레그 바이스)

입 바이스는 레그 바이스(leg vice|레그 바이스eng) 또는 포스트 바이스라고도 불린다.[7] 이름처럼 긴 다리(발)를 바닥에 고정하여 지지하는 형태가 특징이다. 작업대(벤치)에 부착하기도 하지만, 바닥 지지를 통해 매우 무거운 작업에서도 안정성을 확보할 수 있다.[7]
물체를 조이는 부분(턱)은 평행하게 움직이는 대신 회전하며 닫히는 구조로 되어 있어 강한 조임력을 발휘할 수 있다. 이를 위해 조임 핸들도 길게 만들어졌다. 일반적인 가로 바이스보다 훨씬 튼튼하게 제작되어, 대장장이 작업이나 자동차 차체 수리와 같이 힘이 많이 들고 거친 작업에 주로 사용된다.[7]
3. 10. 부착 바이스 (벤치 바이스)
부착 바이스는 '''벤치 바이스'''라고도 불린다. 주로 가정에서 공작용으로 사용하며, 작업대에 설치하여 고정한다. 크기는 입금(턱)의 폭 치수를 기준으로 하며, 일반적으로 4가지 크기로 나뉜다.
한편, 금속 가공용 엔지니어 바이스도 비공식적으로 '벤치 바이스'라고 부르기도 한다. 가정용으로 판매되는 일부 벤치 바이스는 폿 메탈이나 품질이 낮은 주철로 만들어지기도 하며, 나사 부분이 외부에 노출된 경우가 많다.
3. 11. 손 바이스

가공물을 끼운 바이스를 손에 들고 작업하는 방식의 바이스이다.
3. 11. 1. 바이스 그립 (로킹 플라이어)
수동으로 다루는 공구로 플라이어에 분류되는 바이스이다. 정식 명칭은 '''로킹 플라이어'''이다.
3. 12. 섀클 바이스

섀클 바이스는 바코형과 C형 두 가지 종류가 있으며, 크기는 입의 폭으로 구분한다. 통칭 '''섀클맨'''이라고도 불린다. 바코형은 스웨덴의 Bahco|바코영어사(BAHCO)가 처음으로 만든 형태에서 유래했다. C형은 바코형보다 더 깊은 곳까지 작업할 수 있으며, 프레임의 강도도 더 강하다.
섀클 바이스는 강한 힘을 견뎌야 하는 작업에 주로 사용되기 때문에, 본체는 단조로 만들어지고 조임 나사는 각 나사 형태로 되어 있다. 조임 나사의 끝부분은 자유롭게 움직이는 구조로 되어 있어, 작업물을 약간 기울어진 상태에서도 고정할 수 있다.
일본에서는 바이스의 한 종류로 분류되지만, 다른 나라에서는 클램프로 분류하기도 한다[16]. (이는 앞서 설명했듯이 문화권에 따른 용어 차이일 뿐, 명확한 기술적 구분 기준이 있는 것은 아니다.)
3. 13. 파이프 바이스
파이프 가공 전용의 바이스로, 통칭 '''파이프 바이스'''라고 불린다. 주로 수도·가스 배관업자나 배관공이 파이프를 절단하거나, 파이프 렌치로 파이프와 이음새를 조일 때, 또는 나사산 작업을 할 때 사용한다.[6]
일반적인 평행 입금(턱)으로는 원형의 파이프를 안정적으로 고정하기 어렵기 때문에, 파이프 바이스는 파이프 전용으로 설계된 톱니가 있는 V자형 입금을 사용한다. 이 입금은 상하에서 파이프의 네 지점을 물어 파이프가 작업 중 회전하지 않도록 단단히 고정하는 역할을 한다.
파이프 바이스에는 크게 요크형(yoke type영어)과 체인형(chain type영어) 두 가지 주요 스타일이 있다.[6]
설치 방식에 따라 작업대에 설치하여 사용하는 타입과, 처음부터 다리가 부착되어 있는 다리 부착 파이프 바이스 타입으로 나눌 수 있다.
3. 14. 테이블 바이스
책상에 설치하여 사용하는 바이스이다. 책상을 보호하기 위해 받침목을 덧대어 사용하기도 한다. 간편한 형태로는 흡착 고무판을 이용하여 책상에 고정하는 방식도 있다.
3. 15. 기타 바이스

다양한 종류와 용도를 가진 특수 바이스들이 있다.
참조
[1]
웹사이트
Popular Science
https://books.google[...]
1970-12
[2]
웹사이트
American Machinist & Automated Manufacturing: Jan. 1986-July 1988
https://books.google[...]
1974
[3]
웹사이트
Definition of VISE
https://www.merriam-[...]
2024-06-11
[4]
간행물
Installing a Bench Vise
http://www.woodcraft[...]
[5]
뉴스
Selecting and using a bench vise
https://books.google[...]
1954-10
[6]
웹사이트
Popular Mechanics
https://books.google[...]
Hearst Magazines
1958-11
[7]
웹사이트
Tools for Setting up a Blacksmith Shop - The Ploughshare Institute
https://www.sustainl[...]
2019-05-08
[8]
간행물
The cover of American Machinist
http://vintagemachin[...]
1923-05-10
[9]
웹사이트
Popular Science
https://books.google[...]
Bonnier Corporation
1964-10-16
[10]
웹사이트
Clamping device for irregularly shaped workpieces
https://patents.goog[...]
[11]
웹사이트
Popular Mechanics
https://books.google[...]
Hearst Magazines
1968-07-16
[12]
서적
Fundamentals of Tool Design, Sixth Edition
https://books.google[...]
Society of Manufacturing Engineers
2010
[13]
Jis
[14]
Jis
[15]
문서
日本産業標準調査会:データベース-廃止JIS規格リスト B6162
https://www.jisc.go.[...]
[16]
문서
DIY工具選びと使い方
본 사이트는 AI가 위키백과와 뉴스 기사,정부 간행물,학술 논문등을 바탕으로 정보를 가공하여 제공하는 백과사전형 서비스입니다.
모든 문서는 AI에 의해 자동 생성되며, CC BY-SA 4.0 라이선스에 따라 이용할 수 있습니다.
하지만, 위키백과나 뉴스 기사 자체에 오류, 부정확한 정보, 또는 가짜 뉴스가 포함될 수 있으며, AI는 이러한 내용을 완벽하게 걸러내지 못할 수 있습니다.
따라서 제공되는 정보에 일부 오류나 편향이 있을 수 있으므로, 중요한 정보는 반드시 다른 출처를 통해 교차 검증하시기 바랍니다.
문의하기 : help@durumis.com