볼트 액션
"오늘의AI위키"의 AI를 통해 더욱 풍부하고 폭넓은 지식 경험을 누리세요.
1. 개요
볼트 액션은 볼트를 회전시켜 약실을 잠그고, 탄피를 배출하며, 탄약을 장전하는 소총 작동 방식이다. 1824년 드라이제 소총에서 처음 등장했으며, 19세기 후반 다양한 볼트액션 소총이 개발되어 제1차 세계 대전에서 널리 사용되었다. 오늘날에는 사냥 및 사격용으로 주로 사용되며, 저격 분야에서도 그 가치를 인정받고 있다. 볼트액션 방식은 회전식과 직동식으로 나뉘며, 마우저, 리-엔필드, 모신나간 등 다양한 시스템이 존재한다.
더 읽어볼만한 페이지
- 화기 작동 방식 - 뇌관
뇌관은 화약류를 점화하여 폭발이나 발사를 유도하는 발화 장치로, 캡록 시스템을 거쳐 다양한 탄약 점화 방식으로 발전해 왔으며, 현재는 센터파이어 방식이 군용 및 스포츠용 탄약에 널리 사용된다. - 화기 작동 방식 - 펌프 액션
펌프 액션은 손잡이를 앞뒤로 움직여 탄환을 장전 및 배출하는 화기 작동 방식이며, 산탄총에 널리 사용되고 반자동 방식보다 극한 환경에 강하다. - 볼트액션 소총 - 30년식 보병총
30년식 보병총은 무라타 소총을 대체하기 위해 개발된 아리스카 소총 계열의 첫 번째 소총으로, 6.5×50mm 아리스카 탄약을 사용하는 볼트액션 소총이며, 제2차 세계 대전까지 일본 제국 육군의 주력 소총으로 사용되었고, 다양한 전쟁에서 활용되었으며, 신뢰성 문제로 38년식 소총으로 대체되었으나, 수출 및 파생형 모델을 통해 전 세계적으로 사용되었고, 일본 제국주의 침략 전쟁과 관련된 역사적 의미를 지닌다. - 볼트액션 소총 - M24 SWS
M24 SWS는 미군이 개발한 볼트 액션 방식의 저격 소총으로, 7.62 × 51 mm NATO탄을 사용하며 M21 SWS를 대체하고, 다양한 파생형이 존재하며, 대한민국 육상자위대에서도 사용된다.
| 볼트 액션 | |
|---|---|
| 볼트 액션 | |
![]() | |
| 개요 | |
| 유형 | 총기 작동 방식 |
| 작동 방식 | 수동식 |
| 주요 구성 요소 | 볼트 |
| 작동 원리 | |
| 장전 과정 | 볼트를 들어 올리고 뒤로 당겨 탄피 배출 및 다음 탄약 장전 |
| 발사 과정 | 볼트를 앞으로 밀고 돌려 잠금 |
| 잠금 방식 | 볼트 회전식 잠금 |
| 특징 | |
| 장점 | 단순한 구조 높은 정확도 신뢰성 |
| 단점 | 느린 연사 속도 |
| 사용 분야 | |
| 군용 | 저격총 소총 |
| 민간용 | 사냥용 소총 스포츠용 소총 |
| 역사 | |
| 개발 | 19세기 중반 |
| 초기 사용 | 드라이제 니들건 샤스포 소총 |
| 발전 | 다양한 개선과 발전 |
| 현대 | 현재까지 널리 사용 |
| 기타 | |
| 관련 메커니즘 | 레버 액션, 펌프 액션 |
2. 역사
최초의 볼트액션 소총은 1824년 요한 니콜라우스 폰 드라이제가 후장식 소총을 연구하면서 생산되었다. 폰 드라이제는 1836년에 나델게베어(Nadelgewehr, 니들 라이플)를 완성했고, 1841년 프로이센 군에 채택되었다. 1848년 독일 혁명에서 제한적으로 사용되었지만, 1864년 덴마크와의 전쟁에서 승리할 때까지는 널리 보급되지 않았다.[1] 1850년에는 베아투스 베링거가 금속 중앙발화식 볼트액션 후장식 소총 특허를 받았다.[2] 1852년에는 조셉 니덤이 또 다른 금속 중앙발화식 볼트액션 후장식 소총 특허를 받았고, 1862년에 추가 특허로 개량했다.[3][4][5] 1860년대에는 금속 탄피의 화약을 점화하는 뇌관에 대한 두 가지 시스템(베르단[6], 폭서[7])이 발명되었다.
1857년 미국은 종이 탄피와 오지벌 라이플링 시스템을 사용하는 언더 해머, 퍼커션 캡 방식의 단발 볼트액션 소총인 그린 소총 900정을 구매했으나, 미국 남북 전쟁 중 1862년 앤티텀 전투에서 사용된 후 병사들에게 지급하기에는 너무 복잡하다고 여겨져 스프링필드 모델 1861로 대체되었다.[8] 1863년에는 볼트액션 팔머 카빈이 특허를 받았고, 1865년까지 1000정이 기병용 무기로 구매되었다. 1866년 프랑스군은 최초의 볼트액션 소총인 샤스포 소총을 채용했고, 1874년에는 금속 탄피 볼트액션 그라스 소총을 도입했다.
19세기 후반, 유럽 군대는 튜브형 탄창을 채용한 크로파체크 소총과 르벨 소총, 박스형 탄창을 사용하는 M1885 레밍턴-리와 리-메트포드 등 다양한 볼트액션 소총을 개발했다. 최초의 볼트액션 연발 소총은 1855년 영국에서 특허를 받았으며, 개머리판에 중력 작동식 튜브형 탄창을 사용했다.[9] 1867년의 베테를리 소총은 잘 알려진 볼트액션 연발 소총이며, 중앙발화 탄피를 사용한 최초의 볼트액션 연발 소총은 1871년 비엔나의 총기 제작자 페르디난트 프루비르트가 설계한 무기였다.[10] 이후 군대는 박스형 탄창을 사용하는 볼트액션 소총으로 전환했는데, 최초의 예는 M1885 레밍턴-리였지만, 일반적으로 채택된 최초의 소총은 1888년 영국의 리-메트포드였다. 제1차 세계 대전은 볼트액션 소총 사용의 정점을 찍었으며, 참전국들은 다양한 볼트액션 소총으로 무장한 군대를 배치했다.
제2차 세계 대전 이전, 군용 볼트액션 소총은 반자동 소총과 완전 자동 소총으로 대체되기 시작했지만, 전쟁 기간 동안 대부분 전투원들의 주요 무기로 남았다. 특히 미국 해병대는 M1 개런드 소총이 충분히 보급될 때까지 볼트액션 M1903 스프링필드 소총을 사용했다.
베테를리 소총은 군대에 처음 도입된 볼트액션 반자동소총이었다. 1869년부터 1890년경까지 스위스 육군에서 사용되었으며, 개량형은 이탈리아 육군에서도 사용되었다. 크라그-예르겐센 소총은 노르웨이, 덴마크, 그리고 잠시 미국에서 사용되었는데, 수신기 오른쪽에 있는 게이트를 통해 장전되어 볼트를 열지 않고도 재장전할 수 있다는 점에서 특이하다.
1836년 요한 니콜라우스 폰 드라이제가 발명한 드라이제 소총은 볼트액션 방식을 처음으로 실용화했다. 1880년에는 일본에서 13년식 무라타 단발 소총이 배치되었다.
1884년 프랑스의 폴 비에이유가 무연화약을 발명하면서 보병 소총에 무연화약화와 연발화라는 두 번째 패러다임 시프트가 일어났다. 1890년대에는 독일의 게베어 98, 영국의 리-엔필드, 러시아의 모신-나간 등 많은 볼트액션 소총의 모범이 되는 구조를 가진 소총들이 등장했다.
2. 1. 탄생
최초의 볼트 액션 소총은 1824년 요한 니콜라우스 폰 드라이제가 후장전 소총을 연구하는 과정에서 생산되었다. 폰 드라이제는 1836년에 나델게베어(Nadelgewehr, 니들 라이플)를 완성했고, 1841년 프로이센 군대에 채택되었다. 1848년 독일 혁명에서 제한적으로 사용되었지만, 1864년 제2차 슐레스비히 전쟁에서 덴마크에 승리할 때까지는 널리 보급되지 않았다.[31]1850년에는 베리어스 베링거가 금속 센터파이어 볼트 액션 소총 특허를 받았다.[32] 1852년에는 조셉 니덤이 또 다른 금속 센터파이어 볼트액션 소총 특허를 받았고, 1862년에 추가 특허로 개선했다.[33][34][35]
탄약의 화약을 점화하는 메커니즘인 뇌관을 위한 두 가지 다른 시스템 - 베르단[36]과 복서[37] - 도 1860년대에 발명되었다.
미국은 1857년에 그린 소총 900정을 구입했고, 스프링필드 모델 1861로 대체되었다. 미국 남북 전쟁 당시 볼트 액션 소총인 팔머 카빈은 1863년 특허를 받았으며, 1865년까지 기병용 무기로 사용하기 위해 1000정을 구매했다. 프랑스군은 1866년 최초의 볼트액션 소총인 샤스포 소총을 도입했고, 1874년에는 금속탄 볼트 액션 그라스 소총을 도입했다.
2. 2. 변화 및 변천
19세기 후반, 튜브형 탄창을 채택한 크로파체크 소총과 르벨 소총, 박스형 탄창을 사용하는 M1885 레밍턴-리와 리-메트포드 등 다양한 볼트액션 소총이 개발되었다.[9][10] 제1차 세계 대전은 볼트액션 소총 사용의 정점을 찍었으며, 전쟁에 참전한 모든 국가들이 다양한 볼트액션 소총으로 무장한 군대를 배치했다.제2차 세계 대전 이전, 군용 볼트액션 소총은 반자동 소총과 자동 소총으로 대체되기 시작했지만, 전쟁 기간 동안 대부분의 전투원들의 주요 무기로 남았다. 특히 미국 해병대는 M1 개런드 소총이 충분히 보급될 때까지 볼트액션 M1903 스프링필드 소총을 사용했다.[8]
현대에도 저격 소총에서 볼트액션은 여전히 일반적인데, 이는 우수한 정확성, 신뢰성, 가벼운 무게, 그리고 반자동 소총보다 나은 장전 제어 능력을 제공하기 때문이다. 그러나 지정 사수 역할에서는 많은 반자동 소총 설계가 사용되기도 한다.
오늘날 볼트액션 소총은 주로 사냥 및 사격용으로 사용된다. 해충부터 사슴 및 대형 사냥감까지 사냥하는 데 사용될 수 있으며, 안전한 거리에서 단 한 발의 치명적인 사격을 가할 수 있을 만큼 충분히 정확하다. 사격 선수들은 단순한 설계, 신뢰성 및 정확성 때문에 단발 볼트액션을 선호한다.
볼트액션 산탄총은 현대 총기 중 드문 것으로 간주되지만, 이전에는 저가형 산탄총에 일반적으로 사용되는 작동 방식이었다. M26 모듈러 액세서리 산탄총 시스템(MASS)은 볼트액션 산탄총의 가장 최근이자 가장 발전된 예이지만, M16 소총 또는 M4 카빈에 부착하도록 설계되었다. 1997년 총기법 개정 이후 호주에서 모스버그 12-게이지 볼트액션 산탄총이 잠시 인기를 얻었지만, 작동하기 어렵고 탄창 용량이 작아 기존 산탄총에 비해 실질적인 이점이 없었다.
베테를리 소총은 군대에서 처음으로 도입된 볼트액션 반자동소총이었다. 1869년부터 1890년경까지 스위스 육군에서 사용되었으며, 개량된 베테를리는 이탈리아 육군에서도 사용되었다. 크라그-예르겐센 소총은 노르웨이, 덴마크, 그리고 잠시 미국에서 사용되었는데, 수신기의 오른쪽에 있는 게이트를 통해 장전된다는 점에서 특이하다.
볼트액션 방식은 1836년 요한 니콜라우스 폰 드라이제가 발명한 드라이제 소총에 의해 처음으로 실용화되었다. 1880년에는 일본에서 13년식 무라타 단발 소총이 배치되었다.
1884년 프랑스의 폴 비에이유가 무연화약을 발명함으로써, 보병 소총에 무연화약화와 연발화라는 두 번째 패러다임 시프트가 일어났다. 1890년대에는 독일의 게베어 98, 영국의 리-엔필드, 러시아의 모신-나간 등 많은 볼트액션 소총의 모범이 되는 구조를 가진 소총들이 등장했다.
제2차 세계 대전을 거치면서 발사 속도가 높은 자동소총이나 돌격소총으로 대체될 때까지 약 100년 동안 보병 소총을 대표하는 존재로서 그 지위를 유지했다. 오늘날에도 볼트액션은 자동소총에 비해 구조가 단순하기 때문에 정확도, 신뢰성, 가격, 정비성, 내구성 면에서 우위에 있다.
2. 3. 대한민국에서의 볼트액션 소총
대한민국 국군은 6.25 전쟁 당시 M1903 스프링필드, M1 개런드와 함께 볼트액션 소총을 사용하였다. 현재 예비군용 M1 카빈 소총의 노후화 문제와 이를 대체하기 위한 논의 과정에서 볼트액션 소총의 도입 가능성이 제기되고 있다. K2 소총의 반자동 사격 제한 버전 도입과 관련하여 볼트액션 소총의 활용 방안에 대한 논의가 진행 중이며, 이에 대한 찬반 의견이 존재한다.3. 볼트 액션의 다양한 시스템
볼트액션 방식은 크게 회전식 볼트액션 방식과 직동식(스트레이트 풀) 볼트액션 방식으로 나뉜다.
; 회전식 볼트액션 방식
: 볼트에 직접 연결된 볼트 핸들(레버)을 위로 올려 볼트를 회전시켜 약실 폐쇄를 해제하고, 볼트를 뒤로 당겨 탄피를 배출한다. 그 후, 볼트를 앞으로 밀어 탄약을 약실에 장전하고, 볼트 핸들을 내려 볼트를 회전시켜 약실을 폐쇄한다. 모젤 소총 등이 이 방식에 해당하며, 볼트액션 소총의 주류를 이루고 있다.
; 직동식(스트레이트 풀) 볼트액션 방식
: 볼트 핸들을 회전 없이 그대로 뒤로 당겼다가 앞으로 미는 동작만으로 개방, 배출, 장전, 폐쇄가 모두 완료된다. 회전식에 비해 작동 시간이 짧아 발사 속도가 빠르다는 장점이 있지만, 내부 구조가 복잡해지는 단점이 있다. 캐나다의 로스 소총, 오스트리아의 만리히어 M1895, 스위스의 슈미트 루빈 M1889 등이 이 방식을 채택했지만, 구조가 모두 다르다. 군용 소총으로는 K31과 같은 성공 사례도 있었지만, 주로 강도 문제로 인해 볼트액션 소총에서는 비주류로 여겨진다.
: 하지만 최근에는 독일 블레이저사의 블레이저 R93과 같은 독자적인 직동식 볼트액션이 사냥 및 스포츠 사격 분야에서 상업적 성공을 거두고 있다. 바이애슬론에서는 안슈츠사의 직동식 볼트액션이 이즈마시사의 토글 액션을 채용한 경기용 소총과 월드컵에서 경쟁하고 있다.
콕킹(격발 준비) 방식에 따라 콕온 클로징 방식과 콕온 오프닝 방식으로 나눌 수 있다.
; 콕온 클로징 방식
: 볼트 핸들을 뒤로 당길 때 격철과 역구(시어)가 맞물리고, 앞으로 밀거나 돌리는 과정에서 격철 스프링에 장력이 가해져 콕킹된다. 볼트 핸들을 들어 올리는 힘이 콕온 오프닝 방식보다 작아도 되지만, 폐쇄 시 콕킹이 이루어져 폐쇄 동작이 다소 부드럽지 않을 수 있다. 드라이제 소총과 리-엔필드가 대표적이다.
: 삼팔식 보병총을 비롯한 아리사카 소총은 콕온 클로징 방식이지만, 볼트 핸들을 들어 올릴 때 격철이 하프콕 되고 볼트를 앞뒤로 움직이는 동안 풀콕 되는, 콕온 오프닝 방식과 절충된 작동 방식을 가지고 있다.
; 콕온 오프닝 방식
: 볼트 핸들을 들어 올릴 때 볼트 본체와 격철 사이의 캠이 격철을 뒤로 밀어 격철 스프링에 장력을 가하고, 역구와 맞물려 콕킹이 이루어진다. 볼트 핸들을 내리면 발사 가능한 상태가 된다. 볼트 핸들을 들어 올릴 때 힘이 더 필요하며, 볼트 핸들을 완전히 들어 올린 상태에서 콕킹이 완료되므로 이후 볼트의 움직임이 부드럽다. 또한 볼트 핸들이 열려 있을 때는 캠이 격철의 전진을 막아 역구가 파손되어도 폭발이 일어나기 어렵다. 많은 총기에서 볼트를 올린 상태에서 방아쇠를 당긴 채 볼트를 천천히 닫아 안전하게 디콕킹(격발 해제)할 수 있다.
: 그라 소총, 무라타 소총, 모젤 등이 이 방식을 채택했으며 현재 대부분의 볼트액션 소총이 이 방식을 사용하고 있다.
역사적으로 많은 볼트액션 소총이 회전식을 채택했지만, 근대적인 볼트액션 소총은 볼트 본체(액션) 설계에 따라 세 가지 계열(3대 볼트액션 시스템)로 분류할 수 있다.
; 모젤 계열
: 독일 모젤사가 개발한 계열로, Gew98을 시작으로 하는 모젤 M98 액션이 가장 유명하다. 콕온 오프닝 방식을 채택하고 있으며, 볼트 핸들과 볼트 본체가 일체형으로 회전한다. 볼트 끝(볼트 헤드)에 두 개의 잠금 돌기(러그)가 있는 설계이다. 볼트 전체를 하나의 부품으로 제조하는 경우가 많아 생산 비용이 높지만, 강도가 높아 고압 매그넘 탄약에도 대응할 수 있다. 군용 소총의 경우 볼트 핸들 부근에 또 다른 소형 러그(세이프티 러그)를 갖추고 있는데, 이는 메인 러그 파손 시 사격 지속을 위한 것이 아니라 볼트가 뒤로 빠져 사수에게 피해를 주는 것을 방지하기 위한 것이다. 오늘날 대부분의 볼트액션 소총은 모젤 M98 액션을 기반으로 설계되며, 모젤사도 Gew98과 같은 구조의 M98 소총을 현재도 판매하고 있다. 단점은 볼트 앞쪽에 잠금 러그가 있어 약실 쪽에 러그가 물리는 부분이 깊이 들어가, 볼트 이동 거리가 길어지기 쉽다는 점이다.
: M98 이전의 스웨디시 마우저 계열 M94, M96 등은 콕온 클로징 방식을 채택했다. 1897년 일본 30년식 보병총으로 대표되는 아리사카 소총은 이 계열의 모젤을 참고하여 발전했지만, 현재는 군용, 민수용 모두 계보가 끊겼다.
; 리-엔필드 계열
: 영국에서 개발된 계열로, 1888년 리-메트포드에서 처음 채택되어 리-엔필드가 대표적이다. 콕온 클로징 방식을 채택하고 있으며, 볼트 핸들과 볼트 본체는 일체형이지만 볼트 헤드는 분리된 별도 부품이다. 볼트 헤드는 개폐 조작 시 항상 같은 방향을 유지하며 회전하지 않는다. 이 방식은 잠금 러그를 볼트 페이스 쪽에 설치할 수 없어 볼트 본체 뒤쪽에 배치해야 하므로, 볼트 핸들 바로 앞에 두 개의 잠금 러그를 갖는다. 가동식 볼트 헤드는 사격을 반복하면 헐거워지거나 틈이 커질 수 있어 필요에 따라 볼트 헤드만 교체하여 재조정해야 한다. 하지만 실탄 약량 변경으로 탄피 길이가 짧아진 경우에도 볼트 헤드만 교체하여 헤드스페이스 변경을 비교적 쉽게 할 수 있다는 장점이 있다. 약실 쪽에 러그 물림 부분을 파내야 하는 모젤 계열에 비해 제조 비용이 저렴하고, 약실 내부로 볼트가 들어갈 필요가 없어 볼트 이동 거리가 짧아, '''매드 미닛'''(미친 1분)이라 불릴 정도의 속사성을 자랑했다. 이 구조는 영국 외에도 프랑스 MAS 36 소총에도 채택되었다.
: 현재는 매그넘 탄약 등에 대응하기 어려운 점 때문에 민수용 총기에서는 주류가 아니지만, 일부 속사성을 중시한 .50BMG탄 대물 저격총에 채택되기도 한다. 모젤과 마찬가지로 군용 SMLE 소총에 준하는 구조의 소총이 오스트레일리안 인터내셔널 암즈사에서 현재도 판매되고 있다.
; 모신나간 계열
: 러시아에서 1891년에 개발된 계열로, 기본적으로 콕온 오프닝 방식이며 볼트 헤드 쪽에 두 개의 잠금 러그를 갖는다. 하지만 볼트 관련 부품이 모두 일체형으로 제조되는 모젤 계열과 달리, 모신나간 계열의 볼트는 2피스 구조로, 볼트 본체 부분은 개폐 조작 시 회전하지 않고 볼트 핸들과 볼트 헤드만 일체로 회전한다. 볼트 핸들과 볼트 헤드는 별도 부품이지만, 볼트 헤드가 정지한 채 볼트 본체가 회전하는 리-엔필드 계열과도 다르다. 모젤 계열은 약실에 수직으로 물리는 메인 러그를 갖는 반면, 모신나간은 수평으로 물리는 메인 러그를 가지며, 아리사카 소총 등과 같이 볼트 핸들 자체가 리시버와 맞물려 긴급용 러그 역할을 한다. 모신나간 계열의 볼트 구조는 모젤 계열보다 다소 복잡하지만 매우 견고하고 내구성이 뛰어나다. 7.62x54mmR탄이 180그레인 탄두에서 7mm 레밍턴 매그넘에 필적하는 위력을 가지므로 고압 실탄 사용에도 충분히 견딜 수 있다고 평가받는다.
: 모신나간 계열 구조는 M1891/30 등 군용 소총이나 소비에트 연방 시대 보스톡 사격용 소총 등에만 채택되었지만, AK-47과 같이 여러 나라에서 라이선스 생산되거나 모방품이 제조되어 시장에 유통되는 군용 소총을 경유한 총기도 많다. 군용 소총을 사냥, 스포츠 사격용으로 개조하는 스포터라이징의 베이스로도 인기가 있다.
: 프랑스 샤스포 소총이나 일본 무라타 소총은 모신나간 계열과 유사한 볼트 구조를 가지고 있지만, 볼트 헤드가 핸들과 완전히 일체화되어 볼트 핸들 외에 잠금 러그가 없다. 이후 프랑스에서 개발된 르벨 M1886, 베르티에 소총 등은 프런트 러그와 분리형 볼트 헤드를 가진 모신나간과 같은 구조를 가지며, 엄밀히는 개발 시기가 이쪽이 약간 앞선다.
3. 1. 볼트 회전(노리쇠 회전)
대부분의 볼트 액션 디자인은 볼트(노리쇠)를 회전시켜 작동하는 방식을 사용한다. 노리쇠를 회전하여 약실에서 잠금을 해제하고 격발핀을 장전한 후, 뒤로 당겨 약실을 열고 탄피를 배출하는 방식이다.레밍턴 M700, 마우저, 리-엔필드, 모신-나간트 시스템이 대표적인 4가지 주요 노리쇠 작동 방식이다. 이들은 볼트가 몸통에 결합되는 방식, 작동 방식, 발사 시 노리쇠를 고정하는 방식, 그리고 노리쇠 개방 시 장전(마우저, 모신-나간트) 또는 폐쇄 시 장전(리-엔필드) 여부에서 차이를 보인다. 현대 볼트 액션 소총은 대부분 레밍턴 M700과 마우저 시스템을 기반으로 하며, 리-엔필드와 모신-나간트 시스템은 제한적으로 사용된다.
3. 1. 1. 마우저
마우저 볼트 액션 시스템은 19세기 마우저 볼트 액션 소총 설계를 기반으로 하며, 파울 마우저가 설계한 게베어 98에서 최종 완성되었다. 이 시스템은 20세기 중반까지 거의 모든 현대 사냥용 소총과 대부분의 군용 볼트 액션 소총에 사용될 정도로 널리 사용되었다.마우저 시스템은 볼트 헤드 바로 뒤에 두 개의 잠금 돌기가 있어 리-엔필드 시스템보다 강력하며, 9.3×64mm 브레네케와 8×68mm S 같은 고압 매그넘 탄약을 사용하는 데 유리하다. 또한 볼트 후면에 세 번째 잠금 돌기가 있어 안전성을 높였다. 이 돌기는 비대칭적인 잠금력을 유발하기 때문에 일반적으로 볼트를 잠그지는 않는다.
마우저 시스템은 "개방 시 장전(cock on open)" 방식을 채택하여, 소총을 열 때 볼트의 상향 회전으로 격발 장치가 장전된다. 다만, 마우저 M98 시스템은 대량 생산이 쉽지 않다는 단점이 있었다. 이러한 단점을 보완하기 위해, 많은 M98 기반 파생 모델들은 생산성을 높이기 위해 세 번째 안전 잠금 돌기를 생략하는 등 기술적인 변경을 가했다.
마우저 M98 볼트 액션 시스템의 제어 급탄은 단순하고, 강력하며, 안전하고 잘 설계된 디자인으로 평가받으며, 20세기 동안 출시된 다른 군용 및 사격용 소총 디자인에 영감을 주었다.
마우저 볼트 액션 소총의 예시는 다음과 같다.
| 소총 종류 |
|---|
| 게베어 98/슈탄다르트모델/카라비너 98k |
| M24 시리즈 |
| vz. 24/vz. 33 |
| Type 24 소총 |
| M1903 스프링필드 |
| 패턴 1914 엔필드 |
| M1917 엔필드 |
| 아리사카 Type 38/Type 99 |
| M48 마우저 |
| Kb wz. 98a/카라비넥 wz. 1929 |
| FR 7/FR 8 |
| CZ 550, 하임 익스프레스 매그넘, 윈체스터 모델 70 및 마우저 M 98과 같은 현대 사냥/사격용 소총 |
| 사코 TRG, 액큐러시 인터내셔널 아틱 워페어 및 GOL 스나이퍼 매그넘과 같은 현대 저격 소총 |
게베어 98이 도입되기 전의 초기 마우저 작동 방식(예: 스웨덴 마우저 소총 및 카빈총)은 세 번째 잠금 돌기가 없고 "폐쇄 시 장전" 방식을 사용했다.
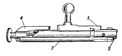
3. 1. 2. 리-엔필드
thumb 가이드를 보여준다.]]리-엔필드 볼트액션 시스템은 1889년 리-메트포드 소총과 후속 리-엔필드 소총에 도입되었다. 볼트 시스템은 설계자인 제임스 패리스 리의 이름을 따서 명명되었고, 총열 강선은 런던 엔필드 자치구의 왕립 소형 무기 공장의 이름을 따서 명명되었다.[12] 이 시스템은 볼트를 앞으로 밀면 작동이 장전되는 "폐쇄 시 장전" 방식이어서 사수가 볼트를 작동할 때 조준경과 표적에서 시선을 떼지 않아도 된다. 볼트가 돌기와 약실 사이에서 움직일 수 있는 능력은 심각한 약실 과압 파손 시 사수를 더 안전하게 보호한다.[12]
후방에 위치한 볼트 돌기의 단점은 약실과 돌기 사이의 수신기 부분이 늘어나는 힘에 저항하기 위해 더 강하고 무겁게 만들어져야 한다는 것이다. 또한, 돌기 앞쪽의 볼트는 발사 시 휘어질 수 있는데, 이는 반복적인 발사 시 안전상의 이점이 되지만, 시간이 지남에 따라 수신기가 늘어나고 헤드스페이스가 과도해질 수 있다. 이는 문제로 인식될 경우, 분리 가능한 볼트 헤드를 더 큰 것으로 교체하여 해결할 수 있다. 리-엔필드 볼트 제조는 대량 생산 방식을 사용하여 최종 조립 시 볼트 본체에 세 가지 표준 크기의 볼트 헤드 중 하나를 장착하여 정확한 헤드스페이스를 맞춘다.[12]
2차 세계 대전 이전 몇 년 동안 리-엔필드 볼트 시스템은 영국 BSA, LSA, 파커-헤일과 같은 회사와 호주의 SAF 리스고에서 제조한 많은 상업용 사격 및 사냥 소총에 사용되었다. 2차 세계 대전 후 많은 수의 퇴역 군용 SMLE Mk III 소총이 스포터라이즈되어 저렴하고 효과적인 사냥 소총이 되었고, 리-엔필드 볼트 시스템은 오스트레일리아 인터내셔널 암즈에서 제조한 M10 및 No 4 Mk IV 소총에도 사용된다. 인도의 라이플 팩토리 이샤포어는 .315구경으로 제작된 사냥 및 스포츠용 소총을 제조하는데, 이 소총에도 리-엔필드 액션이 사용된다.[12]
- 리-엔필드 (모든 마크 및 모델)
- 이샤포어 2A1
- BSA, LSA, SAF 리스고, 파커 헤일에서 제조한 다양한 사냥/스포츠용 소총
- 오스트레일리아 인터내셔널 암즈 M10 및 No 4 Mk IV 사냥/스포츠용 소총
- 라이플 팩토리 이샤포어의 .315구경 리-엔필드 사냥 소총
3. 1. 3. 모신-나간트(모신나강, 모신소총)
모신-나간트 방식은 1891년에 만들어졌고 세르게이 모신과 레옹 나간의 이름을 따서 명명되었다. 모신-나간트 방식은 마우저와 리-엔필드 볼트액션과 상당히 다른 점이 있다. 마우저 시스템이 노리쇠를 제거할 수 없는 반면 모신-나간트의 노리쇠는 분리할 수 있고 노리쇠 톱니가 회전하면서 움직인다.[11]모신-나간트의 노리쇠는 다소 복잡한 구조이지만, 내구성과 품질이 매우 뛰어나다. 또한 마우저 시스템처럼 cock on open 시스템이 존재한다. 모신-나간트 볼트 액션 방식은 스포츠 경기의 총기에는 거의 사용되지 않지만 사냥용 소총에 주로 사용되고 군용 소총으로 많이 공급된다.[11]

모신나강 설계는 볼트와 베어링 러그와 함께 회전하는 별도의 볼트 헤드를 가지고 있는 반면, 마우저 시스템에서는 볼트 헤드가 볼트의 제거할 수 없는 부분이다. 모신나강은 또한 볼트 헤드가 고정되어 있고 볼트 본체 자체가 회전하는 리-엔필드 시스템과 다르다. 모신나강 볼트는 다소 복잡하지만 매우 견고하고 내구성이 뛰어납니다. 마우저와 마찬가지로 "개방 시 장전" 시스템을 사용한다. 이 볼트 시스템은 상업용 스포팅 라이플(보스톡 브랜드 사격용 라이플이 가장 잘 알려져 있음)에는 거의 사용되지 않았으며 러시아 외부로 수출된 적이 없지만, 제2차 세계 대전 종전 이후 수많은 군용 잉여 모신나강 소총이 사냥용으로 개조되어 사냥총으로 사용되었다.[11]
- 모신-나간트 소총의 예시
| 소총 종류 |
|---|
| 모신-나간트 1891 |
| 드라군 라이플 |
| 코삭 라이플 |
| 1907 카빈 |
| 모신 나간트 1891/30 |
| 소비에트 타겟 라이플 |
| OTs-48/OTs-48K |
| 핀란드 M 시리즈 |
| 체코-슬로바키아의 VZ 시리즈 |
3. 2. 직선 당기기(스트레이트 풀)




스트레이트 풀(직선 당기기) 볼트액션은 기존의 회전식 볼트액션 메커니즘과 달리, 볼트 손잡이를 회전시키지 않고도 앞뒤로 작동할 수 있다. 따라서 장전을 위해 볼트를 선형으로 움직이는 것 외에 축 방향으로 회전시킬 필요가 없어, 선형 동작만으로 장전이 가능하다. 스트레이트 풀 액션의 볼트 잠금은 별도의 수동 조작 없이 이루어지므로, 사수는 네 가지 동작(위로 회전, 뒤로 당기기, 앞으로 밀기, 아래로 회전) 대신 두 가지 동작(뒤로 당기기, 앞으로 밀기)만 수행하면 된다. 이로 인해 발사 속도가 크게 향상된다.

1993년, 독일의 블레이저(Blaser)사는 볼트 헤드에서 돌출/후퇴하는 일련의 동심원 "클로"로 잠금이 이루어지는 새로운 스트레이트 풀 액션인 블레이저 R93(Blaser R93)을 출시했다. 이 디자인은 "Radialbundverschluss"("방사형 연결")라고 한다. 2017년 기준으로 Rifle Shooter 잡지[14]는 후속 모델인 블레이저 R8(Blaser R8)을 메르켈 Helix와 브라우닝 Maral과 함께 가장 인기 있는 세 가지 스트레이트 풀 소총 중 하나로 선정했다.[15]
다른 주목할 만한 현대식 스트레이트 풀 소총은 다음과 같다.
- 베레타(Beretta)[16]
- C.G. 헤이넬(C.G. Haenel)[17]
- 샤푸이[18]
- 헤임[19]
- 링크스[20]
- 뢰슬러[21]
- 새비지 암즈(Savage Arms)[22]
- 스트라서[23]
- 스틸 액션[24]
대부분의 스트레이트 풀 볼트액션 소총은 해머가 없는 발사 메커니즘을 가지고 있다. 그러나 메르켈 헬릭스와 같이 해머 방식 모델도 있다. 해머를 사용하는 화기는 일반적으로 해머리스 메커니즘보다 상대적으로 긴 잠금 시간을 갖는다.
바이애슬론 경기에서는 사격 속도가 중요한 성능 요소이고, 레이스에서 반자동 소총은 불법이기 때문에, 스트레이트 풀 액션이 매우 일반적이며 바이애슬론 월드컵에서 거의 독점적으로 사용된다. .22구경용 스트레이트 풀 액션을 처음으로 만든 회사는 J. G. 안슈츠(J. G. Anschütz)였다. 피터 포트너 주니어는 "포트너 액션"[25][26][27]을 설계했는데, 이는 안슈츠 1827 포트너(Anschütz 1827 Fortner)에 통합되었다. 포트너 액션은 특히 볼트 측면의 스프링식 볼 베어링이 볼트 하우징 내부의 홈에 고정되는 스트레이트 풀 볼 베어링 잠금 액션이다. 새로운 설계에는 새로운 건식 사격 방식이 도입되었는데, 볼트를 약간 위로 돌리는 대신 액션이 뒤로 잠겨 발사핀을 잡는다. 이 액션은 나중에 중구경 헤임 SR 30(Heym SR 30)에 사용되었다.
4. 볼트 작동 방법(노리쇠 작동 방법)
일반적으로 노리쇠는 점화 메커니즘이 들어 있는 금속관으로 구성되며, 관의 전면이나 후면에 금속 손잡이가 있어 노리쇠를 제자리에 고정하는 역할을 한다. 노리쇠, 레버, 캠 동작, 잠금 장치 등의 여러 시스템을 통해 동작한다.[11]

노리쇠 관련 용어는 특정 무기의 동작 유형보다 현대적인 유형의 회전 볼트 설계를 위해 종종 사용된다. 그러나 직선 당김 소총과 회전 볼트 소총은 모두 볼트 동작 소총의 한 종류이다. 레버 작동 및 펌프 작동 무기는 노리쇠를 작동해야 한다. 드라이제 니들 건이나 마우저 모델 1871과 같은 초기의 볼트 동작 설계는 여전히 림파이어 소총에 사용된다.[1]
대부분의 볼트액션 디자인은 회전식 볼트(또는 "돌리고 당기는" 방식) 디자인을 사용한다. 이는 사수가 손잡이를 위로 "회전"시켜 볼트를 약실에서 잠금 해제하고 격발핀을 장전한 다음, 뒤로 "당겨" 약실을 열고 사용한 탄피를 배출한 후, 다음 탄약을 약실에 장전하고 약실을 다시 잠그기 위해 전체 과정을 반대로 수행하는 것을 포함한다.
회전식 볼트액션 디자인에는 레밍턴 M-700, 마우저 시스템, 리-엔필드 시스템, 그리고 모신나강 시스템의 네 가지 주요 방식이 있다. 이 네 가지는 볼트가 수신기에 맞는 방식, 볼트 작동 시 볼트가 회전하는 방식, 총기 발사 시 볼트를 제자리에 고정하는 잠금 돌기의 수, 그리고 작동이 볼트 개방 시(마우저 시스템과 모신나강 시스템 모두) 또는 볼트 폐쇄 시(리-엔필드 시스템)에 장전되는지 여부에서 서로 다르다.
베테를리 소총은 군대에 처음으로 도입된 볼트액션 반자동소총이었다. 1869년부터 1890년경까지 스위스 육군에서 사용되었으며, 개량된 베테를리는 이탈리아 육군에서도 사용되었다. 노르웨이의 크라그-예르겐센 소총은 수신기의 오른쪽에 있는 게이트를 통해 장전된다는 점에서 볼트액션 소총 중 특이한 경우인데, 볼트를 열지 않고도 재장전할 수 있다.
볼트액션 방식은 크게 회전식 볼트액션 방식과 직동식(스트레이트풀) 볼트액션 방식으로 나뉜다.
;회전식 볼트액션 방식
:볼트에 직결된 볼트핸들(레버)을 들어올려 볼트를 회전시켜 약실의 폐쇄를 해제하고, 볼트를 뒤로 당겨 탄피를 배출한 후, 볼트를 앞으로 밀어 탄약을 약실에 장전하고, 볼트핸들을 내려 볼트를 회전시켜 약실을 폐쇄한다. 모젤 소총 등, 이 방식이 볼트액션 라이플의 주류이다.
;직동식(스트레이트풀) 볼트액션 방식
:볼트핸들을 그대로 뒤로 당겼다가 앞으로 돌리는 것만으로 개방, 배출, 장전, 폐쇄의 모든 동작이 완료된다. 따라서 회전식에 비해 작동 시간이 짧아져 발사 속도가 향상되는 장점이 있지만, 내부 구조가 복잡해지는 단점도 있다. 이 방식은 캐나다의 로스 소총(Ross rifle)이나 오스트리아의 만리히어 M1895, 스위스의 슈미트 루빈 M1889 등에 채용되었지만, 이 셋은 완전히 다른 구조이며, 군용총으로서는 슈미트 루빈 계열의 후손인 K31과 같은 성공 사례도 있었지만, 주로 강도상의 문제가 있어 볼트액션 라이플로서는 비주류이다.
콕킹 방식에 따른 분류로는 콕온 클로징 방식과 콕온 오프닝 방식이 있다.
;콕온 클로징 방식
:볼트핸들을 뒤로 당겼을 때, 격철과 역구(시어)가 물리고, 앞으로 밀어(돌리는) 과정에서 격철 스프링에 장력이 걸려 콕킹된다. 볼트핸들을 들어올리는 힘이 콕온 오프닝 방식에 비해 작아도 되지만, 폐쇄 시 콕킹이 이루어지는 만큼 폐쇄 시 볼트의 동작에 약간 부드러움이 부족한 경향이 있다. 근대적인 군용총에서는 리-엔필드가 대표적인 예이다.
;콕온 오프닝 방식
:볼트핸들을 들어올릴 때, 볼트 본체와 격철 사이의 캠이 격철을 뒤로 밀어 격철 스프링에 장력을 걸고, 역구와 물림으로써 콕킹이 성립되어, 볼트핸들을 내리면 발사 가능 상태가 되는 방식이다. 따라서 볼트핸들을 들어올릴 때 힘이 필요하다. 초기 볼트액션에서는 그라스 소총이나 무라타 소총이 이 방식을 채용했고, 모젤도 이 방식을 채용했기 때문에 현재의 볼트액션 대부분이 이 방식을 사용하고 있다.
역사상 많은 볼트액션이 회전식을 채용해 왔지만, 근대적인 볼트액션은 볼트 본체(액션)의 설계에 따라 다음 3가지 계열(3대 볼트액션 시스템이라고도 불림)로 분류할 수 있다.
;모젤 계열
:독일의 모젤(마우저)이 개발한 계열로, 가장 유명한 것은 1898년에 완성된 Gew98을 필두로 하는 모젤 M98 액션이다. 기술적 특징은 콕킹에 콕온 오프닝 방식을 채용하고 있으며, 볼트핸들과 볼트 본체가 모두 일체가 되어 회전한다.
;리-엔필드 계열
:
:영국에서 개발된 계열로, 1888년의 리-메트포드에서 처음 채용되어 리-엔필드가 대표적인 예로 널리 보급되었다. 기술적 특징은 콕킹에 콕온 클로징 방식을 채용하고 있으며, 볼트핸들과 볼트 본체는 일체화되어 있지만, 볼트 헤드만이 분리식 별부품이 되어 있으며, 볼트 헤드는 개폐 조작 시 항상 같은 방향을 향한 채 회전하지 않는 것이 특징이다.
;모신나간 계열
:
:러시아에서 1891년에 개발된 계열로, 기본은 콕온 오프닝 방식이며 볼트 헤드 쪽에 2개의 로킹 라그를 갖지만, 볼트 관련 부품이 모두 일체 부품으로 제조되는 모젤 계열과 달리, 모신나간 계열의 볼트는 2피스 구조로, 볼트 본체 부분은 개폐 조작 시 회전하지 않고 볼트핸들과 볼트헤드만이 일체가 되어 회전하는 구조를 채택하고 있다.
4. 1. 볼트 액션식 소총
- 아크틱 워페어 시리즈
- 아리사카 시리즈
- 베르티어 라이플
- 브라우닝 A-Bolt
- 카르카노 라이플
- K31
- Krag–Jørgensen
- 르벨 M1886
- M1903 스프링필드
- M1917
- Mosin–Nagant
- 레밍턴 700
- Ruger M77
- 윈체스터 라이플
4. 2. 기타 소총 동작 방식
주어진 원본 소스에는 '기타 소총 동작 방식'에 대한 내용이 명시되어 있지 않다. 따라서 해당 섹션에는 작성할 내용이 없다.4. 2. 1. 반자동소총
반자동소총은 반자동으로만 사격이 가능한 자동소총이다. 돌격소총의 미국 시장 민수용 버전은 포함되어 있지 않다.전투소총은 문맥에 따라 여러 의미를 가질 수 있으나, 보통 돌격소총용 소총탄보다 강한 소총탄을 사용하는 자동소총을 말한다. 전투소총용 탄으로 대표적인 것이 7.62 × 51 mm NATO이다. 제2차 세계 대전 이후 개발된 FN FAL, 헤클러&코흐 G3, M14 소총과 같은 전투소총들은 보통 완전자동 사격 기능을 가지고 있지만, 강한 반동으로 인해 실효성이 적다. 이 때문에 실제로 제식 채용될 때는 반자동 사격만 가능하도록 변형되는 경우가 많았다.
| 반자동 소총의 예시 | |
|---|---|
| 개발국 | 이름 |
| 독일 | 헤클러&코흐 G3 |
| CHARLTON AUTOMATIC RIFLE | |
| 벨기에 | FN FAL |
| FN SAFN-49 | |
| 칠레 | FAMAE FD-200 |
| 그리스 | CHROPI RIFLE |
| 소비에트 연방 | AVS-36 시모노프 |
| SKS 시모노프 | |
| SVT-40 | |
| 스웨덴 | AG-42 Ljungman |
| 일본 | 일본 64식 소총 |
| 조선민주주의인민공화국 | 조선인민군 63식 보총 |
| 중화인민공화국 | 중국 56식 소총 |
| 체코슬로바키아 | Vz52 소총 |
| ZH29 | |
| 미국 | AR-16 |
| MODEL 45A | |
| M1 개런드 | |
| M1 카빈 | |
| M14 소총 | |
| M1941 존슨 | |
| OLIN/WINCHESTER FAL | |
| THOMPSON AUTORIFLE | |
참조
[1]
서적
Evolution of Weapons and Warfare
Bobbs-Merrill
1980
[2]
서적
Description des machines et procedes specifies dans les brevets d'invention, de perfectionnement et d'importation, dont la duree est expirée ...
https://books.google[...]
Bouchard-Huzard
1855
[3]
서적
Abridgments of the Specifications Relating to Fire-arms and Other Weapons, Ammunition, and Accoutrements: A.D. 1588–1858]-Pt. II. A.D. 1858–1866
https://books.google[...]
George E. Eyre and William Spottiswoode, pub. at the Great seal patent office
1859
[4]
서적
English Patents of Inventions, Specifications: 1862, 1522 – 1600
https://books.google[...]
H.M. Stationery Office
1862
[5]
서적
Guns and Rifles of the World
Chancellor Press
1965
[6]
서적
To be a military sniper
http://worldcat.org/[...]
Zenith Press
2007
[7]
백과사전
Firearms: History
http://dx.doi.org/10[...]
John Wiley & Sons, Ltd
2021-04-03
[8]
웹사이트
NRA Museums
http://www.nramuseum[...]
[9]
서적
English Patents of Inventions, Specifications: 1855, 1419 – 1481
https://books.google[...]
[10]
서적
Firearms Past and Present
[11]
웹사이트
Make Bolt Action Run Smoothly
https://www.tactec.c[...]
2022-03-29
[12]
웹사이트
.315" Sporting Rifle
http://rfi.gov.in/bo[...]
2021-04-12
[13]
저널
The SWING SIN71 Rifle Prototype
https://nra.org.uk/w[...]
National Rifle Association
2022-09-01
[14]
웹사이트
Straight pull rifles
https://rifle-shoote[...]
2024-06-26
[15]
웹사이트
Browning Maral / Straight-Pull Rifles Reviews
https://www.gunmart.[...]
2021-04-12
[16]
웹사이트
Beretta introduces the BRX1 hunting straight-pull repeater
https://www.all4shoo[...]
[17]
웹사이트
Premiere at Haenel: the new Jaeger NXT straight-pull repeater
https://www.all4shoo[...]
[18]
웹사이트
Chapuis Armes "ROLS": New Straight Pull Bolt Action Rifle –
https://www.thefirea[...]
2021-04-12
[19]
웹사이트
Heym SR30 straight-pull rifle review review
https://www.shooting[...]
2021-04-12
[20]
웹사이트
Lynx 94 Review
https://www.sporting[...]
2021-04-12
[21]
웹사이트
Titan 16 straight-pull rifle review
https://www.shooting[...]
2021-04-12
[22]
웹사이트
Brand new 2021: Savage Impulse, the new straight-pull rifle from the USA
https://www.all4shoo[...]
[23]
웹사이트
Strasser RS Solo review
https://www.shooting[...]
2021-04-12
[24]
웹사이트
German Straight Pull Bolt Action Rifles by Steel Action –
https://www.thefirea[...]
2021-04-12
[25]
특허
Patent DE3432537A1 (expired)
https://patents.goog[...]
[26]
특허
DE3432537A1 Repeater rifle, especially as a sporting rifle, such as for biathlon
https://worldwide.es[...]
[27]
웹사이트
This German invention is used in 95% of rifles in biathlon
https://qz.com/54254[...]
G/O Media
2023-03-23
[28]
웹사이트
Get a Handle on It
https://www.shooting[...]
2021-04-12
[29]
웹사이트
419 Bolt Knobs – Area 419
https://www.area419.[...]
2021-04-12
[30]
웹사이트
Review: KRG Remington Action Bolt Lift Oversized Bolt Handle Knob
https://www.alloutdo[...]
2021-04-12
[31]
저널
Haggerty, Joan.Daughters of the Moon. Indianapolis, Ind. : Bobbs‐Merrill, 1971, and Thomas, Audrey.MunchmeyerandProspero on the Island. Indianapolis, Ind.: Bobbs‐Merrill, 1971.
http://dx.doi.org/10[...]
1973-04
[32]
웹사이트
Graphique A5.5. Écart de score entre les élèves entre le quartile des établissements les moins défavorisés et le quartile des établissements les plus défavorisés, et entre les élèves dont la mère est peu instruite et les élèves dont la mère est très instr
http://dx.doi.org/10[...]
2021-12-05
[33]
서적
Patents for inventions: abridgments of specifications relating to farriery : including the medical and surgical treatment of animals, A. D. 1719-1866 - 1867-1876.
http://dx.doi.org/10[...]
Printed by George E. Eyre and William Spottiswoode,
1872
[34]
저널
Recent American Inventions
http://dx.doi.org/10[...]
1862-02-01
[35]
저널
Guns and Rifles of the World. By Howard L. Blackmore. 12 × 9. Pp. 134 + 145 pls., one in colour, + 189 text-figs. London: Batsford, 1965. £7. 7s.
http://dx.doi.org/10[...]
1966-09
[36]
서적
To be a military sniper
https://www.worldcat[...]
Zenith Press
2007
[37]
저널
Firearms: History
http://dx.doi.org/10[...]
John Wiley & Sons, Ltd
2011-09-15
[38]
서적
Patents for inventions : abridgments of specifications : Class 62, harness and saddlery: period--A.D. ...
http://dx.doi.org/10[...]
H.M. Stationery Office
1905
본 사이트는 AI가 위키백과와 뉴스 기사,정부 간행물,학술 논문등을 바탕으로 정보를 가공하여 제공하는 백과사전형 서비스입니다.
모든 문서는 AI에 의해 자동 생성되며, CC BY-SA 4.0 라이선스에 따라 이용할 수 있습니다.
하지만, 위키백과나 뉴스 기사 자체에 오류, 부정확한 정보, 또는 가짜 뉴스가 포함될 수 있으며, AI는 이러한 내용을 완벽하게 걸러내지 못할 수 있습니다.
따라서 제공되는 정보에 일부 오류나 편향이 있을 수 있으므로, 중요한 정보는 반드시 다른 출처를 통해 교차 검증하시기 바랍니다.
문의하기 : help@durumis.com
