에어백
"오늘의AI위키"의 AI를 통해 더욱 풍부하고 폭넓은 지식 경험을 누리세요.
1. 개요
에어백은 자동차 충돌 시 탑승자를 보호하기 위해 설계된 안전 장치로, 안전벨트와 함께 작동하여 부상을 최소화하는 데 기여한다. 1950년대에 아이디어가 처음 제시되었으며, 1970년대 중반 미국에서 처음으로 실용화되었다. 운전석, 조수석, 측면, 커튼, 무릎 등 다양한 종류가 있으며, 충돌 시 센서가 감지하여 가스를 발생시켜 에어백을 팽창시키는 방식으로 작동한다. 에어백은 안전벨트 착용을 전제로 설계되었으며, 법규 및 안전 기준에 따라 차량에 장착이 의무화되고 있다. 또한, 항공우주 산업, 오토바이, 스키, 스노보드 등 다양한 분야에도 응용되고 있다.
더 읽어볼만한 페이지
- 탈것 부품 - 안전벨트
안전벨트는 차량 탑승자를 보호하기 위해 좌석에 부착된 안전 장치로, 사고 시 탑승자가 차량 내부 구조물과 충돌하거나 밖으로 튕겨져 나가는 것을 막아 부상 감소 및 생존율 증가에 기여하며, 1959년 닐스 볼린에 의해 개발된 3점식 안전벨트가 현재까지 널리 사용되고 있다. - 탈것 부품 - 백미러
백미러는 차량의 후방 시야 확보를 위해 사용되는 장치로, 다양한 종류가 있으며 운전자의 눈부심을 줄이기 위한 기능과 후방 카메라 시스템으로 시야를 개선하기도 한다. - 자동차 안전 기술 - 와이퍼
와이퍼는 차량 앞 유리의 비나 눈을 제거하여 시야를 확보하는 장치로, 수동식에서 자동 전동식, 강우 감지식 등으로 발전해왔으며, 전기 모터 구동 방식이 일반적이고, 스포일러, 윈드스크린 워셔, 자동 작동 기능 등이 추가되었으며, 고무 블레이드는 정기적인 교체가 필요하다. - 자동차 안전 기술 - 음주측정기
음주측정기는 호흡 속 알코올 양을 측정해 혈중알코올농도를 간접적으로 측정하는 장치로, 다양한 기술을 거쳐 개발되었으며, 측정 정확도는 여러 요인에 영향을 받고 법 집행 및 개인용으로 사용되며 법적 논쟁도 존재한다. - 20세기 발명품 - 텔레비전
텔레비전은 움직이는 영상과 소리를 전기 신호로 변환하여 전송하고 수신 측에서 다시 영상과 소리로 바꾸는 기술을 이용한 매체로, 닙코프 원판을 이용한 초기 기계식 방식에서 음극선관 발명을 통해 전자식으로 발전하여 디지털 기술과 다양한 디스플레이 기술 발전을 거쳐 현재에 이르렀으며 사회, 문화, 경제적으로 큰 영향을 미치지만 건강 문제 및 부정적 콘텐츠 노출 등의 부작용도 존재한다. - 20세기 발명품 - 태양 전지
태양전지는 빛 에너지를 전기 에너지로 변환하는 장치로, 기술 발전을 거듭하여 발전 효율이 크게 향상되었고 다양한 분야에 응용되고 있으며, 고집광 태양전지와 페로브스카이트 태양전지 등의 새로운 기술 개발과 투자가 지속적으로 요구되는 지속 가능한 에너지원이다.
| 에어백 | |
|---|---|
| 지도 정보 | |
| 기본 정보 | |
| 명칭 | 에어백 |
| 영어 명칭 | Airbag |
| 종류 | 자동차 안전 장치 |
| 역사 | |
| 개발 시기 | 1950년대 |
| 최초 개발자 | 존 헤트릭 월터 린더 |
| 작동 원리 | |
| 작동 방식 | 급격한 감속 감지 시 가스 팽창 |
| 팽창 물질 | 질소 가스 |
| 주요 부품 | |
| 센서 | 충돌 감지 센서 |
| 제어 장치 | 에어백 제어 장치 |
| 팽창기 | 가스 발생기 |
| 에어백 | 나일론 또는 폴리아미드 직물 주머니 |
| 장착 위치 | |
| 운전석 | 핸들 중앙 |
| 조수석 | 대시보드 |
| 앞좌석 | 좌석 측면 |
| 뒷좌석 | 좌석 측면 또는 커튼형 |
| 위험성 | |
| 안전 위험 | 과도한 팽창 시 부상 가능성 |
| 주의 사항 | 어린이는 조수석 에어백에 주의 안전벨트와 함께 사용 충돌 후 에어백 교체 필요 |
| 기타 | |
| 관련 단체 | 미국 고속도로 안전보험협회 (IIHS) |
| 시장 전망 | 글로벌 자동차 에어백 시장 성장 추세 |
| 사고 사례 | 가벼운 충격에도 에어백 작동으로 인한 사망 사고 발생 |
| 관련 정보 | 미국 고속도로 안전보험협회 에어백 정보 글로벌 자동차 에어백 시장 전망 (Valient Automotive Market Research) 에어백 발명 역사 (ThoughtCo) 에어백 개수 관련 정보 (cars.com) 가벼운 충격에 에어백 '펑', 조수석 3살배기 사망 (MBC 뉴스) |
2. 역사
1953년에 미국인 토목 기사 존 헤트릭이 에어백 특허를 따냈다.[200] 제품은 자동차 후드 밑에 압축 공기를 두고 차량 여러 곳에 공기주머니를 설치해서 충돌로 관성 질량이 가해지면 주머니 안에 공기가 주입되는 방식이었다. 그 후 1968년 탤리 디펜스 시스템즈에서 일하던 미국인 화학자 존 파에츠가 아지드화 나트륨과 금속 산화물을 이용한 고체 추진체를 개발했다. 이 최초의 질소 생성 고체 추진제는 성능이 뛰어나 기존 장치를 밀어내고 널리 보급되었다.[200]


최초의 항공기 및 자동차 에어백에 해당하는 발명은 두 명의 영국 치과의사인 Harold Round와 Arthur Parrott에 의해 1919년 미국에서 특허 출원되어 1920년에 승인된 특허까지 거슬러 올라갈 수 있다.[163][164]
다른 용도의 공기로 부풀리는 쿠션 백은 1951년까지 사용되고 있었다.[165][166]
독일 기술자 Walter Linderer는 에어백의 메커니즘 특허를 1951년 10월 6일에 독일에서 출원하여 1953년 11월 12일에 승인받았다(독일 특허번호 #896,312). 충돌에 의해 스프링이 튀어 오르면 공기 압축기가 쿠션을 부풀리는 메커니즘이며, 현재의 더 빠른 반응 속도를 가진 화약이나 최신 전자 스위치 방식 장치와 비교하면, 이 기계식 에어백의 반응은 안전한 속도라고 할 수 없었다.[167][168]
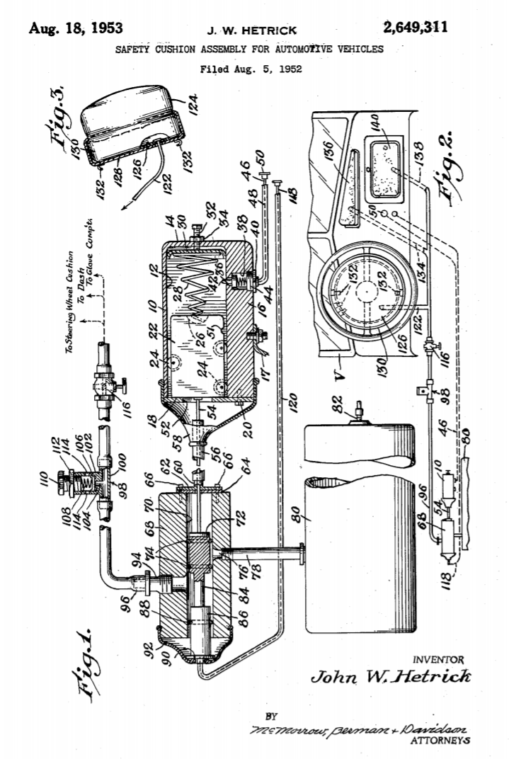
미국 해군 소속 기술자 John W. Hetrick은 현재의 에어백에 해당하는 안전 쿠션을 1952년에 설계하고 8월 5일에 특허를 출원하여, 이듬해인 1953년 8월 13일에 승인받았다(미국 특허번호 #2,649,311).[169][170][171][172] 어뢰에 사용되는 공기 압축 기술을 응용하여 자동차 사고의 안전성을 높이는 메커니즘이었다. Hetrick은 미국의 자동차 회사에서도 일했지만, 회사는 그의 발명을 상품화하는 데 관심을 보이지 않았고, 이 발명 이후 10년 이상이 지날 때까지 시장에 출시되지 않았다. 그의 발명이 처음으로 장착된 것은 1971년 포드 차량이었다.[173]
Allen K. Breed는 획기적인 충돌 감지 기술을 1960년대 후반에 발명했다. 이 기술에서는 자석에 의해 튜브에 달라붙은 철구로 만들어진 전자 기계식 센서로 충돌 후 30밀리초 만에 에어백 쿠션을 부풀릴 수 있었다.[174] 또한, 압축 공기가 아닌 아지화나트륨 폭발로 백을 부풀리는 기술도 처음으로 사용되었다.[168] Breed Corporation은 1967년에 이 기술을 크라이슬러 차량에 장착하여 처음으로 시장에 출시했다. 유사한 충돌 방지 장치 "Auto-Ceptor"는 Eaton Yale과 Towne Inc.에 의해 개발되어 포드에 장착되었다.[175][176] 이 기술은 곧 미국에서 자동차 안전 시스템으로 판매되었다.[177][178] 한편, 이탈리아의 Eaton-Livia 회사는 이것을 개량한 현지화된 에어백을 판매하고 있었다.[179]
후에, 전 세계적으로 널리 각 사에서 사용하게 된 화약을 사용하여 작동시키는 방식의 에어백은 일본인 고보리 야스사부로(小堀保三郎)에 의해 발명되었다.[180][181] 일본에서의 이 에어백 발명은 1963년으로 거슬러 올라간다(앞서 언급한 유사하게 화약 작동식 에어백을 발명한 Allen K. Breed보다 빠르다). 특허 출원 대행업체인 GIC(Good Idea Center)를 경영하고 있었지만, 항공기 사고 등에서 충격을 완화시키고 생존율을 개선시키는 장치로 고안했다. 후에 일반적으로 장착되게 된 에어백이지만, 당시에는 너무나 기발한 발상이었기 때문에 발표 자리에서는 일본 관계자들로부터 비웃음을 샀고, 상대조차 되지 않았다. 또한, 에어백이 화약 사용이 당시 일본의 소방법에 저촉된다는 이유로 일본에서 에어백이 개발되지 못했다. 반면, 유럽과 미국 기업에서는 에어백의 연구, 개발이 진행되고, 그에 맞춰 법규도 정비되어 갔다. 개발이 진행됨에 따라 그 유용성이 인정되어 1970년경부터 일본에서도 본격적인 개발이 시작되었다. 현재 에어백은 전 세계 자동차에 거의 표준 장비로 되어 있지만, 고보리가 특허를 보유하고 있던 동안에는 실용화되지 않았기 때문에, 특허에 의한 수입이 없고 연구비 등으로 빚을 지고 있었다. 고보리는 에어백의 세계적인 보급을 알지 못한 채, 1975년 8월 30일, 생활고로 부부가 가스 중독으로 사망했다.[182]
에어백이 처음으로 실용화된 것은 1970년대 중반의 미국이었다. 당시 미국에서는 안전벨트 착용 의무화를 법제화하는 것에 대해 "낭만이 없어진다" 등의 이유로 반발이 있었다. 따라서, 안전벨트를 매지 않아도 죽지 않는 시스템을 제조사는 준비할 필요가 있었다. 1971년, 포드사가 고객의 차량에 에어백을 장착하여 모니터 조사를 실시했다. 1973년에는 제너럴 모터스(GM)가 캐딜락, 뷰익 등 수 차종에서 옵션 장착을 가능하게 했다. GM은 이 장비를 ''Air Cushion Restraint System''이라고 명명했다. 특히 캐딜락에서는 운전석과 조수석 모두에 에어백을 장착할 수 있었다. 하지만 매우 고가였고, 게다가 오작동에 의한 사고가 발생했기 때문에 1976년형 모델을 마지막으로 사라졌다.
1980년에는 다임러 (자동차 제조사)가 S클래스(2세대 모델)에 옵션으로 장착했다. 동사가 개발 당시에 취득한 특허는 '''안전은 모든 제조사가 향유해야 한다'''는 신념 아래 무상 공개되었다. 초기 에어백은 일부 제한된 고급차에 옵션 장비로 장착되는 것에 불과했지만, 점차 승용차 대부분에서 옵션으로 장착되거나 상급 모델에는 표준 장비로 장착되었다. 한때, 에어백 설정이 없는 자동차에도 장착할 수 있도록 후속 기계식 에어백(레트로핏 에어백)을 제조·판매하는 회사도 있었지만, 별로 팔리지 않아 현재는 구할 수 없게 되었다. 따라서, 사용자가 자신의 취향에 맞춰 범용의 시판 스티어링 휠로 변경한 경우, 원칙적으로 운전석 에어백을 장착할 수 없게 된다.[183]
일본차로 처음으로 양산차에 에어백이 장착된 것은 1987년에 혼다가 출시한 레전드(운전석만)에 장착된 타카타와 혼다의 공동 개발 에어백이었다.[184] 일본차로 처음으로 운전석 쪽을 전차에 표준 장착한 것은 1992년 출시의 동사의 도마니이다.[185][186] 일본차에서는 1990년대 중반부터 급속히 보급되었다. 당시 닛산은 자동차 자체는 그렇다 치더라도 에어백만을 홍보하는 듯한 CM을 방송할 정도였다. 1999년까지 판매된 차종의 에어백 화약에는 인체에 유해한 아지화나트륨이 사용된 것이 문제시되어, 2000년 이후의 판매 차량에는 사용되지 않고 있다.
세단 등 일반적인 자동차에서는 일찍부터 개발이 진행되었지만, SUV나 크로스컨트리 차량 등 오프로드 주행을 중시한 자동차에서는 개발이 늦었다(1993년의 미쓰비시 파제로가 세계 최초). 이것은 오프로드 주행 시의 충격과 에어백이 필요한 충돌 사고의 충격을 판별하는 것이 어려웠기 때문이다.
2009년 현재 일부 저가 차종을 제외하고, 미일유의 대기업 자동차 제조사의 거의 모든 차종의 운전석·조수석에 표준 장착되어 있다(그 이외는 현재도 옵션 장착인 것이 많다). 유일하게 볼보에서는 차량 구입 시 조수석 에어백을 장착하지 않는 선택도 가능하다. 또한, 조수석 에어백의 작동을 일시적으로 취소하는 기능이나, 차량 구입 후에도 조수석 에어백을 작동하지 않는 상태로 하는 서비스도 있다. 이것은 조수석에 어린아이를 태우고 운전하는 사용자나 택시로 사용하는 사용자에 대한 배려이다.[187]
운전석·조수석의 좌석 사이드 부분에 내장된 '''사이드 에어백''', 루프 라이닝의 사이드 부분에 내장된 '''커튼 에어백''', 대시보드 하부에 내장된 하체를 보호하는 '''니 에어백'''도 장착되게 되었다. 그 후, 승용차는 물론, 경차, 화물자동차, 버스에도 장착되고 있다. 그러나, 유럽 제조사와 비교하면 많은 일본 제조사는 사이드·커튼 에어백의 표준 장착이 늦었고, 저가 등급에서는 옵션조차 선택할 수 없는 경우도 많다. 그뿐만 아니라, 마이너 체인지를 기회로 옵션 설정에서 제외된 차종도 존재한다. 경차에서는 현재에도 사이드·커튼 에어백의 설정이 없는 차종이 많다.
일부 차종에서는 핸들과 조수석 에어백에 외부에서 보아도 볼록하거나 끊김이 없는(즉, 장착되지 않은 것처럼 보이는) 차종이 증가했다. 그 이유로 질감 향상과 운전자의 시선을 방해하지 않도록 하는 것을 목적으로 하고 있다. 부품 모듈화와 CAD 기술의 발전, 독일산 레이저 절단기의 도입에 큰 영향을 받고 있다.
또한, 기계식 에어백 내장 스티어링 휠(예: 에어백 장착이 시작된 무렵의 토요타 카리나, 토요타 코로나 등) 스티어링의 경우, 스티어링 휠과 관련된 정비(장착·탈착 포함) 시의 충격에 의한 의도하지 않은 작동을 방지하기 위한 안전 장치(디아밍 기구)가 스티어링 휠 본체에 설치되어 있는 경우가 많으므로 취급 시에는 주의를 요한다.
2. 1. 기원
에어백의 기원은 1919년 버밍엄의 두 치과의사 아서 패롯(Arthur Parrott)과 해롤드 라운드(Harold Round)가 미국에 "항공기 및 기타 차량 부품 커버용" 특허를 출원하여 1920년에 승인받은 것으로 거슬러 올라간다.[11][12][163][164] 1951년에는 독일 엔지니어 발터 린더러(Walter Linderer)가 압축 공기를 이용한 에어백 특허를 출원하여 1953년에 승인받았다.[167][168] 그는 압축공기를 이용하여 작동했지만, 반응 속도가 느려 안전 속도를 보장할수 없었다.[167][168]1952년, 미국 해군 기술자 존 W. 헤트릭은 압축 공기를 사용하는 자동차용 에어백 특허를 출원, 1953년에 승인받았다.[15][16][17][169][170][171][172] 헤트릭은 해군 어뢰 작업 경험을 바탕으로 에어백을 고안했지만, 당시 주요 자동차 제조업체들은 그의 아이디어에 투자하지 않았다.[20][21] 그의 발명은 1971년 포드 차량에 처음으로 장착되었다.[173]
1960년대 후반, 앨런 K. 브리드(Allen K. Breed)는 충돌 감지 센서와 아지화나트륨을 이용한 에어백 팽창 기술을 개발했다.[26][168][174] 이 기술은 30밀리초 이내에 에어백을 부풀릴 수 있었으며, 크라이슬러에 판매되었다.[19][26][174]
한편, 1963년 일본의 고보리 야스사부로(小堀保三郎)는 화약을 사용하여 작동하는 에어백을 발명하였지만,[180][181] 당시 일본의 소방법에 저촉되어 일본에서는 개발되지 못했다.[182] 그는 에어백의 세계적인 보급을 보지 못한채 1975년 8월 30일 사망했다.[182]
2. 2. 초기 상용화
1953년에 미국인 토목 기사 존 헤트릭이 에어백 특허를 따냈다.[200] 1971년, 포드는 에어백을 장착한 실험용 차량을 제작했다.[173] 1973년, 제너럴 모터스(GM)는 올즈모빌 토네이도에 승객용 에어백을 처음으로 장착한 미국 자동차를 생산했다. 1974년, GM은 캐딜락, 뷰익, 올즈모빌 모델에 에어백 시스템(ACRS)을 옵션으로 제공했다. GM은 이 장비를 ''Air Cushion Restraint System''이라고 명명했다.1980년에는 다임러 (자동차 제조사)가 S클래스(2세대 모델)에 옵션으로 장착했다.[183] 초기 에어백은 일부 제한된 고급차에 옵션 장비로 장착되는 것에 불과했지만, 점차 승용차 대부분에서 옵션으로 장착되거나 상급 모델에는 표준 장비로 장착되었다.
2. 3. 일본의 에어백 개발
고보리 야스사부로(小堀保三郎)는 1963년에 화약을 사용하여 작동시키는 에어백 시스템을 발명했다.[180][181] 이는 앨런 K. 브리드(Allen K. Breed)보다 빠른 것이었다. 고보리는 특허를 획득했지만, 당시 일본 법규와 사회적 인식 부족으로 인해 상용화에는 실패했고, 1975년 8월 30일 생활고로 인해 부부가 가스 중독으로 사망했다.[182]1987년, 혼다는 타카타와 공동 개발한 에어백을 레전드 모델에 처음으로 장착했다.[184] 1992년에는 도마니 모델에 운전석 에어백을 전 차종에 표준 장착했다.[185][186] 1990년대 중반부터 일본 자동차 제조사들은 에어백을 적극적으로 도입하기 시작했다. 당시 닛산은 에어백만을 홍보하는 듯한 CM을 방송하기도 했다.
1999년까지 판매된 차종의 에어백 화약에는 인체에 유해한 아지화나트륨이 사용되었으나, 2000년 이후 판매 차량에는 사용되지 않고 있다.
2. 4. 대한민국 에어백 도입 및 발전
1980년대 다임러 (자동차 제조사)는 고급차 S클래스(2세대 모델)에 에어백을 옵션으로 장착했다.[183] 초기 에어백은 일부 제한된 고급차에 옵션으로 장착되었지만, 점차 승용차 대부분에서 옵션으로 장착되거나 상급 모델에는 표준 장비로 장착되었다.[183]일본에서는 1987년 혼다가 출시한 레전드에 타카타와 혼다의 공동 개발 에어백이 운전석에 처음으로 장착되었다.[184] 1992년에는 도마니가 일본차 최초로 운전석 에어백을 전 차종에 표준 장착했다.[185][186] 1990년대 중반부터 일본차에 에어백이 급속히 보급되었다.[186]
대한민국 자동차 제조사들은 1990년대 중후반부터 에어백을 옵션 또는 상위 트림 기본 사양으로 도입하기 시작했다. 1995년 4월에는 대한민국에서 에어백 작동으로 인한 첫 사망 사고가 보고되었는데, 이는 안전벨트를 착용하지 않은 상태에서 발생했다.
2000년대 초반, 운전석 및 조수석 에어백이 대부분의 차량에 기본 장착되기 시작했다. 2010년대 이후에는 사이드 에어백, 커튼 에어백, 무릎 에어백 등 다양한 종류의 에어백이 고급 차종을 중심으로 적용되기 시작했다.
2021년, 대한민국 정부는 모든 신차에 앞좌석 에어백 2개 장착을 의무화했다.[128]
3. 작동 원리
차의 속도가 갑작스럽게 떨어지면 에어백에 달려 있던 충돌 센서가 기폭제에 전기 신호를 보낸다. 그러면 가느다란 전선이 과열되면서 아지드화 나트륨을 주원료로 만든 신관에 불을 당겨 화학 반응을 일으킨다. 불꽃 연쇄 반응이라고도 하는 이 과정에서 무해한 질소가 발생되어 에어백을 부풀렸다가 사람이 에어백에 부딪히고 나면 뒤쪽 구멍으로 빠져나가는 것이다. 에어백이 부풀어 오르는 시간은 0.08초 정도밖에 되지 않으며 0.1초 만에 쭈그러들기 시작해 0.33초경에는 공기가 완전히 빠져 버린다. 에어백은 일회용이므로 한 번 터지고 나면 반드시 자동차 정비소나 대리점에 가서 교체해야 한다.[201]
차량의 에어백은 중앙 에어백 제어 장치[104](ACU, Airbag Control Unit)라는 특정 유형의 ECU에 의해 제어된다. ACU는 가속도계, 충격 센서, 측면(도어) 압력 센서,[105][106] 차륜 속도 센서, 자이로스코프, 브레이크 압력 센서 및 시트 점유 센서를 포함한 차량 내 여러 관련 센서를 모니터링한다. ACU는 종종 이러한 센서 데이터와 기타 센서 데이터를 원형 버퍼에 기록하고 온보드 비휘발성 메모리에 기록하여 조사관에게 충돌 사건의 스냅샷을 제공한다. 따라서 ACU는 종종 차량의 이벤트 데이터 레코더 역할을 한다.
에어백 자체와 팽창 메커니즘은 운전대 보스(운전자용) 또는 대시보드(조수석용) 내부에 에어백이 팽창하는 힘으로 찢어지도록 설계된 플라스틱 플랩이나 도어 뒤에 숨겨져 있다. 필요한 임계값에 도달하거나 초과하면 에어백 제어 장치가 가스 발생기 추진제의 점화를 트리거하여 직물 백을 빠르게 팽창시킨다. 차량 탑승자가 에어백과 충돌하여 압착하면 작은 통풍구를 통해 가스가 제어된 방식으로 빠져나갑니다. 에어백의 부피와 에어백의 통풍구 크기는 각 차량 유형에 맞게 조정되어 안전벨트만 사용하는 경우와 비교하여 시간 경과에 따라 그리고 탑승자의 신체에 걸쳐 탑승자의 감속(및 따라서 탑승자가 경험하는 힘)을 분산시킨다.
다양한 센서의 신호는 에어백 제어 장치로 전달되며, 이를 통해 충격 각도, 심각도 또는 충돌력과 기타 변수를 결정한다. 이러한 계산 결과에 따라 ACU는 안전벨트 프리텐셔너 및/또는 에어백(운전자 및 조수석용 전면 에어백, 시트 장착 측면 에어백 및 측면 유리를 덮는 "커튼" 에어백 포함)과 같은 다양한 추가적인 구속 장치를 전개할 수도 있다. 각 구속 장치는 일반적으로 이니시에이터 또는 전기 점화장치라고 하는 하나 이상의 파이로테크닉 장치로 활성화된다. 가연성 물질로 감싼 전기 도체로 구성된 전기 점화장치는 2밀리초 이내에 1~3암페어의 전류 펄스로 활성화된다. 도체가 충분히 가열되면 가연성 물질에 점화되어 가스 발생기를 작동시킨다. 안전벨트 프리텐셔너에서는 이 고온 가스를 피스톤을 구동하는 데 사용하여 안전벨트의 느슨한 부분을 당긴다. 에어백에서는 이니시에이터를 사용하여 에어백 인플레이터 내부의 고체 추진제에 점화한다. 연소 추진제는 불활성 가스를 생성하여 약 20~30밀리초 내에 에어백을 빠르게 팽창시킨다. 에어백은 전방으로 이동하는 탑승자가 외면에 도달할 때까지 완전히 팽창하도록 신속하게 팽창해야 한다. 일반적으로 정면 충돌에서 에어백을 전개할지 여부는 충돌 발생 후 15~30밀리초 이내에 결정되며, 운전자와 조수석 에어백은 차량 접촉 첫 순간 후 약 60~80밀리초 내에 완전히 팽창한다. 에어백이 너무 늦거나 너무 느리게 전개되면 팽창하는 에어백과의 접촉으로 인한 탑승자 부상 위험이 증가할 수 있다. 일반적으로 탑승자와 계기판 사이의 거리가 더 멀기 때문에 조수석 에어백이 더 크고 채우는 데 더 많은 가스가 필요하다.
구형 에어백 시스템에는 아지드화나트륨(NaN3), KNO3 및 SiO2의 혼합물이 포함되어 있었다. 일반적인 운전석 에어백에는 약 50~80g의 NaN3가 포함되어 있으며, 더 큰 조수석 에어백에는 약 250g이 포함되어 있다. 충격 후 약 40밀리초 이내에 이러한 모든 구성 요소는 질소 가스를 생성하는 세 가지 별도의 반응으로 반응한다. 반응은 다음과 같다.
# 2 NaN3 → 2 Na + 3 N2 (g)
# 10 Na + 2 KNO3 → K2O + 5 Na2O + N2 (g)
# K2O + Na2O + 2 SiO2 → K2SiO3 + Na2SiO3
처음 두 반응은 4몰 당량의 질소 가스를 생성하고, 세 번째 반응은 나머지 반응물을 비교적 불활성인 규산칼륨과 규산나트륨으로 전환한다. NaNO3와 같은 것이 아니라 KNO3를 사용하는 이유는 흡습성이 적기 때문이다.
초기 반응물의 입자 크기는 안정적인 작동에 중요하며, NaN3 및 KNO3는 10~20 µm이어야 하며 SiO2는 5~10 µm이어야 한다.[107]
에어백에 독성이 적은 반응물을 사용하기 위한 노력이 계속되고 있다.[108]
NaN3 구동 에어백에 대한 또 다른 타당한 대안을 포함하는 특허에서 가스 생성 물질에는 과산화구아니딘, 5-아미노테트라졸, 바이테트라졸 이수화물, 니트로이미다졸 및 염기성 질산구리의 사용이 포함되었다.
전면 에어백은 일반적으로 측면, 후면 또는 전복 충돌 시 탑승자를 보호하지 않으며,[111] 에어백은 한 번만 전개되고 초기 충격 후 빠르게 수축되므로 후속 충돌 시 유용하지 않다. 안전벨트는 다양한 유형의 충돌에서 부상 위험을 줄이는 데 도움이 된다. 안전벨트는 에어백의 이점을 극대화하기 위해 탑승자를 적절한 위치에 배치하고 초기 및 그 이후 충돌 중에 탑승자를 구속하는 데 도움이 된다.
전복 감지 시스템이 장착된 차량에서는 가속도계와 자이로스코프를 사용하여 전복 사건의 시작을 감지한다. 전복 사건이 임박한 것으로 판단되면 사이드 커튼 에어백이 전개되어 탑승자가 차량 내부 측면과 접촉하는 것을 방지하고 차량이 전복될 때 탑승자의 튕겨나감을 방지하는 데 도움이 된다.
에어백은 승용차 등 고속 이동체 탑승자 주변에 장착되는 것이 대표적이지만, 예를 들어 휠체어와 같은 저속 이동체의 전도 방지 장치나, 각종 스턴트 행위의 부상 방지용 쿠션, 그리고 행성 간 이동체의 착륙 충격 완화 장치에도 이용되고 있다. 자동차용 에어백의 작동과정은 다음과 같다.
#차량이 충돌하면 가속도 센서가 반응한다. 센서에서 에어백 ECU로 가속도 정보가 전달된다.
#에어백 ECU는 내부에 있는 가속도 센서의 정보도 고려하여 에어백 전개 여부를 결정한다.
#전개 결정이 내려지면, 에어백 ECU는 에어백 모듈에 전개 지시를 한다.
#인플레이터(충전기. 에어 펌프의 일종)에서 화약을 폭발시켜 가스를 발생시켜 에어백을 0.01초 단위로 순간적으로 부풀린다. 이때, 수납부(일반적으로 운전석에서는 스티어링 휠 중앙부, 조수석에서는 대시보드 상부)를 뚫고 나온다.
#완전히 팽창하면, 백의 뒤쪽에 있는 구멍을 통해 즉시 가스가 빠져나가 에어백이 수축한다.
인간의 눈으로는 이 동작이 순식간에 이루어지는 것처럼 보인다.
; 구성 요소
에어백은 다양한 구성 요소로 이루어져 있으며, 탑승자의 안전을 위해 정밀하게 작동한다.
- 에어백 제어 장치(ACU): 차량 내부에 장착된 다양한 센서로부터 정보를 받아 에어백의 전개 여부를 결정하는 전자 제어 장치이다.
- 충돌 센서: 차량의 급격한 감속을 감지하여 충돌 발생 여부를 판단한다. 다양한 종류의 센서가 사용되는데, 여기에는 가속도계, 충격 센서, 측면 압력 센서, 차륜 속도 센서, 자이로스코프, 브레이크 압력 센서, 시트 점유 센서 등이 포함된다.[112] 초기에는 수은 스위치를 사용하기도 했으나, 마찰이나 히스테리시스가 거의 없는 롤라이트와 같은 기계 장치를 거쳐, 1990년대 중반 이후부터는 MEMS 가속도계가 주로 사용된다.[113] MEMS 가속도계는 집적 회로 내의 미세 기계 요소가 급격한 감속에 따라 움직이며 발생하는 정전 용량의 변화를 감지하여 작동 신호를 보낸다.
- 가스 발생기(인플레이터): 에어백을 팽창시키는 가스를 생성하는 장치이다. 점화기가 빠른 화학 반응을 일으켜 주로 질소 가스(N2)를 생성한다.[114][115] 초기에는 아지드화나트륨(NaN3)을 주원료로 사용했으나, 최근에는 니트로구아니딘, 상 안정화된 질산암모늄(NH4NO3) 등 다양한 추진제가 사용된다.[115]
- 에어백 모듈: 팽창된 에어백이 내장되어 있으며, 충돌 시 탑승자를 보호한다. 주로 스티어링 휠, 대시보드, 시트, 루프 등에 장착된다.
차량 충돌이 발생하면, 충돌 센서가 이를 감지하고 에어백 제어 장치에 신호를 보낸다. 에어백 제어 장치는 이 신호를 바탕으로 가스 발생기 내의 인플레이터 장치를 작동시켜 에어백을 팽창시킨다. 에어백은 0.04초 만에 완전히 팽창하여 탑승자를 보호하고, 이후 뒤쪽 구멍으로 가스가 빠져나가면서 0.33초 만에 완전히 수축한다.[201] 에어백은 일회용이므로, 한 번 작동하면 반드시 교체해야 한다.
; 작동 과정
차의 속도가 갑작스럽게 떨어지면 에어백에 달려 있던 충돌 센서가 기폭제에 전기 신호를 보낸다. 그러면 가느다란 전선이 과열되면서 아지드화 나트륨을 주원료로 만든 신관에 불을 당겨 화학 반응을 일으킨다. 불꽃 연쇄 반응이라고도 하는 이 과정에서 무해한 질소가 발생되어 에어백을 부풀렸다가 사람이 에어백에 부딪히고 나면 뒤쪽 구멍으로 빠져나가는 것이다. 에어백이 부풀어 오르는 시간은 0.08초 정도밖에 되지 않으며 0.1초 만에 쭈그러들기 시작해 0.33초경에는 공기가 완전히 빠져 버린다. 에어백은 일회용이므로 한 번 터지고 나면 반드시 자동차 정비소나 대리점에 가서 교체해야 한다.[201]
에어백은 차량 제작 규정에 따라 정의된 임계값보다 더 심각한 정면 및 거의 정면 충돌 시 작동하도록 설계되었다. 미국 규정은 23 km/h 장벽 충돌과 같은 감속으로 인한 충돌에서 작동을 요구하거나, 또는 유사하게, 각 차량의 정면 전체에 걸쳐 크기가 비슷한 정차 차량을 약 두 배의 속도로 충돌하는 경우를 요구한다.[112] 국제 규정은 기술 기반이 아니라 성능 기반이므로 에어백 작동 임계값은 전체 차량 설계의 기능이다.
충돌 시험과 달리 실제 충돌은 일반적으로 차량 정면에 직접 충돌하는 것이 아니며, 충돌력은 일반적으로 차량 정면에 고르게 분포되지 않는다. 따라서 실제 충돌에서 에어백을 작동시키는 데 필요한 충돌 차량 간의 상대 속도는 동등한 장벽 충돌보다 훨씬 높을 수 있다. 에어백 센서는 MEMS 가속도계로, 통합된 미세 기계 요소가 있는 작은 집적 회로이다.
수은 스위치를 사용한 초기 시도는 효과가 좋지 않았다. MEMS 이전에 에어백 작동에 사용된 주요 시스템은 "롤라이트"라고 불렸으며 샌디아 국립 연구소에서 개발되었다. 롤라이트 및 유사한 거시 기계 장치는 1990년대 중반까지 에어백에 사용되었으며, 그 이후로 MEMS로 전면적으로 대체되었다.
거의 모든 에어백은 온도가 150–200 °C에 도달하면 차량 화재 발생 시 자동으로 작동하도록 설계되었다.[113]
오늘날 에어백 작동 알고리즘은 훨씬 더 복잡해져 충돌 조건에 맞게 작동 속도를 조정하고 불필요한 작동을 방지할 수 있다. 알고리즘은 귀중한 지적 재산으로 간주된다. 실험적 알고리즘은 탑승자의 체중, 좌석 위치, 안전벨트 사용과 같은 요소를 고려하고, 유아용 카시트가 있는지 여부를 판별하려고 시도할 수도 있다.
전방 에어백이 작동될 때, 에어백 제어 장치 내의 인플레이터 장치로 신호가 전송된다. 점화기가 빠른 화학 반응을 시작하여 주로 질소 가스(N2)를 생성하여 에어백을 채우고 모듈 커버를 통해 전개되도록 한다. 초기 인플레이터 설계에서 일반적이었던 고도로 독성이 있는 아지드화나트륨(NaN3)을 포함하는 추진제는 사용된 에어백에서 독성 아지드화나트륨이 거의 또는 전혀 발견되지 않았다. 운전석 에어백에는 약 50g의 아지드화나트륨이 들어 있는 용기가 포함된다. 조수석 용기에는 약 200g의 아지드화나트륨이 들어 있다.[114]
대체 추진제는 니트로구아니딘, 상 안정화된 질산암모늄(NH4NO3) 또는 다른 비금속 산화제, 그리고 아지드가 아닌 질소가 풍부한 연료(예: 테트라졸, 트리아졸 및 그 염)의 조합을 포함할 수 있다.[115]
충돌 시작부터 전체 전개 및 팽창 과정은 약 0.04초이다. 차량은 충돌 시 속도가 매우 빨리 변하므로, 에어백은 탑승자가 차량 내부에 부딪히는 위험을 줄이기 위해 빠르게 팽창해야 한다.
에어백은 휠체어와 같은 저속 이동체의 전도 방지 장치나, 각종 스턴트 행위의 부상 방지용 쿠션, 그리고 행성 간 이동체의 착륙 충격 완화 장치에도 이용되고 있다. 자동차용 에어백의 작동과정은 다음과 같다.
#차량이 충돌하면 가속도 센서가 반응한다. 센서에서 에어백 ECU로 가속도 정보가 전달된다.
#에어백 ECU는 내부에 있는 가속도 센서의 정보도 고려하여 에어백 전개 여부를 결정한다.
#전개 결정이 내려지면, 에어백 ECU는 에어백 모듈에 전개 지시를 한다.
#인플레이터에서 화약을 폭발시켜 가스를 발생시켜 에어백을 0.01초 단위로 순간적으로 부풀린다. 이때, 수납부를 뚫고 나온다.
#완전히 팽창하면, 백의 뒤쪽에 있는 구멍을 통해 즉시 가스가 빠져나가 에어백이 수축한다.
; 에너지 흡수 원리
에어백은 탑승자의 운동 에너지를 가스의 운동 에너지로 변환하여 흡수하는 장치이다.[201] 예를 들어 브레이크는 차체의 운동 에너지를 열에너지로 변환하지만, 에어백은 이동체의 운동 에너지를 가스의 운동 에너지로 변환한다.

이동체가 에어백에 충돌하면 에어백의 부피가 감소하고 내부 압력이 높아진다. 에어백에는 배출구(벤트홀)가 있어 벤트홀을 통해 가스가 분출되면서 에너지가 흡수된다. 즉, 이동체가 에어백에 충돌하면 에어백 내부의 가스가 외부로 분출되며, 이는 에어백 내부에서 외부로 이동하는 가스의 운동 에너지로 대체되는 것이다.
가스의 운동 에너지는 이동하는 가스의 무게와 속도로 계산할 수 있다. 자동차용 에어백의 경우, 이동하는 가스의 무게를 25g, 벤트홀에서 나오는 가스의 속도를 350m/sec(고온의 음속 정도)라고 가정하면, 2000J의 에너지를 가진다는 것을 알 수 있다.

하지만 이러한 에너지 흡수(EA) 메커니즘은 에어백 내부 압력이 충분히 높아진 후에 나타나는 작용으로, 이동체 접촉 직후에는 일정 정도의 공주행(空走行)이 필요하다(위 그림 적색 선 참조). 즉, 이동체가 에어백에 접촉하여 압축되어 용량이 감소함으로써 압력이 상승하는 과정이 필요하다.
이는 쇼크업쇼버와 크게 다른 점인데, 쇼크업쇼버는 “정형의 용기”와 오일 같은 비압축성 물질을 사용할 수 있어 하중이 가해지면 즉시 내압이 높아지고 최소한의 스트로크로 저항이 발생할 수 있다.

반면 에어백은 “비정형의 주머니 형태”와 압축성 기체를 사용하므로, 접촉 초기에는 구조적으로 공주행 거리가 필요하며, 스트로크 후반에 이르러서야 저항이 발생하여 EA 효과를 발휘한다. 따라서 이상적인 EA와는 거리가 멀다. 이것은 컴팩트하게 수납할 수 있는 것과 상반되는 “에어백”의 운명이다(위 그림: 에어백과 쇼크업쇼버의 GS 파형 비교. 면적이 에너지).
자동차용 에어백의 초기 전개 시, 인플레이터의 가스압에 의해 급격히 이동하는데, 이때 "발생한 가스량이 에어백 용량보다 적다"면 에어백 내부는 음압이 된다. 이때 벤트홀을 통해 주변 공기를 에어백 내부로 흡입하는 아스피레이트 현상이 발생하여 인플레이터 출력보다 많은 가스를 에어백에 유입시키는 경우가 있다.
자동차용 에어백 중에는 벤트홀이 없는 것도 있다. 일반적인 커튼 에어백, 사이드 에어백, 니 에어백 등이 그러한데, 이들은 운전석·조수석용에 비해 백체의 두께가 얇기 때문에 벤트홀을 설치할 수 없고, 백체의 용량도 작기 때문에 백체 내부의 가스 이동에 의한 EA 효과도 기대할 수 없다. 따라서 에너지 흡수 효과는 거의 없고, 에어백을 압축하여 상승한 압력은 고무공처럼 다시 이동체를 튕겨내는 일로 전환된다. 그러나 이들은 차실 내부 구조물과 직접 접촉하는 것을 방지함으로써 충격을 완화하고, 피크 G의 저감에 기여하고 있다. 또한, 팽창한 후 잠시 형태를 유지하는 제품도 있으며, 그 형태가 기능으로서 충돌 안전에 기여하는 것도 있다.
비자동차 용도에서는 낙하하는 물체를 받쳐주기 위한 에어백이 존재하지만, 이들은 공간적 제약이 거의 없고, 에어백의 용량도 자동차용에 비해 매우 크기 때문에, 에어백 내부의 가스 이동만으로 에너지 흡수가 가능하다.
; 팽창 물질
차의 속도가 갑작스럽게 떨어지면 충돌 센서가 기폭제에 전기 신호를 보내 에어백이 작동한다. 초기 에어백 시스템에는 아지드화 나트륨(NaN3)이 주로 사용되었으나,[114] 독성 문제로 인해 현재는 다른 물질로 대체되고 있다. 아지드화 나트륨이 포함된 초기의 인플레이터 설계에서는 운전석 에어백에 약 50g, 조수석 에어백에 약 200g의 아지드화 나트륨이 사용되었다.[114]
대체 추진제로는 니트로구아니딘, 상 안정화된 질산암모늄(NH4NO3), 테트라졸, 트리아졸 및 그 염 등이 사용된다.[115] 그 외, 니트로셀룰로스 기반 추진제나 무기 산화제가 있는 고산소 무질소 유기 화합물 등이 대안으로 제시된다.
전방 에어백이 작동될 때, 에어백 제어 장치 내의 인플레이터 장치로 신호가 전송되어 빠른 화학 반응을 통해 주로 질소 가스(N2)를 생성하여 에어백을 채운다.[201] 에어백은 0.08초 안에 부풀어 오르며, 0.1초 만에 쭈그러들기 시작해 0.33초경에는 공기가 완전히 빠진다.[201]
3. 1. 구성 요소
에어백은 다양한 구성 요소로 이루어져 있으며, 탑승자의 안전을 위해 정밀하게 작동한다.- 에어백 제어 장치(ACU): 차량 내부에 장착된 다양한 센서로부터 정보를 받아 에어백의 전개 여부를 결정하는 전자 제어 장치이다.
- 충돌 센서: 차량의 급격한 감속을 감지하여 충돌 발생 여부를 판단한다. 다양한 종류의 센서가 사용되는데, 여기에는 가속도계, 충격 센서, 측면 압력 센서, 차륜 속도 센서, 자이로스코프, 브레이크 압력 센서, 시트 점유 센서 등이 포함된다.[112] 초기에는 수은 스위치를 사용하기도 했으나, 마찰이나 히스테리시스가 거의 없는 롤라이트와 같은 기계 장치를 거쳐, 1990년대 중반 이후부터는 MEMS 가속도계가 주로 사용된다.[113] MEMS 가속도계는 집적 회로 내의 미세 기계 요소가 급격한 감속에 따라 움직이며 발생하는 정전 용량의 변화를 감지하여 작동 신호를 보낸다.
- 가스 발생기(인플레이터): 에어백을 팽창시키는 가스를 생성하는 장치이다. 점화기가 빠른 화학 반응을 일으켜 주로 질소 가스(N2)를 생성한다.[114][115] 초기에는 아지드화나트륨(NaN3)을 주원료로 사용했으나, 최근에는 니트로구아니딘, 상 안정화된 질산암모늄(NH4NO3) 등 다양한 추진제가 사용된다.[115]
- 에어백 모듈: 팽창된 에어백이 내장되어 있으며, 충돌 시 탑승자를 보호한다. 주로 스티어링 휠, 대시보드, 시트, 루프 등에 장착된다.
차량 충돌이 발생하면, 충돌 센서가 이를 감지하고 에어백 제어 장치에 신호를 보낸다. 에어백 제어 장치는 이 신호를 바탕으로 가스 발생기 내의 인플레이터 장치를 작동시켜 에어백을 팽창시킨다. 에어백은 0.04초 만에 완전히 팽창하여 탑승자를 보호하고, 이후 뒤쪽 구멍으로 가스가 빠져나가면서 0.33초 만에 완전히 수축한다.[201] 에어백은 일회용이므로, 한 번 작동하면 반드시 교체해야 한다.
3. 2. 작동 과정
차의 속도가 갑작스럽게 떨어지면 에어백에 달려 있던 충돌 센서가 기폭제에 전기 신호를 보낸다. 그러면 가느다란 전선이 과열되면서 아지드화 나트륨을 주원료로 만든 신관에 불을 당겨 화학 반응을 일으킨다. 불꽃 연쇄 반응이라고도 하는 이 과정에서 무해한 질소가 발생되어 에어백을 부풀렸다가 사람이 에어백에 부딪히고 나면 뒤쪽 구멍으로 빠져나가는 것이다. 에어백이 부풀어 오르는 시간은 0.08초 정도밖에 되지 않으며 0.1초 만에 쭈그러들기 시작해 0.33초경에는 공기가 완전히 빠져 버린다. 에어백은 일회용이므로 한 번 터지고 나면 반드시 자동차 정비소나 대리점에 가서 교체해야 한다.[201]에어백은 차량 제작 규정에 따라 정의된 임계값보다 더 심각한 정면 및 거의 정면 충돌 시 작동하도록 설계되었다. 미국 규정은 23 km/h 장벽 충돌과 같은 감속으로 인한 충돌에서 작동을 요구하거나, 또는 유사하게, 각 차량의 정면 전체에 걸쳐 크기가 비슷한 정차 차량을 약 두 배의 속도로 충돌하는 경우를 요구한다.[112] 국제 규정은 기술 기반이 아니라 성능 기반이므로 에어백 작동 임계값은 전체 차량 설계의 기능이다.
충돌 시험과 달리 실제 충돌은 일반적으로 차량 정면에 직접 충돌하는 것이 아니며, 충돌력은 일반적으로 차량 정면에 고르게 분포되지 않는다. 따라서 실제 충돌에서 에어백을 작동시키는 데 필요한 충돌 차량 간의 상대 속도는 동등한 장벽 충돌보다 훨씬 높을 수 있다. 에어백 센서는 MEMS 가속도계로, 통합된 미세 기계 요소가 있는 작은 집적 회로이다. 가장 일반적으로 사용되는 MEMS 가속도계는 아나로그디바이스의 ADXL-50이다.
수은 스위치를 사용한 초기 시도는 효과가 좋지 않았다. MEMS 이전에 에어백 작동에 사용된 주요 시스템은 "롤라이트"라고 불렸으며 샌디아 국립 연구소에서 개발되었다. 롤라이트 및 유사한 거시 기계 장치는 1990년대 중반까지 에어백에 사용되었으며, 그 이후로 MEMS로 전면적으로 대체되었다.
거의 모든 에어백은 온도가 150–200 °C에 도달하면 차량 화재 발생 시 자동으로 작동하도록 설계되었다.[113]
오늘날 에어백 작동 알고리즘은 훨씬 더 복잡해져 충돌 조건에 맞게 작동 속도를 조정하고 불필요한 작동을 방지할 수 있다. 알고리즘은 귀중한 지적 재산으로 간주된다. 실험적 알고리즘은 탑승자의 체중, 좌석 위치, 안전벨트 사용과 같은 요소를 고려하고, 유아용 카시트가 있는지 여부를 판별하려고 시도할 수도 있다.
전방 에어백이 작동될 때, 에어백 제어 장치 내의 인플레이터 장치로 신호가 전송된다. 점화기가 빠른 화학 반응을 시작하여 주로 질소 가스(N2)를 생성하여 에어백을 채우고 모듈 커버를 통해 전개되도록 한다. 초기 인플레이터 설계에서 일반적이었던 고도로 독성이 있는 아지드화나트륨(NaN3)을 포함하는 추진제는 사용된 에어백에서 독성 아지드화나트륨이 거의 또는 전혀 발견되지 않았다. 운전석 에어백에는 약 50g의 아지드화나트륨이 들어 있는 용기가 포함된다. 조수석 용기에는 약 200g의 아지드화나트륨이 들어 있다.[114]
대체 추진제는 니트로구아니딘, 상 안정화된 질산암모늄(NH4NO3) 또는 다른 비금속 산화제, 그리고 아지드가 아닌 질소가 풍부한 연료(예: 테트라졸, 트리아졸 및 그 염)의 조합을 포함할 수 있다.[115]
충돌 시작부터 전체 전개 및 팽창 과정은 약 0.04초이다. 차량은 충돌 시 속도가 매우 빨리 변하므로, 에어백은 탑승자가 차량 내부에 부딪히는 위험을 줄이기 위해 빠르게 팽창해야 한다.
에어백은 휠체어와 같은 저속 이동체의 전도 방지 장치나, 각종 스턴트 행위의 부상 방지용 쿠션, 그리고 행성 간 이동체의 착륙 충격 완화 장치에도 이용되고 있다. 자동차용 에어백의 작동과정은 다음과 같다.
#차량이 충돌하면 가속도 센서가 반응한다. 센서에서 에어백 ECU로 가속도 정보가 전달된다.
#에어백 ECU는 내부에 있는 가속도 센서의 정보도 고려하여 에어백 전개 여부를 결정한다.
#전개 결정이 내려지면, 에어백 ECU는 에어백 모듈에 전개 지시를 한다.
#인플레이터에서 화약을 폭발시켜 가스를 발생시켜 에어백을 0.01초 단위로 순간적으로 부풀린다. 이때, 수납부를 뚫고 나온다.
#완전히 팽창하면, 백의 뒤쪽에 있는 구멍을 통해 즉시 가스가 빠져나가 에어백이 수축한다.
3. 3. 에너지 흡수 원리
에어백은 탑승자의 운동 에너지를 가스의 운동 에너지로 변환하여 흡수하는 장치이다.[201] 예를 들어 브레이크는 차체의 운동 에너지를 열에너지로 변환하지만, 에어백은 이동체의 운동 에너지를 가스의 운동 에너지로 변환한다.이동체가 에어백에 충돌하면 에어백의 부피가 감소하고 내부 압력이 높아진다. 에어백에는 배출구(벤트홀)가 있어 벤트홀을 통해 가스가 분출되면서 에너지가 흡수된다. 즉, 이동체가 에어백에 충돌하면 에어백 내부의 가스가 외부로 분출되며, 이는 에어백 내부에서 외부로 이동하는 가스의 운동 에너지로 대체되는 것이다.
가스의 운동 에너지는 이동하는 가스의 무게와 속도로 계산할 수 있다. 자동차용 에어백의 경우, 이동하는 가스의 무게를 25g, 벤트홀에서 나오는 가스의 속도를 350m/sec(고온의 음속 정도)라고 가정하면, 2000J의 에너지를 가진다는 것을 알 수 있다.
하지만 이러한 에너지 흡수(EA) 메커니즘은 에어백 내부 압력이 충분히 높아진 후에 나타나는 작용으로, 이동체 접촉 직후에는 일정 정도의 공주행(空走行)이 필요하다(위 그림 적색 선 참조). 즉, 이동체가 에어백에 접촉하여 압축되어 용량이 감소함으로써 압력이 상승하는 과정이 필요하다.
이는 쇼크업쇼버와 크게 다른 점인데, 쇼크업쇼버는 “정형의 용기”와 오일 같은 비압축성 물질을 사용할 수 있어 하중이 가해지면 즉시 내압이 높아지고 최소한의 스트로크로 저항이 발생할 수 있다.
반면 에어백은 “비정형의 주머니 형태”와 압축성 기체를 사용하므로, 접촉 초기에는 구조적으로 공주행 거리가 필요하며, 스트로크 후반에 이르러서야 저항이 발생하여 EA 효과를 발휘한다. 따라서 이상적인 EA와는 거리가 멀다. 이것은 컴팩트하게 수납할 수 있는 것과 상반되는 “에어백”의 운명이다(위 그림: 에어백과 쇼크업쇼버의 GS 파형 비교. 면적이 에너지).
자동차용 에어백의 초기 전개 시, 인플레이터의 가스압에 의해 급격히 이동하는데, 이때 "발생한 가스량이 에어백 용량보다 적다"면 에어백 내부는 음압이 된다. 이때 벤트홀을 통해 주변 공기를 에어백 내부로 흡입하는 아스피레이트 현상이 발생하여 인플레이터 출력보다 많은 가스를 에어백에 유입시키는 경우가 있다.
자동차용 에어백 중에는 벤트홀이 없는 것도 있다. 일반적인 커튼 에어백, 사이드 에어백, 니 에어백 등이 그러한데, 이들은 운전석·조수석용에 비해 백체의 두께가 얇기 때문에 벤트홀을 설치할 수 없고, 백체의 용량도 작기 때문에 백체 내부의 가스 이동에 의한 EA 효과도 기대할 수 없다. 따라서 에너지 흡수 효과는 거의 없고, 에어백을 압축하여 상승한 압력은 고무공처럼 다시 이동체를 튕겨내는 일로 전환된다. 그러나 이들은 차실 내부 구조물과 직접 접촉하는 것을 방지함으로써 충격을 완화하고, 피크 G의 저감에 기여하고 있다. 또한, 팽창한 후 잠시 형태를 유지하는 제품도 있으며, 그 형태가 기능으로서 충돌 안전에 기여하는 것도 있다.
비자동차 용도에서는 낙하하는 물체를 받쳐주기 위한 에어백이 존재하지만, 이들은 공간적 제약이 거의 없고, 에어백의 용량도 자동차용에 비해 매우 크기 때문에, 에어백 내부의 가스 이동만으로 에너지 흡수가 가능하다.
3. 4. 팽창 물질
차의 속도가 갑작스럽게 떨어지면 충돌 센서가 기폭제에 전기 신호를 보내 에어백이 작동한다. 초기 에어백 시스템에는 아지드화 나트륨(NaN3)이 주로 사용되었으나,[114] 독성 문제로 인해 현재는 다른 물질로 대체되고 있다. 아지드화 나트륨이 포함된 초기의 인플레이터 설계에서는 운전석 에어백에 약 50g, 조수석 에어백에 약 200g의 아지드화 나트륨이 사용되었다.[114]대체 추진제로는 니트로구아니딘, 상 안정화된 질산암모늄(NH4NO3), 테트라졸, 트리아졸 및 그 염 등이 사용된다.[115] 그 외, 니트로셀룰로스 기반 추진제나 무기 산화제가 있는 고산소 무질소 유기 화합물 등이 대안으로 제시된다.
전방 에어백이 작동될 때, 에어백 제어 장치 내의 인플레이터 장치로 신호가 전송되어 빠른 화학 반응을 통해 주로 질소 가스(N2)를 생성하여 에어백을 채운다.[201] 에어백은 0.08초 안에 부풀어 오르며, 0.1초 만에 쭈그러들기 시작해 0.33초경에는 공기가 완전히 빠진다.[201]
4. 종류
에어백은 차량 충돌 시 탑승자를 보호하는 중요한 안전 장치이다. 에어백은 안전벨트와 함께 작동하여 탑승자의 부상을 최소화하는 "수동적" 안전 장치로 분류된다.[5][6][7][8] 에어백은 충돌 시 자동으로 작동하여 탑승자를 보호하며, 안전벨트와 함께 통합된 구속 시스템의 일부로 설계되었다.
에어백은 다양한 종류가 있으며, 각각의 에어백은 특정 위치에서 특정 유형의 충돌로부터 탑승자를 보호한다.
- 운전석 에어백: 스티어링 휠 내부에 장착되어 정면 충돌 시 운전자를 보호한다.[39] 1987년 포르쉐 944 터보에 처음으로 표준 장착되었으며,[38] 1988년 크라이슬러는 미국 자동차 제조업체 최초로 운전석 에어백을 표준 장비로 장착했다.[40][41]
- 조수석 에어백: 대시보드 상단에 장착되어 정면 충돌 시 조수석 탑승자를 보호한다. 1990년 2세대 혼다 레전드에 처음 탑재되었다.
- 사이드 에어백: 좌석 측면에 내장되어 측면 충돌 시 탑승자의 흉부와 복부를 보호한다. 1996년 닛산 시마에 처음 탑재되었다.

- 커튼 에어백: 루프 측면에 내장되어 측면 충돌 또는 전복 시 탑승자의 머리와 목을 보호한다. 1998년 토요타 프로그레에 처음 탑재되었다.
- 무릎 에어백: 스티어링 컬럼 또는 대시보드 하단에 장착되어 하지 부분을 보호한다. 2002년 토요타 칼디나에 처음 탑재되었다.

- 센터 에어백: 앞좌석 사이에 설치되어 측면 충돌 시 탑승자 간의 충돌을 방지한다.
- 시트벨트 에어백: 시트벨트 내부에 장착되어 충돌 시 탑승자의 경부와 흉부를 보호한다. 2010년 렉서스 LFA에 처음 탑재되었다.[92][93]
- 보행자 에어백: 차량 전면 외부에 장착되어 보행자와의 충돌 시 보행자의 부상을 줄인다. 2012년 볼보 V40에 처음 적용되었다.[102]
이 외에도 시트 쿠션 에어백, 리어 윈도우 커튼 쉴드 에어백, 후석 에어백, 후석 센터 에어백, ITS 헤드 에어백, 펠비스 솔랙스 백, SRS 벨트 백 등 다양한 종류의 에어백이 개발되어 탑승자와 보행자의 안전을 위해 노력하고 있다.
5. 관련 법규 및 안전 기준
대한민국에서는 2021년부터 모든 신차에 앞좌석 에어백 2개 장착이 의무화되었다.[128] 인도는 2021년 4월 1일 이후 출시되는 모든 신차 모델에 앞좌석 에어백 2개를 의무적으로 장착하도록 규정했으며, 기존 모델에도 2021년 8월 31일까지 앞좌석 에어백 2개를 장착하도록 규정했다.[128] 또한, 인도는 2023년 10월 이후 판매되는 모든 승용차에 에어백을 최소 6개 이상 장착하도록 규정했다.[129]
미국 정부는 1984년 7월 11일 연방 자동차 안전 기준 208호(FMVSS 208)를 개정하여 1989년 4월 1일 이후 생산되는 자동차에는 운전자를 위한 수동적 안전장치를 장착하도록 규정했다.[116] 에어백 또는 자동 안전벨트가 이 기준을 충족하며, 에어백 도입은 국립 고속도로 교통 안전청(National Highway Traffic Safety Administration)에 의해 촉진되었다.[116] 1998년에는 앞좌석 이중 에어백을 의무화하도록 개정되었고, 출력이 감소된 2세대 에어백도 의무화되었다.[118]
북미 이외의 일부 국가들은 미국 연방 자동차 안전 기준(United States Federal Motor Vehicle Safety Standards) 대신 국제적인 유럽 경제 위원회 규정(ECE regulations, ECE vehicle and equipment regulations)을 따른다. ECE 에어백은 일반적으로 미국 에어백보다 크기가 작고 팽창력이 약하다.[118]
유럽 신차 평가 프로그램(Euro NCAP)의 차량 안전 등급은 제조업체들이 탑승자 안전에 대한 포괄적인 접근 방식을 취하도록 장려하며, 좋은 등급은 에어백을 다른 안전 기능과 결합해야만 달성할 수 있다.[119] 2020년 기준 유럽 연합(European Union)[120]과 영국(United Kingdom)을 비롯한 대부분의 선진국에서는 신차에 에어백을 장착하는 것을 법적으로 직접 규정하고 있지는 않지만, 유럽에서 판매되는 거의 모든 신차에는 앞좌석 및 측면 에어백이 장착되어 있다.
에어백은 화약류를 사용하지만, 일본에서는 「화약류취급법 시행규칙 제1조의 4 제7호의 규정에 근거하여, 화약류취급법의 적용을 받지 않는 화공품을 지정한 건」(헤이세이 17년 경제산업성 고시 제346호)에 의해 화약류취급법(쇼와 25년 법률 제149호)의 적용을 받지 않는 화공품으로 지정되어 있다. 사용후자동차의 재자원화등에 관한 법률 시행령(헤이세이 14년 정령 제389호) 제3조에서 사용후자동차의 재자원화등에 관한 법률(자동차 리사이클법, 헤이세이 14년 법률 제87호) 제2조 제6항에 게재하는 「지정회수물품」으로 정하고 있다.
6. 한계 및 주의사항
에어백은 한 번 작동하면 재사용할 수 없으므로 교체해야 한다.[131] 에어백은 안전벨트 착용을 전제로 설계되었기 때문에 안전벨트를 착용하지 않으면 에어백의 효과가 감소하거나 오히려 부상을 유발할 수 있다.[192] 어린이는 뒷좌석에 태우고, 유아용 카시트는 반드시 뒷좌석에 설치해야 하며, 차일드백이 될 가능성이 있으므로 어린이를 무릎에 안거나 조수석 앞에 세우는 것은 위험하다.[196] 에어백 장치에 너무 가까이 앉거나 기대지 않도록 주의해야 하며, 에어백 장치 위나 근처에 물건을 두거나 스티커나 테이프를 붙이는 행위는 삼가야 한다.
에어백 시스템은 차량 정비 중 실수로 작동될 경우 심각한 부상을 초래할 수 있다.[130] 특히, 많은 에어백 제어 시스템은 차량 배터리 분리 후에도 일정 시간 동안 전원이 유지될 수 있어 주의가 필요하다. 에어백 및 관련 부품의 판매, 운송, 취급, 정비는 일부 국가에서 제한될 수 있으며, 독일에서는 에어백이 유해 폭발물로 규정되어 특수 훈련을 받은 정비사만 정비할 수 있다.
일부 자동차 제조업체는 일정 시간이 지난 후 작동하지 않은 에어백 교체를 권장하지만, 볼보는 에어백이 차량 수명 동안 교체가 필요 없다고 밝혔다.[130]
에어백은 초기 충돌 후 추가 충돌에는 효과가 없으며, 언더라이드 충돌과 같이 에어백이 제때 작동하지 않거나 늦게 팽창하는 경우에는 탑승자가 심각한 부상을 입을 수 있다.[131][132][133]
제너럴 모터스는 결함 있는 점화 스위치로 인한 치명적인 충돌 정보를 은폐하여 사망자가 발생한 사건이 있었다.[135]
에어백은 탑승자에게 상해를 입히거나 드물게 사망에 이르게 할 수 있다.[137] 특히, 안전벨트를 착용하지 않거나 에어백에 너무 가까이 있는 경우 심각한 부상 위험이 있다. 다카타(Takata Corporation)에서 제작한 에어백 중 일부는 질산암모늄(ammonium nitrate) 기반 가스 발생 조성물을 사용하여 파열될 위험이 있었고, 이로 인해 전 세계적으로 사망자가 발생했다.[139][140]
에어백 작동 시 차내 기압이 급격히 상승하여 고막이 파열될 수 있으며, 아지드화나트륨과 같은 유독성 물질이 사용되기도 했다. 에어백은 표준 장착 차량이라도 작동되면 교체 비용이 많이 들고, 전손 사고로 판정되는 경우가 많다. 사이드 에어백 장착 차량에 시트 커버를 장착할 때는 전용 시트 커버를 사용해야 한다. 정비 작업 시에는 에어백 돌발 작동에 주의해야 하며, 테스터 사용 시에도 주의가 필요하다.[197]
7. 기타 응용 분야
항공우주 산업과 미국 연방 정부는 1960년대 초부터 다양한 항공기 및 우주선에 에어백 기술을 적용해 왔다. 에어백을 착륙에 처음 사용한 것은 루나 9호와 루나 13호였다. 화성 탐사선(Mars Pathfinder) 착륙선은 공기역학적 감속, 낙하산, 고체 로켓 추진기와 함께 에어백 착륙 시스템을 사용했다. 비글 2호(Beagle 2) 화성 착륙선 또한 에어백을 사용했으나, 착륙은 성공했지만 태양 전지판 전개 실패로 작동 불능 상태가 되었다. 보잉 스타라이너(Boeing Starliner)는 유인 캡슐의 지상 착륙 충격 완화를 위해 여섯 개의 에어백을 사용한다.[150] 에어백은 F-111 아드바크(F-111 Aardvark)와 같은 군용 고정익 항공기의 탈출 승무원 캡슐에도 사용되었다.
1997년, 화성 탐사선 『마스 패스파인더(Mars Pathfinder)』는 에어백을 이용하여 화성에 착륙했다. 착륙 직전에 24개의 에어백이 펼쳐져 탐사선 전체를 감싸는 구조였다.
1970년대 중반, 영국의 교통연구소(Transport Research Laboratory)는 여러 종류의 오토바이 에어백을 시험했다. 2006년 혼다(Honda)는 골드윙(Gold Wing) 오토바이에 최초로 양산형 오토바이 에어백 안전 시스템을 도입했다.[158] 혼다는 센서가 심각한 정면 충돌을 감지하고 에어백 전개 시점을 결정하여 운전자의 전방으로 향하는 에너지를 일부 흡수하고 오토바이에서 튕겨 나가는 속도를 줄인다고 주장한다.[158] 오토바이 운전자 재킷에 통합되거나 재킷 위에 착용하는 에어백 조끼가 일반 도로 이용자들에게 사용되기 시작했다.[159] 모토GP(MotoGP)는 2018년부터 에어백이 통합된 수트 착용을 의무화했다.[160]
최초로 시판된 오토바이용 에어백은 무겐덴코(無限電光)가 제조한 히트에어(Hit Air)이다. 히트에어는 차량 본체에 장착되는 자동차 에어백과 달리, 탑승자가 착용하는 재킷에 장착된다. 케이블 방식의 한계를 극복하기 위해, 충돌이나 전도를 감지하는 센서를 사용하는 무선 에어백도 판매되고 있다. 2020년 현재, MotoGP 전 클래스와 일본 국내 정규 레이스의 일부에서는 이러한 에어백 착용이 의무화되어 있다.
차량 본체에 장착하는 에어백은 2005년에 혼다기켄공업(本田技研工業)이 시제품을 발표하고, 2007년에 세계 최초로 이륜차용 에어백을 탑재한 혼다 골드윙(ホンダ・ゴールドウイング)을 출시했다.
스키와 스노보드와 같은 기타 스포츠에서도 에어백 안전 장치가 도입되기 시작했다.[161] Helite와 Hit-Air와 같은 회사는 안장에 부착하여 운전자가 착용하는 승마용 에어백을 상용화했다.
눈사태 대책으로 에어백이 효과적이다. 배낭 형태의 착용 장비, 또는 배낭에 장착하는 장비로 판매되고 있으며, 수동으로 작동한다.
8. 각주
참조
[1]
웹사이트
Airbags
https://www.iihs.org[...]
2024-03-07
[2]
웹사이트
The Global Automotive Airbag Market Outlook
http://valientmarket[...]
Valient Automotive Market Research
2024-03-07
[3]
뉴스
Who Invented Airbags?
https://www.thoughtc[...]
2019-08-09
[4]
웹사이트
How Many Airbags Are Enough?
https://www.cars.com[...]
2013-06-19
[5]
논문
Bags, Buckles, and Belts: The Debate over Mandatory Passive Restraints in Automobiles
[6]
웹사이트
U.S. air bag history
http://www.motorvist[...]
2014-03-16
[7]
웹사이트
U.S. patent 6272412 – Passive restraint control system for vehicles
http://www.patentsto[...]
2010-10-17
[8]
웹사이트
Circular Letter No. 10 (1991): Auto Insurance Premium Discounts For Passive Restraints
http://www.dfs.ny.go[...]
New York State Department of Financial Services
1991-04-12
[9]
웹아카이브
Rotorcraft Active Crash Protection Systems
https://vtol.org/sto[...]
[10]
특허
Safety cushion assembly for automotive vehicles
[11]
웹사이트
University of Birmingham to unveil new 'blue plaque' celebrating the work of two innovative dentists
https://www.birmingh[...]
Birmingham Dental Hospital
2019-03-13
[12]
특허
[13]
서적
Innovative Materials and Techniques in Concrete Construction: ACES Workshop
Springer
[14]
웹사이트
Air Bags for Automobiles
https://textilelearn[...]
2012-09-10
[15]
서적
Road and Off-Road Vehicle System Dynamics Handbook
https://books.google[...]
CRC Press
[16]
웹사이트
United States Patent #2649311
http://patft.uspto.g[...]
United States Patent and Trademark Office
2021-03-15
[17]
웹사이트
Patent Images
https://pdfpiw.uspto[...]
2021-03-15
[18]
웹사이트
The History of Airbags
https://www.thoughtc[...]
2017-04-19
[19]
서적
Big Ideas: 100 Modern Inventions That Have Transformed Our World
https://books.google[...]
Sterling Publishing
[20]
웹사이트
Airbag History – When Was The Airbag Invented?
http://www.airbagsol[...]
2014-03-16
[21]
웹사이트
The History of Airbags
http://inventors.abo[...]
2014-03-16
[22]
서적
Litigation services handbook: the role of the financial expert
https://books.google[...]
John Wiley
[23]
웹사이트
Achievements of Yasuzaburou Kobori
http://www.jahfa.jp/[...]
Japan Automotive Hall of Fame
2014-03-16
[24]
웹아카이브
「エアバッグ」生みの親は日本人だった (週刊SPA!)
http://zasshi.news.y[...]
[25]
웹아카이브
エアバッグ - airbag.jpg – 日刊SPA!
http://nikkan-spa.jp[...]
2015-03-21
[26]
뉴스
Allen K. Breed, 72, a Developer of Air Bag Technology for Cars
https://www.nytimes.[...]
2000-01-14
[27]
잡지
Pillow protects you in auto crashes
https://books.google[...]
1968-05-01
[28]
웹사이트
Inventor of the Week: Archive
http://web.mit.edu/i[...]
2010-02-27
[29]
뉴스
Safety Design
1969-01-24
[30]
웹사이트
Impalas' 1973 experimental airbags held up
https://www.autonews[...]
Automotive News
2011-10-31
[31]
잡지
Whats this 73 Chevrolet Impala doing at a classic car auction?
https://www.automobi[...]
2009-06-15
[32]
웹사이트
Impalas' 1973 experimental airbags held up: Fleet customers tested 1,000 vehicles with cutting-edge technology
http://www.autonews.[...]
2011-10-31
[33]
뉴스
Air Bag – Who Made That? The Magazine's 2013 Innovations Issue
https://www.nytimes.[...]
2013-06-07
[34]
잡지
Allstate fleet cars show the reliability of air bags (advertisement)
https://books.google[...]
1972-06-09
[35]
웹사이트
GM's Acrs
http://www.airbagcra[...]
2014-03-16
[36]
웹사이트
1975 Cadillac Brochure
http://www.oldcarbro[...]
2014-03-16
[37]
웹사이트
1974 Oldsmobile Air Cushion Folder
http://www.oldcarbro[...]
2014-03-16
[38]
뉴스
Porsche Airbag Systems
https://www.excellen[...]
2009-11-30
[39]
웹사이트
240 Landmarks of Japanese Automotive Technology – Subaru Legend airbag system
http://www.jsae.or.j[...]
Society of Automotive Engineers of Japan
2014-03-16
[40]
논문
Form, Function, and Fantasy – seventy years of Chrysler design
https://books.google[...]
2019-04-27
[41]
간행물
Chrysler Introduces Driver-Side Air Bags
http://www.automotiv[...]
2019-04-27
[42]
웹사이트
Automobile Safety
https://americanhist[...]
2017-07-24
[43]
서적
Business ethics
https://books.google[...]
Wadsworth/Cengage
2014-03-16
[44]
간행물
1990 Government Mandates Safety
https://books.google[...]
2019-11-05
[45]
Youtube
1993 Lincoln safety ad
https://www.youtube.[...]
[46]
간행물
Jeep Grand Cherokee – another home run for the home team
https://books.google[...]
2014-03-16
[47]
서적
Air Bag Safety: Hearing Before the Committee on Commerce, Science, & Transportation, U.S. Senate
https://books.google[...]
Dianne Publishing
2014-03-16
[48]
서적
Air Bag Safety: Hearing Before the Committee on Commerce, Science and Transportations US Senate 104 Congress 2nd session
https://books.google[...]
DIANE
1996-03-02
[49]
보도자료
Chrysler air bag production hits 4 million units
http://www.thefreeli[...]
2014-03-16
[50]
간행물
Design and Engineering Awards
https://books.google[...]
2014-03-16
[51]
뉴스
Va. Crash Shines Spotlight on Air Bags; Safety Experts Say They Feel Vindicated in 20-Year Battle
https://www.proquest[...]
1990-03-31
[52]
뉴스
Air Bags Save 2 Lives in Historic Collision
https://www.orlandos[...]
1990-04-01
[53]
간행물
Dueling Air Bags Allow Two Virginia Drivers to Walk Away from a Horrifying Head-on Collision
http://www.people.co[...]
1990-04-23
[54]
웹사이트
Air Bag Technology in Light Passenger Vehicles
http://www.nhtsa.gov[...]
U.S. NHTSA
2014-03-16
[55]
웹사이트
Sep 1, 1998: Federal legislation makes airbags mandatory
http://www.history.c[...]
2014-03-16
[56]
뉴스
Latin NCAP: los vehículos de Latinoamérica, dos décadas por detrás en seguridad
https://amp.elmundo.[...]
2017-10-10
[57]
뉴스
¿Por qué un coche protege mejor en Europa que en Latinoamérica?
https://motor.elpais[...]
2021-09-13
[58]
뉴스
¿Por qué los carros que se venden en América Latina no son tan seguros como en Europa?
https://www.elcolomb[...]
2023-04-10
[59]
뉴스
Citroen C4
http://www.theaustra[...]
2005-08-03
[60]
뉴스
Honda's New Airbag Will Give Front Passengers Better Protection
https://www.caranddr[...]
2019-08-23
[61]
뉴스
2021 Mercedes-Benz S-Class safety tech: Rear-seat airbags and 48-volt architecture
https://www.cnet.com[...]
2020-09-02
[62]
뉴스
An Airbag for the Back Seat? Mercedes-Benz Is Developing a Clever One
https://www.caranddr[...]
2019-05-22
[63]
뉴스
2021 Mercedes-Benz S-Class gets rear-axle steering and trick new airbag tech
https://www.autoblog[...]
2020-07-29
[64]
웹사이트
IIHS-HLDI: Chevrolet Cobalt 4-door
http://www.iihs.org/[...]
2014-03-16
[65]
웹사이트
IIHS-HLDI: Dodge Ram 1500
http://www.iihs.org/[...]
2014-03-16
[66]
웹사이트
Johnson Controls develops and manufactures the instrument panel, seating system, door panels and acoustic parking system for the new Mercedes-Benz A-Class
http://www.protext.c[...]
[67]
웹사이트
1996 Mercedes-Benz E-Class – Roadtest – European Car
http://www.motortren[...]
1996-01-01
[68]
웹사이트
Dual chamber side airbag apparatus and method
http://www.freepaten[...]
2006-06-20
[69]
보도자료
2008 Honda Accord – Safety
http://news.honda.co[...]
American Honda
2007-08-21
[70]
보도자료
All New Volvo S80: Style, Sophistication, Safety and Scandinavian
https://www.media.vo[...]
Volvo Cars US
2006-02-28
[71]
웹사이트
Dual-chamber Side Airbags
http://xc60volvo.blo[...]
2009-10-23
[72]
논문
Real World Data Driven Evolution of Volvo Cars' Side Impact Protection Systems and their Effectiveness
[73]
보도자료
Second-Generation Sips-Bag protects both chest and head
http://www.volvogrou[...]
Volvo Group Global
1998-07-17
[74]
웹사이트
Zodiac Coating – Medical Silicone Gel Components
http://www.zodiacaut[...]
[75]
보도자료
BMW Head Protection System Sets New Standard in Side-Impact Protection in Latest IIHS Crash Test
http://www.theautoch[...]
1997-10-30
[76]
웹사이트
Toyota to Make Side Airbags and Curtain Shield Airbags Standard on All New Passenger Vehicle Models in Japan
http://www.theautoch[...]
2007-07-23
[77]
웹사이트
Volvo S80
https://www.volvoclu[...]
[78]
웹사이트
Side-Impact Air Bags (SABs)
http://www.safercar.[...]
[79]
웹사이트
Toyota Develops World's First Rear-seat Center Airbag
http://www.worldcarf[...]
2009-03-11
[80]
웹사이트
GM debuts new front center airbag
http://www.autoblog.[...]
2011-09-29
[81]
보도자료
New ID.3: 'Today, safety wouldn't be possible without simulation'
https://www.volkswag[...]
[82]
웹사이트
Center-Side, External Airbags to Be Introduced for Euro NCAP Requirements
https://aaa.fourin.c[...]
2024-06-01
[83]
웹사이트
Kia Motors' Knee Airbag System | Firehouse.com
http://cms.firehouse[...]
[84]
웹사이트
New Air Bag Will Aim For Knees, Legs
https://www.latimes.[...]
1996-05-24
[85]
웹사이트
Technical Development: Electronics Parts
http://www.toyota-gl[...]
[86]
웹사이트
Airbags
http://www.toyota.eu[...]
[87]
보도자료
Euro NCAP praises the new Driver-Side SRS Knee Airbag manufactured by Toyoda Gosei
http://www.toyoda-go[...]
2003-06-30
[88]
웹사이트
Toyota Avensis
http://www.euroncap.[...]
Euro NCAP
[89]
웹사이트
Toyota develops rear curtain airbag for tiny iQ
http://www.autoblogg[...]
2008-09-30
[90]
웹사이트
Mobility
http://www.toyota-gl[...]
[91]
웹사이트
Ford Expands Availability of Rear Inflatable Safety Belt to 2014 Fusion
https://media.ford.c[...]
[92]
보도자료
Takata First to Commercialize Front Seat Safety "Airbelt" for Passenger Cars
http://us.aving.net/[...]
2010-12-06
[93]
웹사이트
2012 Lexus LFA
http://www.caranddri[...]
2009-10-20
[94]
웹사이트
Extended protection in the rear: The seat belt gets into top shape
http://media.daimler[...]
2012-11-19
[95]
웹사이트
Ford Mondeo Introduces Inflatable Seatbelts, a Ford First for Australian customers
https://media.ford.c[...]
[96]
웹사이트
The Ford inflatable seat belt: How it affects car seats and children
http://www.consumerr[...]
[97]
웹사이트
AmSafe Inflatable Seatbelts
http://cessna.txtav.[...]
[98]
웹사이트
Are Airbags Worth the Money?
http://www.flyingmag[...]
2011-01-20
[99]
웹사이트
Pedestrian Airbag Technology – a Production System
http://www-nrd.nhtsa[...]
[100]
웹사이트
Land Rover Discovery Sport – Pedestrian Airbag
https://www.youtube.[...]
2014-10-01
[101]
웹사이트
YouTube
https://www.youtube.[...]
[102]
웹사이트
Volvo offers world's first pedestrian airbag
http://www.news.com.[...]
2013-02-17
[103]
웹사이트
Volvo V40
http://www.euroncap.[...]
Euro NCAP
2013-08-01
[104]
웹사이트
Airbag control unit
http://www.audi.com/[...]
[105]
보도자료
Media Center
http://mediacenter.c[...]
[106]
논문
A Methodology for the Deployment of Sensor Networks
2011-12-01
[107]
특허
Gas generating composition for air bags
https://www.google.c[...]
[108]
웹사이트
Tests on Airbags: Analyses of Gases, Dusts, Structures and Squibs
http://www.gwp.eu/fi[...]
[109]
논문
The Strontium Complex Nitrates of Carbohydrazide as a Non-Azide Gas Generator for Safer Driving-the Thermal Behavior of the Sr Complex with Various Oxidizing Agents
[110]
특허
Substituted basic metal nitrates in gas generation
[111]
웹사이트
Air Bags
https://www.chop.edu[...]
The Children's Hospital of Philadelphia
2014-03-30
[112]
웹사이트
What You Need to Know About Air Bags, DOT HS 809 575
http://www.nhtsa.gov[...]
[113]
웹사이트
What You Need to Know About Air Bags, DOT HS 809 575
http://www.nhtsa.dot[...]
[114]
웹사이트
ET 08/00: Sodium azide in car airbags poses a growing environmental hazard
http://www.sdearthti[...]
[115]
웹사이트
Thermally stable nonazide automotive airbag propellants – Patent 6306232
http://www.freepaten[...]
2016-05-01
[116]
웹사이트
Advanced designs for side impact and rollover protection
http://www-nrd.nhtsa[...]
[117]
웹사이트
Federal Motor Vehicle Safety Standards and Regulations (Standard No. 208)
http://www.nhtsa.gov[...]
1999-03-01
[118]
웹사이트
USCAR24-22: Inflator Technical Requirements and Validation
http://standards.sae[...]
SAE International
2013-04-30
[119]
웹사이트
Frontal impact test description
http://www.euroncap.[...]
[120]
웹사이트
Cars
https://ec.europa.eu[...]
2016-10-17
[121]
웹사이트
Nuevo reglamento de calidad para vehículos
https://www.elcomerc[...]
2014-01-20
[122]
웹사이트
Airbags y ABS, sistemas obligatorios en Argentina
https://www.lacapita[...]
[123]
웹사이트
Começa a valer obrigatoriedade de airbag e ABS para carros novos
http://g1.globo.com/[...]
2014-01-01
[124]
웹사이트
Todo lo que hay que saber de la ley Nº 19.061
https://www.autoblog[...]
[125]
웹사이트
Doble Airbag: Será obligatorio en Chile
https://noticias.aut[...]
2015-03-19
[126]
웹사이트
Con bolsas de aire, el país se pone a tono con el mundo
https://www.eltiempo[...]
2015-10-07
[127]
웹사이트
Mayor protección en los autos, la nueva normatividad en la industria
https://www.eleconom[...]
[128]
웹사이트
Dual airbags mandatory for new cars from April 1- Business News
https://www.business[...]
2021-03-05
[129]
뉴스
6 Airbags In Cars A Must From October 2023
https://www.ndtv.com[...]
2022-09-29
[130]
간행물
Air Time
2010-07-01
[131]
웹사이트
Curtain air bag Hyundai Sonata: Manuals and Car Information
http://www.hsguide.n[...]
[132]
웹사이트
Getting Started
http://www.underride[...]
[133]
웹사이트
Underride Guard
http://www.everythin[...]
2007-11-29
[134]
서적
Reauthorization of the National Highway Traffic Safety Administration
[135]
잡지
GM Disputes Report Tying Ignition Switch Problem to 74 Deaths
https://time.com/281[...]
2014-06-03
[136]
웹사이트
NHTSA 49 CFR Parts 552, 571, 585, and 595, Docket Notice
http://www.nhtsa.gov[...]
2000-12-01
[137]
웹사이트
Statistical Breakdown of Air Bag Fatalities
http://www.nsc.org/p[...]
National Highway Traffic Safety Administration
[138]
논문
Association of First- and Second-Generation Airbags with Front Occupant Death in Car Crashes: A Matched Cohort Study
[139]
웹사이트
NHTSA Recalls Spotlight – Takata Air Bag Recalls – November 3, 2015 Press Conference
http://icsw.nhtsa.go[...]
[140]
뉴스
US reports another Takata air bag death, bringing toll to 33
https://apnews.com/a[...]
2022-12-09
[141]
뉴스
Air bag defect to trigger largest auto recall in US history
https://www.theguard[...]
2015-05-19
[142]
뉴스
Takata fined $70 million for defective airbags as recalls nearly double
https://www.latimes.[...]
2015-11-03
[143]
웹사이트
Takata's Woes Are Complete: Now Toyota Has Dropped It
http://fortune.com/2[...]
[144]
웹사이트
Japan air bag maker Takata reports $46 million loss
http://bigstory.ap.o[...]
[145]
웹사이트
Takata, brought down by airbag crisis, files for bankruptcy
https://money.cnn.co[...]
CNN
2017-06-25
[146]
간행물
Air Time
2010-07-01
[147]
서적
Toyota Aurion: User Manual 2006 model – Australia
[148]
논문
Splenic trauma as an adverse effect of torso-protecting side airbags: biomechanical and case evidence
2009-10-01
[149]
논문
Biomechanical and injury response to posterolateral loading from torso side airbags
2010-11-01
[150]
웹사이트
NASA's Boeing Crew Flight Test Mission Overview
https://www.nasa.gov[...]
2024-06-01
[151]
웹사이트
Defenselink article
http://www.defense.g[...]
1999-02-18
[152]
웹사이트
Cockpit Air Bag System (CABS) for UH-60A/L
https://www.helis.co[...]
2020-01-15
[153]
웹사이트
OH-58D Kiowa Warrior
http://www.fas.org/m[...]
2014-03-16
[154]
웹사이트
Microsoft Word - Sunset Brochure.doc
http://www.tslaerosp[...]
2010-10-17
[155]
웹사이트
Air Defense concept papers
http://csat.au.af.mi[...]
2010-10-17
[156]
웹사이트
BNET News Release on AHS Annual Forum award
http://findarticles.[...]
2010-10-17
[157]
웹사이트
Simula Receives Orders for its Cockpit Air Bag Systems - CABS
http://www.allbusine[...]
allbusiness.com
2020-01-15
[158]
웹사이트
'06 Wing gets airbag
http://www.motorcycl[...]
2005-09-02
[159]
웹사이트
Exploding the myths: Everything you need to know about motorbike airbag vests
https://www.motorcyc[...]
2023-07-24
[160]
웹사이트
Airbags: Compulsory from 2018
https://www.motogp.c[...]
2023-07-24
[161]
웹사이트
An Introduction to Airbag Packs
https://www.powder.c[...]
2024-12-10
[162]
뉴스
警告灯放置なら車検通らず 2月から
https://mainichi.jp/[...]
毎日新聞
2017-01-29
[163]
웹사이트
University of Birmingham to unveil new 'blue plaque' celebrating the work of two innovative dentists
https://www.birmingh[...]
Birmingham Dental Hospital
2019-03-13
[164]
특허
http://www.roru.de/a[...]
[165]
서적
Innovative Materials and Techniques in Concrete Construction: ACES Workshop
Springer
[166]
웹사이트
Air Bags for Automobiles
https://textilelearn[...]
[167]
웹사이트
The History of Airbags
https://www.thoughtc[...]
2017-04-19
[168]
서적
Big Ideas: 100 Modern Inventions That Have Transformed Our World
https://books.google[...]
Sterling Publishing
[169]
서적
Road and Off-Road Vehicle System Dynamics Handbook
https://books.google[...]
CRC Press
[170]
웹사이트
Safety Cushion for Automotive Vehicles
https://www.google.c[...]
United States Patent and Trademark Office
[171]
웹사이트
Airbag History – When Was The Airbag Invented?
http://www.airbagsol[...]
Airbagsolutions.com
[172]
웹사이트
The History of Airbags
http://inventors.abo[...]
Inventors.about.com
[173]
서적
Litigation services handbook: the role of the financial expert
https://books.google[...]
John Wiley
[174]
뉴스
Allen K. Breed, 72, a Developer of Air Bag Technology for Cars
https://www.nytimes.[...]
2000-01-14
[175]
웹사이트
Popular Science
http://blog.modernme[...]
Popular Science
1968-05-01
[176]
웹사이트
Inventor of the Week: Archive
http://web.mit.edu/i[...]
Web.mit.edu
2010-02-27
[177]
잡지
Popular Science
http://blog.modernme[...]
1968-05
[178]
웹사이트
Inventor of the Week: Archive
http://web.mit.edu/i[...]
Web.mit.edu
2010-02-27
[179]
뉴스
Safety Design
1969-01-24
[180]
웹사이트
http://zasshi.news.y[...]
[181]
웹사이트
https://nikkan-spa.j[...]
[182]
웹사이트
웹사이트「誰か昭和を想わざる」(2014년 2월頃消滅)
https://web.archive.[...]
2014-02
[183]
기타
[184]
뉴스
タカタの巨大リコール 「教訓」置き去り
https://www.nikkei.c[...]
2017-05-22
[185]
기타
[186]
기타
[187]
기타
[188]
Youtube
【まじめに検証】エアバッグの威力はどれくらいなのか検証してみた
https://www.youtube.[...]
KP Garage
[189]
웹사이트
メルセデスベンツ・Sクラス、崖から120m 転落…乗員は無事
http://response.jp/a[...]
Response.
2013-10-15
[190]
웹사이트
https://www.iatss.or[...]
[191]
웹사이트
http://response.jp/a[...]
[192]
웹사이트
http://journal.jsgs.[...]
[193]
웹사이트
https://www.recordch[...]
[194]
뉴스
幕引き遠いエアバッグ問題 タカタに追加リコールの可能性
https://web.archive.[...]
2014-06-25
[195]
뉴스
海外で新たに死者、ホンダがタカタ製エアバッグでリコール
https://jp.reuters.c[...]
2014-11-13
[196]
기타
[197]
기타
[198]
웹사이트
ボルボ V40 【海外試乗】
http://www.carsensor[...]
Carsensor.net
2012-09-12
[199]
웹인용
가벼운 충격에 에어백 '펑', 조수석 3살배기 사망
https://imnews.imbc.[...]
2016-06-22
[200]
서적
How Things Are Made: From Automobiles to Zippers
믿음인
[201]
서적
How Things Are Made: From Automobiles to Zippers
믿음인
본 사이트는 AI가 위키백과와 뉴스 기사,정부 간행물,학술 논문등을 바탕으로 정보를 가공하여 제공하는 백과사전형 서비스입니다.
모든 문서는 AI에 의해 자동 생성되며, CC BY-SA 4.0 라이선스에 따라 이용할 수 있습니다.
하지만, 위키백과나 뉴스 기사 자체에 오류, 부정확한 정보, 또는 가짜 뉴스가 포함될 수 있으며, AI는 이러한 내용을 완벽하게 걸러내지 못할 수 있습니다.
따라서 제공되는 정보에 일부 오류나 편향이 있을 수 있으므로, 중요한 정보는 반드시 다른 출처를 통해 교차 검증하시기 바랍니다.
문의하기 : help@durumis.com