윈드서핑
"오늘의AI위키"의 AI를 통해 더욱 풍부하고 폭넓은 지식 경험을 누리세요.
1. 개요
윈드서핑은 돛과 보드를 이용하여 수면에서 활주하는 스포츠로, 20세기 후반에 등장했다. 짐 드레이크와 호일 슈바이처에 의해 고안되었고, 1969년 "WINDSURFER"라는 명칭으로 판매가 시작되었다. 윈드서핑은 1984년 로스앤젤레스 올림픽에서 시범 종목으로 채택되었고, 1988년 서울 올림픽에서 정식 종목으로 채택되었다. 윈드서핑은 보드, 리그, 기타 장비로 구성되며, 비플래닝과 플래닝 기술을 활용한다. 다양한 경기 종목이 있으며, 앙투안 알보, 비외른 덩커벡 등 유명 선수들이 활약하고 있다. 윈드서핑은 국제해상충돌예방규칙을 준수해야 하며, 안전을 위해 단독 행동을 피하고 구명조끼 착용 등 안전 대책을 마련해야 한다.
더 읽어볼만한 페이지
- 영어계 외래어 - 텔레비전
텔레비전은 움직이는 영상과 소리를 전기 신호로 변환하여 전송하고 수신 측에서 다시 영상과 소리로 바꾸는 기술을 이용한 매체로, 닙코프 원판을 이용한 초기 기계식 방식에서 음극선관 발명을 통해 전자식으로 발전하여 디지털 기술과 다양한 디스플레이 기술 발전을 거쳐 현재에 이르렀으며 사회, 문화, 경제적으로 큰 영향을 미치지만 건강 문제 및 부정적 콘텐츠 노출 등의 부작용도 존재한다. - 영어계 외래어 - 파이
파이는 다양한 재료로 만들 수 있는 구운 요리이며, 쇼트 페이스트 반죽을 사용하여 짭짤하거나 달콤하게 만들 수 있고, 문화적 의미와 유머의 소재로도 사용된다. - 스포츠에 관한 - 카이트서핑
카이트서핑은 연과 보드를 사용하여 바람의 힘으로 물 위를 활강하는 수상 스포츠로, 다양한 스타일이 있으며 올림픽 정식 종목으로 채택되어 세계적인 스포츠로 자리매김하고 있다. - 스포츠에 관한 - 양궁
양궁은 활과 화살로 표적을 맞히는 스포츠로, 선사 시대부터 무기로 사용되다가 1538년 영국에서 스포츠로 발전하여 올림픽 정식 종목으로 채택되었으며, 대한민국에서는 1950년대 말부터 시작되어 국제 대회에서 경기가 열린다. - 글로벌세계대백과를 인용한 문서/{{{분류 - 공 (악기)
공은 금속으로 제작된 타악기로, 다양한 문화권에서 의식, 신호, 음악 연주 등에 사용되며, 형태와 용도에 따라 여러 종류로 나뉜다. - 글로벌세계대백과를 인용한 문서/{{{분류 - 국무회의
국무회의는 대한민국 대통령을 의장으로, 예산, 법률안, 외교, 군사 등 국정 현안을 심의하는 중요한 기관이며, 대통령, 국무총리, 국무위원으로 구성되고, 정례회의는 매주 1회, 임시회의는 필요에 따라 소집된다.
2. 역사
윈드서핑은 1960년대 후반 미국 캘리포니아에서 짐 드레이크와 호일 슈바이처에 의해 고안되었고, 1969년에는 "윈드서퍼"라는 이름으로 판매가 시작되었다.[11][12][13][14] 초기에는 "보드세일링"으로도 불렸으나, 2005년 PWA(Professional Windsurfers Association)가 발족하면서 "윈드서핑"이 공식 명칭이 되었다.
1970년대와 1980년대에 윈드서핑의 인기는 폭발적으로 증가했다. 1972년경부터 인기를 얻기 시작하여 1970년대 말에는 세계에서 가장 빠르게 성장하는 스포츠가 되었다. 처음에는 유럽에서 시작하여 북미로 확산되었으며, 초기에는 롱보드가 주를 이루었다.
1980년대에는 더 가볍고 단단한 플래닝 숏보드, 풋스트랩, 하네스, 더 안정적인 세일 등이 개발되면서 윈드서핑은 더욱 빠르고 역동적으로 발전했다. 윈드서핑은 세계 스피드 세일링 기록을 경신하고, 올림픽에 진출하는 등 큰 인기를 누렸다.
1990년대에는 새로운 액션 스포츠의 등장으로 윈드서핑의 인기가 다소 주춤했지만, 2000년대 이후 포일링 기술의 발전과 월드 투어 활성화 등으로 다시 부흥기를 맞고 있다.[16][17]
한국에서는 1984년 로스앤젤레스 올림픽에서 윈드글라이더 펀보드를 사용한 시범 종목에 한국 선수가 참가하면서 대중에게 알려지기 시작했다.
2. 1. 초기 역사






현대 윈드서핑은 20세기 후반에 등장했다. 1948년, 20세의 뉴먼 더비는 만능 조인트를 이용해 작은 쌍동선을 조종하는 아이디어를 처음으로 구상했다.[21] 그는 방향타 없이 세일보드를 조종할 수 있도록 설계했으며, 만능 조인트가 장착된 세일보드를 처음으로 구상, 설계, 제작한 사람으로 널리 알려져 있다.[22][26] 1964년, 더비는 "더비 세일보드"를 제작하여 판매하기 시작했는데,[24] 그의 회사는 어린이라면 누구든지 50USD 미만으로 제작할 수 있도록 설계도를 판매하는 데 중점을 두었다.[25][26][27][28][29]
1958년에는 12세의 피터 칠버스가 영국에서 세일보드를 발명했다.[32]
1962년, 스탠퍼드 출신 항공 우주 공학자 짐 드레이크와 프레드 페인은 돛으로 추진되는 서프보드를 구상하고 설계했다. 이들은 큰 서프보드 위에 서서 작은 삼각형 돛의 풍상 쪽을 직접 잡는 형태였다.[33] 드레이크의 가족 친구이자 사업가인 호일 슈바이처는 드레이크의 발명품을 마케팅하는 데 관심을 가졌고, 드레이크가 특허를 받도록 도왔다.[13][14][22]
짐 드레이크는 1967년 1월 캘리포니아주 산타모니카 자신의 집 차고에서 윈드서핑 프로토타입 부품 대부분을 직접 제작했다. 그는 티크 나무로 위시본 붐, 센터보드, 마스트 풋을 만들었고, 유니버설 조인트는 해양용 스테인리스 스틸과 테플론 부품으로 제작된 상용 세일보트 스위블 조인트를 재구성하여 제작했다. 닥론 세일 천으로 제작된 맞춤형 세일은 밥 브루사드가 삼각형 버뮤다 리그로 자르고 꿰맸다. 1967년 5월 21일, 짐 드레이크는 마리나 델 레이의 자메이카 베이에서 세계 최초의 현대식 세일보드로 시험 항해에 성공했다.
드레이크는 이후 슈바이처에게 윈드서핑 방법을 가르쳤고, 곧 이 스포츠가 시작되었다. 1968년 초, 새로운 세일보드 개념의 이름을 "바하 보드"로 변경했다가, 시애틀에서 바하 보드 프로토타입을 마케팅하던 중 버트 샐리스버리가 "윈드서핑"이라는 이름을 제안했고, 이는 곧 윈드서핑 인터내셔널이 판매하는 윈드서퍼로 변경되었다.
2002년, 프로페셔널 윈드서핑 협회(PWA)는 드레이크와 슈바이처를 윈드서핑 명예의 전당에 헌액하면서, 드레이크를 "윈드서핑의 아버지",[34][35][36] 슈바이처를 "윈드서핑을 대중에게 가져온 사람"이라고 불렀다.[36]
2. 2. 발전과 특허 분쟁
짐 드레이크와 호일 슈바이처는 1968년 말 캘리포니아주 산타모니카에서 윈드서핑 인터내셔널(Windsurfing International)을 공동 설립했다.[11][12][13][14] 1970년대와 1980년대 초, 윈드서핑은 세계에서 가장 빠르게 성장하는 스포츠였다. 슈바이처는 세일보드를 제조 및 판매하려는 모든 사람에게 하위 라이선스를 부여하는 방식으로 전 세계적으로 특허를 적극적으로 보호했다.[47]동시에 슈바이처는 무단 제조업체에 대해서도 특허권을 적극적으로 방어하려고 했다. 이로 인해 윈드서핑 인터내셔널의 발명에 대한 권리를 다투는 회사들이 전 세계 법원에 다양한 선행 기술을 가진 윈드서핑과 유사한 장치들을 제시하게 되었다.[48]
1979년, 슈바이처는[49][50] 프랑스 브르타뉴에 본사를 둔 두푸르 윙(Dufour Wing)사에 라이선스를 부여했는데, 이 회사는 나중에 타부르 마린(Tabur Marine)과 합병되었고, 이는 빅 스포츠(Bic Sport)의 전신이 되었다.[51] 하위 라이선스를 받은 회사들(타부르, F2, 미스트랄)은 윈드서핑 인터내셔널에 대한 로열티 지불을 없애거나 줄일 방법을 찾고 싶어했다.
타부르의 변호사들은 피터 칠버스(Peter Chilvers)가 1958년 영국 헤이링 아일랜드에서 돛과 결합된 최초의 보드를 조립했다는 기사를 발견했다. 이 보드는 유니버설 조인트를 사용했다. 또한 1948년 뉴먼 더비(Newman Darby)가 펜실베이니아주 윌크스배리(Wilkes-Barre, Pennsylvania)에서 세일보드를 발명했다는 기사도 발견했다.[27]
'''윈드서핑 인터내셔널 Inc. 대 타부르 마린(GB) Ltd. 1985 RPC 59'''[52] 사건에서 타부르는 영국 법원에서 피터 칠버스의 선행 기술을 인정받았다. 법원은 슈바이처 윈드서퍼 붐이 "단순히 명백한 확장"이라고 판단했다. 이 사건은 발명 단계 및 자명성 측면에서 영국의 특허법에 대한 판례를 설정했다. 법원은 칠버스의 필름 영상을 근거로 슈바이처 특허가 무효라고 하는 피고의 주장을 인용했다. 그 후 슈바이처는 캐나다에서 회사를 상대로 소송을 제기했으나, 다시 패소했다. 소송 후, 빅 스포츠(Bic Sport)는 세계 최대 윈드서핑 장비 생산업체 중 하나가 되었다.[51]
1983년, 슈바이처는[49][50] 스위스 보드 제조업체 미스트랄(Mistral)[53]을 고소했지만 패소했다. 미스트랄의 방어는 뉴먼 더비(Newman Darby)의 작업에 의존했다.
결국 미국 법원은 슈바이처 윈드서퍼를 더비의 선행 기술에서 명백한 단계로 인정했다.[54] 슈바이처는 매우 제한적인 조건 하에 특허를 재출원해야 했고, 마침내 1987년에 만료되었다. 그 직후, 윈드서핑 인터내셔널은 운영을 중단했다.[47]
1984년, 호주 법원은 '''윈드서핑 인터내셔널 Inc. & Anor 대 페티트 & Anor'''[55] 사건을 판결했는데, 이 사건은 분리된 붐의 최초로 법적으로 인정된 사용을 호주 소년인 리처드 이스트오(Richard Eastaugh)에게 돌렸다.
법원에서는 별개의 이스트오(1946-1949), 더비(1965) 및 칠버스(1958)의 발명이 슈바이처/드레이크 특허(1968)보다 앞선다는 것을 인정했다.[33]
2. 3. 한국 윈드서핑의 역사
제시된 소스에는 한국 윈드서핑 역사에 대한 직접적인 언급이 없으므로, 주어진 요약문의 내용을 바탕으로 작성하되, 소스 내용과 연관지어 문장을 구성한다.1984년 로스앤젤레스 올림픽에서 윈드글라이더 펀보드를 사용한 시범 종목에 한국 선수가 참가했다. 1988년 서울 올림픽에서는 윈드서핑이 정식 종목으로 채택되어 레히너 보드가 사용되었다. 1992년 바르셀로나 올림픽에서는 여자부 윈드서핑 종목이 추가되었다. 2024년 파리 올림픽에서는 iQFoil 원 디자인 종목과 함께 첨단 포일 기술이 사용될 예정이다.
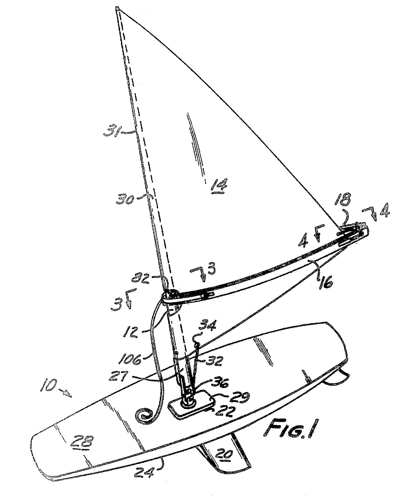
3. 장비
윈드서핑 장비는 크게 보드 부분, 리그 부분, 신체 착용 장비의 세 가지로 분류된다.
- '''보드 부분:''' 장비가 수면에 떠 있는 상태에서의 하부 부분으로, 세일보드, 핀, 유니버설 조인트로 구성된다. 중·상급자는 보드 부분을 통칭하여 "보드"라고 부르기도 한다.
- '''리그 부분:''' 장비를 수면에 띄운 상태에서 위쪽 부분을 말하며, 세일, 붐, 마스트, 마스트 익스텐션, 하네스 라인으로 구성된다. 중·상급자는 리그 부분을 속칭 "세일"이라고 부르기도 한다.
- '''신체 착용 장비:''' 기온 변화에 대처하거나 장시간 세일링을 보조하는 역할을 한다. 하네스, 웨이트 재킷, 웻슈트, 드라이슈트, 웻슈트 부츠, 웻슈트 장갑, 구명조끼 등이 있다.
3. 1. 보드
윈드서퍼는 보통 숏보드와 롱보드로 분류된다. 롱보드는 일반적으로 3m보다 길며, 수납식 중앙핀을 가지고 있고, 약한 바람이나 코스 레이싱에 최적화되어 있다. 숏보드는 3m 미만이며 플래닝 조건을 위해 설계되었다.다양한 바람 조건에서 윈드서핑이 가능하지만, 대부분의 중급 및 상급 레크리에이션 윈드서퍼는 다목적이고 과도하게 전문화되지 않은 자유 주행 장비를 사용하여 일관된 플래닝이 가능한 조건에서 항해하는 것을 선호한다. 더 큰 (100L~140L) 자유 주행 보드는 6m2~8m2 범위의 적절하고 잘 조정된 돛을 장착하면 12kn 정도의 저풍속에서도 플래닝이 가능하다. 저풍속에서 플래닝을 추구하는 것은 더 넓고 짧은 보드의 인기를 높였는데, 이를 통해 10m2~12m2 범위의 돛을 사용하는 경우 8kn 정도의 저풍속에서도 플래닝이 가능하다.
현대 윈드서핑 보드는 여러 범주로 분류할 수 있다. 최초의 ''윈드서퍼'' 보드는 폴리에틸렌으로 만들어진 본체에 PVC 폼이 채워져 있었다. 나중에는 속이 빈 유리섬유 강화 에폭시 디자인이 사용되었다. 오늘날 생산되는 대부분의 보드는 발포 폴리스티렌 폼 코어를 사용하고, 탄소 섬유, 케블라, 또는 유리섬유를 에폭시 매트릭스에, 때로는 합판과 열가소성 수지를 포함한 복합 샌드위치 쉘로 강화되어 있다. 레이싱 및 웨이브 보드는 일반적으로 매우 가볍고(5kg~7kg) 탄소 샌드위치로 만들어진다. 이러한 보드는 매우 단단하며, 때로는 베니어를 사용하여 충격 저항성을 높인다. 초보자용 보드는 더 무겁고(8kg~15kg) 더 견고하며, 유리섬유 함량이 더 높다.[57]
- '''초보자용 보드''': (때로는 펀보드라고도 함) 이러한 보드는 종종 중앙핀을 가지고 있으며, 포뮬러 보드만큼 넓고, 부피가 많아 안정성이 뛰어납니다.
- '''프리라이드''': 플래닝 속도(일명 블래스팅)로 편안한 레크리에이션 크루징(주로 직선 항해와 가끔씩 방향 전환)을 위해 고안된 보드로, 주로 평평한 수역이나 약한 파도에서 중간 정도의 파도에서 사용된다. 일반적으로 90L~170L의 부피 범위에 속한다. 소위 프리라이드 항해 운동은 부표 주변 코스를 항해하는 것에 제한받지 않고 자유롭게 항해하기를 선택하는 더 많은 레크리에이션 선원으로부터 코스 레이싱에서 갈라져 나왔다.
- '''레이싱 롱보드''': '''윈드서퍼''' 클래스, '''미스트랄 원 디자인''', 또는 구형 올림픽 '''RS:X''' 클래스 레이싱 보드와 같은 국제적으로 인정받는 원 디자인 클래스, 그리고 새로운 2024 올림픽 클래스 iQFoil.
- '''포뮬러 윈드서핑 클래스''': 포뮬러 윈드서핑 경주에 사용되는 최대 1m 너비의 짧은 보드.

- '''슬라롬 보드''': 과거에는 슬라롬 보드의 주요 특징이 단순히 속도였지만, 슬라롬 코스를 더 빠르게 돌기 위해서는 조종성과 사용 편의성이 속도만큼 중요하다는 것이 증명되었으며, 따라서 현대 슬라롬 보드는 최고 속도, 조종성 및 사용 편의성을 목표로 하는 숏보드이다.
- '''스피드 보드''': 본질적으로 최고 속도만을 위해 제작된 매우 좁고 매끄러운 슬라롬 보드이다.
- '''프리스타일 보드''': 조종성 면에서 웨이브 보드와 관련이 있으며, 평평한 수면에서 곡예적인 기술(점프, 회전, 슬라이드, 플립 및 루프)을 수행하도록 특별히 고안된 더 넓고 부피가 큰 보드이다. 일반적으로 부피는 80L~110L이며, 길이는 약 203cm~230cm이고, 너비는 60cm를 초과하는 경우가 많다. 프리스타일 보드는 2000년대 초반에 공중 기술(벌컨, 스팍, 그러비, 플라카 및 관련 뉴 스쿨 기술, 거의 모두 점프와 스핀 요소가 포함됨)이 보드가 물과 접촉하지 않는 올드 스쿨 기술을 대체하여 프리스타일 레퍼토리의 주요 부분이 되면서 웨이브 보드에서 디자인이 눈에 띄게 갈라지기 시작했다.
- '''웨이브 보드''': 파도를 타는 데 사용되는 더 작고 가볍고 조종성이 뛰어난 보드이다. 일반적으로 웨이브 보드를 타는 사람들은 파도를 거슬러 항해하면서 높이 점프를 하고, 서핑과 비슷한 방식으로 파도의 표면을 타면서 좁은 연결된 턴(바텀 턴, 컷백 및 탑 턴)을 수행한다. 웨이브 보드는 일반적으로 부피가 65L~105L이고, 길이가 215cm~235cm이며, 너비가 50cm~60cm이다. 일반적인 규칙은 선원이 체중(킬로그램)과 거의 같은 부피(리터)의 웨이브 보드를 사용하는 것인데, 더 큰 부피는 약한 바람에서 추가적인 부력을 제공하고, 더 작은 부피는 플래닝을 달성하는 데 더 적은 부피가 필요한 강한 바람에 적합하다. 최근 몇 년 동안 웨이브 보드의 평균 너비는 약간 증가했고, 길이는 줄어들었지만, 부피 범위는 거의 유지되었다. 보드 디자이너에 따르면 이는 다양한 능력을 가진 선원들이 더 넓은 범위의 조건에서 웨이브 보드를 더 쉽게 사용할 수 있도록 한다. 웨이브 보드에 사용되는 가장 일반적인 돛 크기는 바람 속도와 선원의 체중에 따라 3.4m2~6m2이다.
3. 2. 리그
리그는 윈드서핑 장비의 한 부분으로, 세일, 붐, 마스트, 유니버설 조인트, 하네스 라인 등으로 구성된다.- '''세일(Sail):''' 바람의 힘을 추진력으로 바꾸는 부분이다.[101] 필름 소재의 패널과 크로스 소재의 슬리브로 구성되어 있다. 공기역학적 설계로 바람의 강약에 따라 안정적인 추진력을 얻을 수 있다.
- '''붐(Boom):''' 세일러가 잡고 리그를 조작하는 핸들 역할을 한다.[101] 마스트에 부착되며,[101] 타원형으로 길이 조절이 가능하다.[101] 알루미늄 또는 카본 재질로 만들어진다.[101]
- '''마스트(Mast):''' 세일을 지지하는 기둥 역할을 한다.[101] 리그 구성의 중심 축이며, 세일 길이에 맞는 것을 선택한다. 카본이나 FRP 소재로 만들어지며,[101] 2개로 분할 가능한 구조가 일반적이다.
- '''마스트 익스텐션(Mast Extension):''' 세일과 마스트 길이의 차이를 조절하여 세일의 러프 길이를 맞춘다. 카본이나 알루미늄 소재가 주로 사용된다.
- '''유니버설 조인트(Universal Joint):''' 리그와 보드를 연결하는 부품으로,[100] 360° 회전이 가능하여 리그를 자유롭게 조작할 수 있게 한다.
- '''하네스 라인(Harness Line):''' 주행 시 리그의 끌어당김을 보조하는 도구이다. 붐에 U자 형태로 설치되며, 몸에 착용한 하네스의 훅을 걸어 사용한다.
- '''업홀 라인(Uphaul Line):''' 수면에 쓰러진 세일을 들어 올릴 때 사용하는 끈이다. 붐 조에 묶어 마스트를 따라 설치한다.
3. 3. 기타 장비
하네스는 장시간 편안하게 윈드서핑을 즐기기 위한 도구로, 요트에서 사용되는 트라피즈 하네스에서 착안하여 개발되었다.[102] 리그의 당김을 보조한다. 하네스는 베스트 형태의 체스트 하네스, 허리에 두르는 웨스트 하네스, 양쪽 다리를 통과하여 착용하는 팬츠 하네스(힙 하네스)의 세 가지 종류가 있다.[102] 어떤 종류의 하네스에도 하네스 라인에 걸기 위한 후크가 부착되어 있으며, 벨트와 후크로 고정하여 사용한다.- 웨이트 재킷: 주행 시 리그의 당김을 보조하는 도구. 구명조끼와 비슷한 형태로 재킷 내부에 무게추를 추가한 것이다. 상체에 걸치는 전용 재킷이다.
- 웻슈트, 드라이슈트: 방한 및 부상 방지를 위한 전용 수트. 웻슈트는 수분이 투과되는 저지 소재로 보온성은 낮지만 유연성이 높아 여름·가을 등 비교적 온난한 계절에 착용하는 경우가 많다. 드라이슈트는 수분이 투과되지 않는 러버 소재로 유연성은 낮지만 보온성이 높아 겨울·봄 등 비교적 한랭한 계절에 착용하는 경우가 많다. 두께는 2mm부터 5mm까지의 원단이 개발·판매되고 있으며, 웻슈트와 드라이슈트 모두 따뜻할 때는 얇은 것을, 추울 때는 두꺼운 것을 착용한다. 최근에는 양쪽 기능을 결합한 세미드라이슈트라는 종류도 개발되고 있다. 드라이슈트는 다이빙, 서핑용과 유사하지만, 리그 조작 시 팔이 움직이기 쉽도록 어깨·팔 주위에 여유를 준 구조인 경우가 많다.
- 웻슈트 부츠, 웻슈트 장갑: 방한 및 부상 방지를 위한 장구. 러버, 저지, 나일론 소재로 만들어진 전용 부츠, 전용 장갑.
- 구명조끼: 수상에서 부력을 보완하고 수영을 보조하는 도구. 상체에 걸치는 전용 재킷이다.
- 헬멧: 파도가 있는 경우 특히 착용하는 것이 좋지만, 평소에도 착용하여 머리를 보호하는 것이 좋다. 머리를 강하게 부딪혀 의식을 잃는 것은 치명적이다.
4. 기술
윈드서핑 기술은 크게 비플래닝(저속) 기술과 플래닝(활주) 기술로 나눌 수 있다. 세일보드는 돛에 가해지는 풍압에 대해 몸의 무게를 균형 있게 유지하면서 돛과 보드를 조화롭게 조절하여 움직인다. 이러한 기술을 배우는 것은 자전거를 타는 것과 유사하게 반사 신경과 "근육 기억"을 발달시키는 것을 포함한다.[59]
보드는 돛단배와 마찬가지로 물 속에서 이동하며, (있는 경우) 연장 가능한 중앙 보드와 안정성과 횡방향 저항을 위한 핀 또는 스케그를 사용한다. 중앙 보드는 돛단배와 마찬가지로 넓은 항주 방향에서 수축되어 자이빙 제어를 가능하게 한다. 이러한 조건에서 윈드서핑 보드는 돛단배처럼 바람을 거슬러 올라가거나 바람을 등지고 방향을 바꾸는 기술을 사용한다.
'''방향 제어'''는 돛대를 앞으로(바람에서 멀어지는 방향) 또는 뒤로(바람을 향하는 방향) 이동시켜 수행한다. 자이빙할 때는 돛의 클루(돛의 뒷부분)를 풀어 돛대를 중심으로 회전시킨다.
'''넘어졌을 때 복구하는 방법'''은 다음과 같다. 먼저 보드에 올라타서 끌어당기는 로프(업홀)를 잡고, 마스트 발(돛대 아래 부분)이 자신의 두 발 사이에 놓여 있는지 확인한다. 그런 다음 돛을 물 밖으로 약 3분의 1 정도 들어 올린다. 바람이 돛과 보드 조합을 돌려 바람이 바로 뒤쪽에 오도록 한 후, 돛을 완전히 펼치고 "마스트 손"(돛대에 가장 가까운 손)을 붐(돛대를 가로지르는 막대)에 놓는다. 마스트를 보드 중앙선 위로 옮긴 후, "돛 손"(돛대에서 가장 먼 손)을 붐에 놓고 잡아당겨 돛을 닫고 힘을 준다.
플래닝 조건에서는 일반적으로 하네스(몸에 착용하는 장비)를 착용하여 라이더의 체중을 효율적으로 활용하여 돛의 힘에 대응한다. 바람이 강해짐에 따라 라이더는 계속해서 돛을 조절하고, 핀은 더 많은 양력을 발생시키며, 보드는 속도를 얻어 플래닝 상태로 전환된다. 물속에 있는 보드의 부피(배수량)가 감소하고 라이더는 뒤쪽으로 이동하여 풋스트랩(발을 고정하는 끈)을 밟아 제어력을 향상시킨다. 플래닝 시 보드는 이동하면서 물을 배수하는 대신 표면 위를 스키처럼 미끄러진다. 플래닝은 라이더의 체중, 돛과 핀의 크기, 파도 조건 및 라이더의 능력에 따라 다양한 풍속에서 달성될 수 있다. 최신 장비를 사용하면 일반적으로 약 12kn의 풍속에서 플래닝을 달성할 수 있다. 배수 운동에서 플래닝으로의 전환에는 에너지의 급증이 필요하지만, 일단 플래닝이 되면 저항이 극적으로 감소한다. 즉, 플래닝으로 전환하는 데 필요한 수준보다 바람이 약해졌더라도 플래닝을 계속할 수 있다.
'''조종'''은 주로 다거보드(보드 중앙에 있는 판) 또는 핀을 따라 위치한 측면 저항 중심을 돛을 앞뒤로 회전시켜 변경하여 이루어진다. 고정 마스트 돛을 단 배와 달리 윈드서핑은 러더(방향타)가 없으며 유니버설 조인트(돛대와 보드를 연결하는 부분)를 사용하여 돛만으로 보드를 조종할 수 있다.
; 원리
윈드서핑은 돛에 바람을 받아 나아간다.[97] 윈드서핑은 달리고 있을 때, 실제 바람과 진행풍이 합쳐진 바람인 ‘겉보기 바람’을 돛에 받아, 그 양력으로 나아간다.[97] 이때 옆으로 흐르는 것을 방지하는 힘이 필요한데, 다거보드(Daggerboard)나 핀을 사용하여 그 힘을 만들어낸다.[97]
; 직진과 방향 전환
윈드서핑의 방향 전환은 요트와 같은 키 조작이 아니라, 리그(돛과 돛대)와 보드를 조작하여 수행한다.
- 직진 시 조작 방법: 돛의 풍압 중심(CE)과 보드의 측압 중심(CLR)의 상대 위치를 수직으로 유지함으로써, 돛에 받은 풍압이 보드 전체에 고르게 가압되어 보드 전방으로 직진한다.
- 방향 전환 시 조작 방법: 직진 상태에서 리그를 앞뒤로 조작하거나 보드에 가하는 발의 압력을 조절하여 CE와 CLR의 위치 관계를 변화시킨다. 이를 통해 보드 전방 또는 후방에 걸리는 압력의 균형을 변화시켜 바람 아래 방향으로 방향을 바꾼다.
중상급자의 주행 가능 범위는 요트에 비해 약간 좁지만, 바람 방향과 직교하는 선으로부터 바람 위 방향으로 약 30~40도를 상정한 선보다 바람 위를 제외한 모든 방향으로 나아갈 수 있다.[98]
진행 방향에 대한 명칭은 다음과 같다.
- 윈드 어빔: 바람에 대해 수직 방향
- 클로즈 홀드: 바람 위 방향 45도
- 쿼터 리: 바람 아래 방향 45도
- 러닝: 바람 아래 방향
- 데드 존: 바람 위에서 45도
; 윈드서핑의 주행 성능

윈드서핑은 어느 정도 이상의 속도(약 25km/h)에 도달하면 보드 전체가 부상하여 활주하는 플래닝을 할 수 있다. 중급자 이상이 되면 쉽게 50km/h 이상의 속도로 활주하는 고속감을 체험할 수 있는 것이 이 스포츠의 최대 매력이다.
참고로, 윈드서핑 세계 최고 속도 기록은 프랑스의 앙투안 알보(Antoine Albeau)가 2015년에 500m 구간에서 53.27kts(98.66km/h), 2023년에 1해리 구간에서 44.12kts(81.71km/h)를 기록하여 World Sailing Speed Record Council(WSSRC)의 공식 기록으로 인정 등록되어 있다.
; 윈드서핑 시작 방법
윈드서핑 입문 방법은 크게 세 가지가 있다.
1. 전문점 등이 주관하는 스쿨: 가장 일반적인 방법으로, 기술 지도, 장비, 장소가 갖춰져 있어 안심할 수 있다.[103]
2. 독학: 남에게 지시받는 것을 싫어하는 사람들에게 적합하지만, 정확한 정보와 기술적인 조언을 얻기 어려워 잘못된 방향으로 나아갈 위험이 있다.[103]
3. 지인 경험자로부터의 레슨: 비용이 들지 않고 편하게 할 수 있다는 장점이 있지만, 가르치는 사람의 숙련도나 장비, 장소 선택에 따라 학습 효과가 달라질 수 있다.[103]
4. 1. 비플래닝 기술
- 세일 업(Sail Up): 물에 빠진 리그(Rig)의 붐(Boom) 끝에 묶인 업홀라인(업홀 라인)을 잡고 리그를 수면에서 들어 올려 붐을 잡고 주행을 시작하는 일련의 기술이다.[103]
- 택(Tack): 트랜지션(Transition)의 하나로, 풍상(風上) 쪽으로 방향을 전환하는 기술이다.[103] 클로즈 홀드(Close-hauled) 주행 상태에서 리그의 러프(ラフ) 조작 및 보드에 대한 압력을 통해 데드 존(Dead Zone)을 주행하는 동작을 수행하고, 보드의 관성 동작이 지속되는 동안 리그의 마스트(Mast) 전면에서 반대쪽 택으로 이동하여 붐을 잡고 주행을 시작한다.
- 테일 자이브(Tail Gybe): 트랜지션의 하나로, 미풍 또는 중풍 시 풍하(風下) 쪽으로 방향을 전환하는 기술이다.[103] 쿼터 리(Quarter-lee) 주행 상태에서 리그의 베어(Bear) 조작 및 보드에 대한 압력을 통해 러닝(Running)으로 주행하는 동작을 수행하고, 리그를 마스트를 축으로 반전시켜 반대쪽 택의 붐을 잡고 주행을 시작한다. 풍하 쪽으로 방향을 전환하는 자이브에는 "테일 자이브"와 "레일 자이브" 두 가지가 있지만, 비교적 바람이 잔잔한 상황에서 하는 이 자이브는 보드의 선미(테일)를 가라앉혀 테일을 축으로 회전하여 방향을 전환한다.
4. 2. 플래닝 기술

윈드서핑은 다른 스포츠에 비해 난이도가 높다고 알려져 있다. 이는 수면에 떠 있는 판 모양의 부력물에 직립하는 불안정한 상태에서 항상 강약이 있고 일정하지 않은 바람을 잡아야 하며, 보드 부분과 리그 부분이라는 서로 다른 움직임을 하는 두 개의 장비를 손발로 동시에 조작해야 하기 때문이다. 또한, 파도가 있는 곳에서는 파도에 맞춘 장비 조작이 필요하기 때문에 난이도가 더 높아진다.
윈드서핑이라는 스포츠는 플레이닝 시 수면을 고속으로 활주하는 상쾌함이 없이는 이야기할 수 없지만, 플레이닝 시 보드 위에서 사람과 리그의 주종 관계가 역전되는 상태가 초급자의 플레이닝 습득을 어렵게 하는 원인이기도 하다. 초급자가 중·강풍 시에 미풍 시와 같은 리그 조작으로 보드 위에 직립하여 리그를 당기려고 하면 바람의 힘으로 날아가 물속으로 던져지게 된다.
; 워터 스타트
세일 업(Sail up)을 대체하는 것으로, 비치 스타트의 고급 기술이다. 비치 스타트는 발이 닿는 해변에서 하는 반면, 워터 스타트는 물속에서 수영하며 리그(Rig)를 머리 위로 들어 올린 채 세일(Sail)에 바람을 받아, 바람의 힘으로 리그가 떠오르는 것에 맞춰 보드 위에 일어서서 주행을 시작하는 일련의 기술이다. 바람이 거센 수면에서의 세일 업은 매우 어렵고 체력 소모도 매우 심하기 때문에, 이 기술을 습득하는 것은 필수적이다. 중·강풍 시 세일링 기술 향상의 핵심이 된다.
; 플레이닝 택 (Planing Tack)
트랜지션(Transition)의 하나로, 중·강풍 시 풍상 쪽으로의 방향 전환 기술이다. 플레이닝 상태에서 고속으로 택을 완료하고, 속도 저하를 최소화하여 플레이닝 주행으로 이어지는 택이다.
; 헬리콥터 택 (Helicopter Tack)
트랜지션의 하나로, 미풍·중풍·강풍 시 풍상 쪽으로의 방향 전환 기술이다. 풍상으로 방향 전환 중 데드 존(Dead Zone)에 들어갔을 때, 역풍을 이용하여 보드의 방향 전환을 유도하고, 리워드(역풍을 이용한 주행 상태)에서 자이브(Gybe)를 하는 것처럼 리그를 반전시켜 방향 전환을 하는 기술이다. 리그를 헬리콥터처럼 회전시키기 때문에 이렇게 이름 지어졌다.
; 레일 자이브 (Rail Gybe)
트랜지션의 하나로, 중·강풍 시 풍하 쪽으로의 방향 전환 기술이다. 플레이닝 턴 시에는 속도에 의한 바깥쪽으로의 원심력이 발생하므로, 보드의 중심을 밟고 측면(레일)을 수면에 대고, 원심력에 대항하듯 안쪽으로 기울이며 보드의 반발력에 의한 카빙(Carving)으로 방향 전환을 해 나간다. 레일 자이브는 (1) 플레이닝에서 카빙 턴에 의한 리그의 기울기, (2) 발의 교체, (3) 리그를 돌리는 등의 동작을 연속적으로 수행하는 어려움 때문에, 그것을 습득하기 위해 많은 윈드서퍼들이 연습을 반복하는 기술이다. 레일 자이브는 경기에서는 필수 기술이며, 상급자로의 등용문·중급자 졸업 기술로 여겨진다.
5. 경기 종목
윈드서핑 경기 종목은 크게 업윈드 레이스, 슬라롬, 웨이브 퍼포먼스, 프리스타일, 스피드 세일링 등으로 나눌 수 있다.
포뮬러 윈드서핑은 저풍속 및 중풍속에서 고성능 경기를 가능하게 하기 위해 발전해 왔다. 포뮬러는 최대 너비 1m라는 주요 특징을 가진 세계 세일링(World Sailing)이 규정하는 윈드서핑 보드 종목이다. 최대 길이 70cm의 단일 핀을 사용하며 최대 12.5m2의 돛을 장착한다. 포뮬러 윈드서핑은 전 세계적으로, 특히 바람이 약하고 수면이 평온한 지역에서 인기가 많다. '와이드 스타일' 디자인과 큰 돛은 매우 낮은 풍속(7kn)에서도 플래닝을 가능하게 하고, 강풍과 높은 파도 조건에서도 제어 및 사용성을 제공한다.
이외에도 2000년대 초반에 전성기를 맞이했지만 지금은 사라진 슈퍼 X라는 종목도 있었다. 이 종목은 프리스타일과 슬라롬의 중간 형태로, 선수들은 짧은 바람내리 슬라롬 코스에서 경주하며, 모든 회전에서 덕 지브(duck jibe)를 해야 하고, 여러 가지 기술 동작을 수행해야 했다.
1990년 파리 베르시 옴니스포츠 경기장(Palais Omnisports de Paris – Bercy)에서 실내 윈드서핑이 처음 선보였다. 실내 윈드서핑 대회는 특히 유럽에서 겨울에 열린다. 큰 수영장 옆에 설치된 강력한 팬들이 윈드서퍼를 밀어준다. 실내 경기 종목에는 슬라롬 스타일의 경주와 램프 점프 경기가 포함된다.[66][67]
5. 1. 업윈드 레이스
윈드서핑의 업윈드 레이스는 바람을 거슬러 올라갔다가 내려오는 코스를 주행하며 순위를 겨루는 경기이다. 이 경기는 레이스 보드 클래스와 포뮬러 윈드서핑 클래스로 나뉜다. 올림픽과 국민체육대회에서는 롱 레이스 보드를 사용하며, 월드컵에서는 포뮬러 보드를 사용한다.레이스보드는 센터보드와 이동식 마스트 레일을 갖춘 더 긴 윈드서핑 보드로, 모든 방향의 바람에서 효율적인 항해를 가능하게 한다.[97] 뛰어난 상풍(上風) 성능과 좋은 크로스 윈드, 심지어 하풍(下風) 성능까지 결합되어 있으며, 일반적으로 올림픽 삼각 코스에서 항해된다. 짧은 보드 코스 레이싱(포뮬러로 발전)의 등장 이후 제조는 감소하고 있지만, 여전히 일부 모델이 생산되고 있으며, 특히 IMCO 원 디자인은 아마추어 레이싱 클럽에서 인기가 있다.
5. 2. 슬라롬
슬라롬은 8자형 또는 바람을 등지고 내려가는 코스를 주행하며 순위를 겨루는 경기이다. 슬라롬 보드와 슬라롬 세일을 사용한다.[61]일반적으로 두 가지 종류의 슬라롬 코스가 있다.[61]
- 8자형: 코스 전체는 두 개의 부표를 자이빙하며 돌아야 하는 빔 리치(beam reach) 상에 있어야 한다.[61]
- 하풍: 둘 이상의 부표가 설치되고 선수들은 하풍 코스를 항해하며 각 부표를 한 번만 자이빙하여 돌아간다.[61]
슬라롬 보드는 작고 좁으며 강한 바람을 필요로 한다. 펀보드 클래스 경주 규칙에 따르면 슬라롬 경기가 진행되려면 에서 의 바람이 필요하다.[61]
세계적으로 3대 오션 슬라롬 마라톤 대회가 있다. 프랑스의 데피 윈드(Le Défi Wind), 서호주 랜셀린의 랜셀린 오션 클래식(Lancelin Ocean Classic), 그리고 미국의 해터러스 마라톤(Hatteras Marathon)이 그것이다.[61]
5. 3. 웨이브 퍼포먼스
웨이브 퍼포먼스는 파도타기와 점프 기술을 선보이며 심판의 판정으로 순위를 겨루는 경기이다. 웨이브 보드와 웨이브 세일을 사용한다.- 웨이브 라이딩: 서핑과 마찬가지로 파도타기에 관한 기술이다. 바텀턴, 탑턴, 오프더립, 컷백 등이 있다.
- 리핑: 파도의 립을 이용한 기술이다. 슬래시백, 롤러코스터, 에어본, 구스크루(립 360°), 고이터, 타카슬라이드 등이 있다.
- 루프: 파도나 잔물결을 이용한 점프 후 수직 방향으로 회전하는 기술이다. 포워드 루프(전회전), 백루프 (후회전), 푸시 루프, 더블 루프, 푸시 포워드 등이 있다.
5. 4. 프리스타일
평수면에서 다양한 기술을 선보이며 심판의 판정으로 순위를 겨루는 경기이다. 프리스타일 보드와 프리스타일 세일을 사용한다. 규정 종목과 3분 동안 세 가지 이상의 기술을 자유로이 구사하는데, 기술의 난이도, 창의성, 완성도를 평가한다.[97]- 에어 자이브(벌컨): 잔물결을 이용한 점프 시 보드를 공중에서 180° 회전시켜 착수하고, 착수 후 발을 바꿔 리그를 바꾸는 자이브이다.
- 스포크: 프리스타일 경기에서 점프 후 수평 방향으로 회전하는 기술이다.
5. 5. 스피드 세일링
국제 스피드 윈드서핑 클래스(ISWC)(International Speed Windsurfing Class)는 세계 요트 연맹(World Sailing) 산하에서 전 세계의 다양한 장소에서 대회를 개최한다. 이 대회는 500m 코스에서 진행되는 히트(heat)로 구성된다. 각 선수의 500m 코스에서 가장 빠른 2회 기록의 평균이 그 히트의 속도가 된다. 히트 순위에 따라 점수가 주어지며, 전체 이벤트 우승자는 가장 높은 점수를 얻은 선수이다. 마찬가지로 이벤트 순위에 따라 점수가 주어지며, 마지막 이벤트에서 세계 스피드서핑 챔피언이 결정된다.[62]세계 요트 속도 기록 위원회(WSSRC)(World Sailing Speed Record Council)가 관리하는 기록 시도에서는 선수들이 500m 또는 1해리(1,852m) 코스에서 시간 기록을 측정한다. 현재 윈드서퍼 500m 기록은 프랑스 윈드서퍼 앙투안 알보(Antoine Albeau)가 보유하고 있다.[62] 여성 500m 기록은 영국의 자라 데이비스(Zara Davis)가 뤼데리츠(Luderitz)에서 세웠다. 남성 1해리 기록은 비욘 덩커벡(Bjorn Dunkerbeck)이, 여성 1해리 기록은 자라 데이비스(Zara Davis)가 모두 나미비아 월비스베이(Walvis Bay)에서 세웠다.
저렴하고 소형 GPS 장치와 웹사이트 www.gps-speedsurfing.com의 등장으로 스피드서퍼들은 서로 간의 즉흥적인 대회뿐만 아니라 유럽 스피드 미팅이나 호주 스피드 위크/포트나이트와 같은 보다 공식적인 대회도 개최할 수 있게 되었다.[63] 5000명이 넘는 선수가 등록되어 전 세계 윈드서퍼들이 속도를 비교할 수 있다.
6. 국제 대회 및 유명 선수
1990년 파리 베르시 옴니스포츠 경기장(Palais Omnisports de Paris – Bercy)에서 실내 윈드서핑이 처음 선보여졌다. 이 첫 번째 실내 대회에서 영국 남해안 출신의 닉 베이커가 두각을 나타내며 6회의 실내 세계 선수권 대회 우승을 차지했다.[65]
실내 윈드서핑 대회는 주로 유럽에서 겨울에 열린다. 큰 수영장 옆에 설치된 강력한 팬들이 윈드서퍼를 밀어주며, 슬라롬 스타일의 경주와 램프 점프 경기가 포함된다.[66][67] 수영장의 깊이가 겨우 1m이고 콘크리트로 둘러싸여 있어 매우 위험하다.
세계 챔피언 제시카 크리스프는 워밍업 세션 중 램프 점프 도중 다리가 부러지는 사고를 당해 프랑스 병원에서 응급 수술을 받았다. 이는 실내 대회 역사상 최악의 부상으로 여겨지며, 그녀의 유럽 전역에서의 명성이 절정에 달했던 시기에 발생했다.[68]
유명한 실내 윈드서핑 챔피언으로는 로베르 테리테하우, 제시카 크리스프, 로비 나이시, 닉 베이커, 에릭 티엠, 나탈리 르리브르 등이 있다.[69]
6. 1. 국제 대회
올림픽에서는 모든 선수가 "원 디자인(One Design)"이라고 불리는, 인정 등록된 공통의 도구를 사용하여 경기가 진행된다.[69] 올림픽에서는 1984년 제23회 로스앤젤레스 대회부터 세일링 경기의 한 종목으로 등록되었으며,[69] 2008년 제29회 베이징 대회에서는 "RS:X-Windsurfer"라는 명칭으로 경기가 치러졌고, 제30회 런던 대회에서는 닐 프리데(Neil Pryde)사 제작의 RS:X 요트가 사용되었다.
참고로, 윈드서핑 세계 최고 속도 기록은 프랑스의 앙투안 알보(Antoine Albeau)가 2015년에 500m 구간에서 53.27kts(98.66km/h), 2023년에 1해리 구간에서 44.12kts(81.71km/h)를 기록하여 세계 세일링 속도 기록 위원회(World Sailing Speed Record Council, WSSRC)의 공식 기록으로 인정 등록되어 있다.
6. 2. 유명 선수


- '''로비 나이시(Robby Naish)''' (미국): 1970년대와 1980년대 초기에 국제적인 명성을 얻은 최초의 윈드서핑 챔피언 중 한 명으로, 당시 경기에서 압도적인 실력을 보였다. 1976년부터 1979년까지 세계 챔피언, 1983년부터 1987년까지 종합 세계 챔피언, 그리고 1988년, 1989년, 1991년에 웨이브 세계 챔피언을 차지했다. 2020년 IWT 빅웨이브 역대 최대 파도 라이더 챔피언.[73] "윈드서핑의 제왕"이라고 불릴 만한 인물 중 한 명이다.[105]
- '''비외른 덩커벡(Björn Dunkerbeck)''' (스페인): 로비 나이시의 뒤를 이어 1980년대 후반부터 1990년대 내내 국제 프로 경기를 지배했다. 12년 연속 PWA 종합 세계 챔피언을 차지했으며, 슬라롬, 웨이브, 코스 레이싱, 종합 부문에서 프로페셔널 윈드서퍼 협회(PWA) 세계 선수권 대회를 총 41회 우승하는 기록을 세웠다. 기네스북에 역대 가장 성공적인 선수로 등재되어 있으며, 총 42개의 세계 타이틀을 보유하고 있다.[74] PWA(Professional Windsurfing Association) 및 전신인 PBA(Professional Boardsailing Association) 월드 투어에서 12연패를 달성하며 압도적인 실력을 보여준 선수이다.[105]
- '''앙투안 알보(Antoine Albeau)''' (프랑스): 포뮬러 윈드서핑, 슈퍼 X, 프리 스타일, 슬라롬, 레이스, 스피드, 종합 등 다양한 종목에서 22회 세계 챔피언에 올랐다. 2015년 11월 5일 53.27노트의 윈드서핑 속도 기록을 보유하고 있다.
- '''스테판 판 덴 베르크(Stephan van den Berg)''' (네덜란드): 1979년~1983년 세계 챔피언, 1984년 미국 캘리포니아주 로스앤젤레스에서 열린 첫 올림픽 윈드서핑 경기에서 금메달을 획득했다.
- '''안데르스 브링달(Anders Bringdal)''' (스웨덴): 1984년 2부문 헤비급 챔피언, 1985년 펀보드 세계 챔피언, 1985년 질트에서 PBA/PWA 프로 윈드서퍼로 활동했다. 1987년 PBA 슬라롬 챔피언, 1988년 PBA 코스 레이싱 챔피언, 2009년 스피드 월드컵 챔피언을 차지했다. 2012년 뤼데리츠에서 공식 기록으로 500미터 이상 50노트를 넘은 최초의 인물이다.
- '''아르노 드 로스네(Arnaud de Rosnay)''' (프랑스): 사진작가이자 윈드서핑 모험가. 공해 윈드서핑과 분쟁 지역에서의 수많은 장거리 횡단으로 유명하다. 1984년 11월 타이완 해협에서 실종되었다. 1981년 마우이에서 최초의 스피드세일링 대회(40km 레이스)를 만들었으며, 80명의 선수가 참가했고 아르노 드 로스네는 로비 나이시에 이어 2위를 차지했다. 또한 카이트서핑(1980)과 랜드세일링(스피드세일 1977)을 발명한 것으로 알려져 있으며, 1979년 사하라 사막에서 1380km를 횡단하기도 했다.
- '''크리스티앙 마르티(Christian Marty)''' (프랑스): 에어프랑스 소속 항공기 조종사. 1981년 세네갈 다카르에서 프랑스령 기아나 쿠루까지 대서양 횡단 윈드서핑을 최초로 성공했다.[75][76] 이후 이륙 직후 추락하여 탑승자 전원과 지상 여러 명이 사망한 에어프랑스 4590편 추락 사고(Air France Flight 4590)의 기장이었다.[77]
- '''피터 보이드(Peter Boyd)''' (미국): 1980년 마우이로 이주하여 여러 윈드서핑 기술을 개척했다. 많은 사람들이 불가능하다고 여겼던 공중 루프를 최초로 성공했다. 이 기술은 푸시 루프와 이중 회전을 포함한 다양한 공중 루프 변형의 길을 열었다. 혁신에 주력했지만, 국제 대회에서 세계 챔피언 켄 위너를 여러 번 물리치기도 했다.[78]
- '''가이 크리브(Guy Cribb)''' (영국): 1990년대 네 번의 세계 선수권 대회 준우승을 차지했다. 영국 챔피언 타이틀 13회 획득.
- '''제이슨 폴라코우(Jason Polakow)''' (호주): 1997년, 1998년 PWA 웨이브 세계 챔피언. 포르투갈 나자레의 큰 파도를 탄 최초의 윈드서퍼이다.[80][81]
- '''케빈 프릿차드(Kevin Pritchard)''' (미국): 2000년 PWA 종합 세계 챔피언, 2006년 PWA 웨이브 세계 챔피언, 2016년 알로하 클래식 웨이브 챔피언.
- '''닉 베이커(Nik Baker)''' (영국): 세 번의 PWA 웨이브 세계 2위, 여섯 번의 실내 세계 챔피언.
- '''통키 프란스(Tonky Frans)''' (네덜란드령 안틸레스): 2009년 세계 프리 스타일 3위, 2001년 미드윈터스 메리트 아일랜드 프리 스타일 대회 1위.
- '''장-파트릭 판 데르 볼데(Jean-Patrick van der Wolde)''' (네덜란드): 2011년 IFCA 주니어 세계 챔피언.
- '''마이크 월츠(Mike Waltz)''' (미국): 1979년 최초로 서프보드에 윈드서핑 세일을 장착하고 마우이의 유명한 후키파 해변을 항해했다. 이는 당시 약 3.66m 길이의 긴 보드에서 현재의 짧은 보드로 스포츠의 전체 방향을 바꿔 놓았다. 마이크는 또한 1981년 마우이의 최초 프로 웨이브 세일링 및 슬라롬 이벤트를 개최했는데, 이는 윈드서핑 월드 투어의 기초가 되었고 마우이는 디자인 센터이자 프로 선수들의 훈련장으로서 이 스포츠의 중심지가 되었다.[83]
- '''데이브 칼라마(Dave Kalama)''' (미국): 큰 파도 서핑과 스탠드업 서핑 업적으로 유명하지만, 뛰어난 윈드서퍼이며 고이터라는 기술을 발명했다.
- '''맷 슈바이처(Matt Schweitzer)''' (미국): 최초의 세계 챔피언(1974년)이며 이후 수년 동안 18개의 세계 선수권 대회급 이벤트에서 우승했다.
- '''리카르도 캄펠로(Ricardo Campello)''' (베네수엘라): 프리 스타일 혁신가로, 많은 어려운 기술을 만들었으며, 2003년, 2004년, 2005년 PWA 프리 스타일 세계 챔피언을 차지했다.
- '''카울리 시아디(Kauli Seadi)''' (브라질): 웨이브 경기에서 프리 스타일 기술을 개척했다. 2005년, 2007년, 2008년 PWA 웨이브 경기에서 1위를 차지했다.[85]
- '''골리토 에스트레도(Gollito Estredo)''' (베네수엘라): 2005년, 2006년, 2008년, 2009년, 2010년, 2014년, 2015년, 2017년, 2018년 9회 PWA 프리 스타일 세계 챔피언, 많은 새로운 프리 스타일 트릭을 개발했다.[86]
- '''토마스 트라베르사(Thomas Traversa)''' (프랑스): 2014년 PWA 웨이브 세계 챔피언, 레드불 스톰 체이스 1위.
- '''스티븐 반 브로크호벤(Steven van Broeckhoven)''' (네덜란드): 2010년 유럽 프리 스타일 챔피언, 2011년 PWA 프리 스타일 세계 챔피언.
- '''필립 쾨스터(Philip Köster)''' (독일): 2011년, 2012년, 2015년, 2017년, 2019년 5회 웨이브 세계 챔피언.
- '''빅토르 페르난데스(Víctor Fernández)''' (스페인): 2010년, 2016년, 2018년 웨이브 세계 챔피언.
- '''마르실리우 브라운(Marcilio Browne)''' (브라질): 2013년, 2022년, 2023년 3회 웨이브 세계 챔피언, 2회 알로하 클래식 챔피언, 2020년 IWT 빅웨이브 최고 급진적 챔피언,[73] 2008년 PWA 프리 스타일 세계 챔피언.
- '''부즈마 굴룰(Boujmaa Guilloul)''' (모로코): 2004년 PWA 하와이 프로 웨이브 1위, 2014년 AWT 프로 함대 스타보드 세버네 알로하 클래식 1위, 2010년 PWA 웨이브 종합 20위, 2009년 카보베르데 웨이브 8위, 2008년 PWA 웨이브 종합 19위, 2007년 웨이브 14위, 긴초 5위. 2014년 알로하 클래식 1위, 2015년 IWT 웨이브 종합 프로 남성 2위, 2016년 IWT 웨이브 종합 프로 남성 1위.[87]
- '''카밀 주반(Camille Juban)''' (과들루프): 2020년 IWT 빅웨이브 역대 최대 파도 라이더 챔피언(영상),[73] 2011년과 2018년 2회 알로하 클래식 챔피언. 2012년, 2013년, 2015년 3회 AWT 종합 프로 남성 웨이브세일링 챔피언.
- '''프랭크 어빈(Frank Ervin)''': 포뮬러 윈드서핑 경량급 세계 챔피언.
- '''모건 누아로(Morgan Noireaux)''' (미국): 2014년, 2015년, 2017년 3회 알로하 클래식 챔피언. 2017년 IWT 종합 프로 남성 웨이브세일링 챔피언.[90]
- '''앙투안 마르탱(Antoine Martin)''' (과들루프): 2019년 & 2023년 2회 알로하 클래식 챔피언, 2018년,[91] 2019년[92] 2회 IWT 웨이브 챔피언, 2019년 프랑스 국가 웨이브 챔피언.
- '''로비 스위프트(Robby Swift)''' (영국): PWA 월드 투어에서 웨이브/프리 스타일 선수로 국제 대회에 참가했다. 2000년 레이싱과 슬라롬 부문에서 청소년 세계 챔피언이었다.[93]
- '''질 보이어'''(Jill Boyer)(미국): 1984년 세계 웨이브 챔피언.
- '''줄리 드 워드'''(Julie de Werd)(미국): 1984년 세계 웨이브 챔피언.
- '''클레어 시거'''(Clare Seeger)(영국): 1980년대 최고의 여성 윈드서퍼 중 한 명. 10년 동안 영국 챔피언 1위를 차지했으며, 영국인 최초로 세계 타이틀을 획득했다. 클레어는 전 세계 여러 대회에서 우승을 차지한 후 결국 하와이에 정착했다. 그녀는 포워드 루프와 푸시 루프를 처음으로 선보인 여성 중 한 명이었으며, 마우이 섬 호오키파(Ho'okipa)에서 더블 백 루프를 처음으로 성공한 사람이었다.
- '''리사 펜필드'''(Lisa Penfield)(미국): 1985년 프리 스타일 세계 챔피언, 1981년부터 1986년까지 여러 차례 챔피언십 우승.
- '''다나 도스'''(Dana Dawes)(미국): 1986년, 1987년 세계 웨이브 챔피언.
- '''나탈리 지벨'''(Natalie Siebel)(독일): 1986년, 1988년, 1990년, 1992년, 1994년 세계 웨이브 챔피언.
- '''나탈리 렐리브르'''(Natalie Lelievre)(프랑스): 1984년, 1985년 세계 종합 챔피언, 1995년, 1996년, 1997년 세계 웨이브 챔피언.
- '''바바라 켄달'''(Barbara Kendall)(뉴질랜드): 뉴질랜드 대표로 3회 올림픽에 출전하여 1992년 바르셀로나 올림픽 금메달, 1996년 애틀랜타 올림픽 은메달, 2000년 시드니 올림픽 동메달을 획득했다.
- '''제시카 크리스프'''(Jessica Crisp)(호주): 호주 대표로 5회 올림픽에 출전. 1994년 PWA 세계 종합 챔피언, 1993년 PWA 세계 웨이브세일링 챔피언.[95]
- '''카린 야기'''(Karin Jaggi)(스위스): 1990년대와 2000년대에 프리 스타일, 웨이브, 스피드 경기에서 여러 차례 PWA 세계 챔피언을 차지했다. 1998년 세계 웨이브 챔피언.
- '''다이다 루아노 모레노'''(Daida Ruano Moreno)(스페인): 2000년, 2001년, 2002년, 2003년, 2004년, 2005년, 2008년, 2009년, 2010년, 2011년, 2013년 PWA 웨이브 세계 챔피언. 2003년~2006년 프리 스타일 세계 챔피언. 웨이브세일링 역사상 가장 성공적인 여성 선수.
- '''이발라 루아노 모레노'''(Iballa Ruano Moreno)(스페인): 1999년, 2006년, 2007년, 2012년, 2014년, 2015년, 2016년, 2017년, 2018년 PWA 웨이브 세계 챔피언. 다이다 모레노의 쌍둥이 자매.
- '''사라-키타 오프링가'''(Sarah-Quita Offringa)(아루바): 17회 세계 챔피언(프리 스타일 12회, 슬랄롬 4회, 웨이브 1회), 2019년 PWA 세계 웨이브 챔피언, 2016년, 2019년 알로하 클래식 웨이브 챔피언 2회 우승.
- '''사라 하우저'''(Sarah Hauser)(뉴칼레도니아): 2020년 IWT 빅 웨이브 사상 최대 파도 라이더 챔피언(사진),[73] 2017년, 2018년 알로하 클래식 웨이브 챔피언 2회 우승, 2015년, 2016년, 2018년 IWT 웨이브 챔피언 3회 우승.
- '''앨런 캐디츠(Alan Cadieux)
7. 한국의 윈드서핑 장소
한국에서는 동해, 서해, 남해, 제주도 등 전국 각지에서 윈드서핑을 즐길 수 있다. 수상에서는 어업 활동을 하는 사람들(수산업협동조합, 해운 등)이 우선적으로 이용하기 때문에, 윈드서핑 장소는 대부분 항행이 제한된 수면이 된다.
윈드서핑은 사이드쇼어에서 온쇼어로 바람이 강하고 파도가 있는 곳이 적합하며, 서핑은 오프쇼어에서 사이드쇼어로 바람이 약하고 파도가 있는 곳이 적합하여 장소가 겹치기 어렵다. 하지만 한국에서는 기상 및 지리적 조건으로 인해 서핑 명소와 윈드서핑 장소가 겹치는 경우가 많다. 이 경우 수상 이용 우선 규정에 따라 서핑이 우선되므로, 윈드서퍼는 서퍼에게 방해가 되지 않도록 해야 한다. 꾸준히 이용이 중복되는 장소에서는 파도가 치는 곳에서 서로 이용 구역을 나누거나, 계절별로 이용 시기를 나누는 경우도 있다. 또한, 지역 규칙이 있을 수 있으므로, 처음 가는 장소에서는 사전에 정보를 수집하는 것이 좋다.
7. 1. 주요 윈드서핑 장소
윈드서핑을 즐기기에 적합한 장소를 "게렌데"라고 부르며, 바람이 꾸준히 불고 적당한 파도가 있는 곳을 말한다. 일본 전국 각지에 윈드서핑 장소가 있지만, 자신의 실력과 목적에 맞는 곳을 선택하는 것이 중요하다. 중·상급자의 경우, 춘풍(春一番), 늦가을 바람(木枯らし)과 같은 계절풍이나 태풍(台風) 등의 기상 상황에 맞춰 여러 게렌데를 이동하며 즐기는 사람들도 많다.해양:세계적으로 유명한 윈드서핑 장소는 무역풍이 부는 카리브해, 하와이, 지중해 등지에 많다. 일본인들은 겨울철 따뜻한 바다를 찾아 남쪽으로 가는 경우가 많으며, 다음과 같은 장소들이 인기가 있다.
일본 국내에서는 다음과 같은 장소들이 인기가 있다.
일본에서는 서핑 명소와 윈드서핑 장소가 겹치는 경우가 종종 있다. 이런 경우, 수상 이용 우선 규정에 따라 서핑이 우선시되므로, 윈드서퍼는 서퍼에게 방해가 되지 않도록 주의해야 한다. 파도가 치는 곳에서 서로 이용 구역을 나누거나, 계절별로 이용 시기를 조정하는 경우도 있다. 또한, 지역 규칙이 있을 수 있으므로, 처음 가는 장소에서는 사전에 정보를 확인하는 것이 좋다.
8. 수상 규칙 및 안전
국제해상충돌예방규칙(COLREGs)에 따르면, 수상 이동체 우선순위는 수영자, 무동력선(서핑, 보디보드 등), 범선(윈드서핑, 카이트보드 등), 동력선(제트스키, 모터보트 등) 순이다.[104] 윈드서핑은 범선이므로, 수영자나 무동력선보다 우선순위가 낮아 진로를 양보해야 한다. 그러나 다른 선박 운전자가 규칙을 모르거나 무시할 수 있으므로 항상 주의해야 한다.
윈드서핑끼리는 우현선 우선 원칙이 기본이며, 세일링 경기에서는 우현(바람을 등지고 오른쪽으로 진행) 쪽 선박, 선행 선박, 바람 아래쪽 선박, 외해 쪽 선박 순으로 우선순위가 있다. 윈드서핑 간 충돌 방지를 위한 "3대 규칙"은 다음과 같다.[104]
# 반대 택의 원칙: 오른손이 마스트 쪽에 있는 상태(스타보드 택)가 우선권을 가진다. 상대방이 왼손이 마스트 쪽에 있는 상태(포트 택)라면 우선순위가 낮다는 것을 인지하지 못할 수 있으므로, "스타보드!!"라고 외쳐 알린다.[104]
# 바람 아래쪽 우선 원칙
# 클리어 스타른·클리어 헤드 원칙(추돌 방지)[104]
자세한 규칙은 Racing Rules of Sailing에 명시되어 있다.
안전을 위해 다음 사항을 준수해야 한다.
- 단독 행동을 피하고 동료와 함께 세일링한다. 동료가 있으면 긴급 상황 시 경찰이나 해상보안청에 연락하는 데 도움이 된다.
- 풍향은 변하므로, 풍향 예보를 확인하고 시간대별 바람 변화를 예측한다.
- 초보자는 오프쇼어 바람(육지에서 바다로 부는 바람)에서 바다로 떠밀리기 쉬우므로, 이런 상황에서는 출항하지 않는다.
- 만약 표류하게 되면 보드에 매달려 부력을 이용하고, 체력 소모를 줄인다.
- 장시간 표류 시 저체온증 위험이 있으므로, 빨리 가장 가까운 곳에 상륙한다.
'''안전 대책 요약'''
- 오프쇼어 바람은 피한다.
- 구명조끼를 착용한다.
- 보온을 위해 웻슈트를 착용한다.
- 파도가 높을 때는 헬멧을 착용한다.
- 외해로 나갈 때는 세일 업이 가능한 보드를 선택한다.
- 장비를 항상 점검하고, 텐던(tendon) 등 부품 사용 기한에 유의한다. 리그와 보드가 분리된 경우, 리그를 잡고 있는 것이 좋다.
참조
[1]
뉴스
Windsurfing Basics
https://www.youtube.[...]
2022-04-14
[2]
웹사이트
Origins of Windsurfing: Jim Drake
https://www.american[...]
2022-04-14
[3]
뉴스
Windsurfing: Sailing's New Tack
https://www.nytimes.[...]
1978-06-12
[4]
뉴스
Boardsailing Is in the Race for Attention
https://www.nytimes.[...]
1981-07-13
[5]
뉴스
Windsurfing Gaining Popularity
https://www.nytimes.[...]
1982-09-12
[6]
뉴스
Europe Gaining in U.S. Sailboard Battle
https://www.nytimes.[...]
1987-08-17
[7]
웹사이트
How the First Woman Windsurfer Helped Design the First Sailboard
https://www.thoughtc[...]
2024-02-05
[8]
웹사이트
The best luxury family windsurf destinations in Europe for 2019 – Planet Windsurf Holidays choice picks – Windsurfing UK Magazine
http://www.windsurfi[...]
2020-01-29
[9]
웹사이트
PWA World Windsurfing Tour: Home
https://www.pwaworld[...]
[10]
웹사이트
HOME
https://www.iqfoilcl[...]
2022-04-14
[11]
웹사이트
Origins of Windsurfing: Jim Drake
https://www.american[...]
2022-04-15
[12]
웹사이트
James Drake, 'Father of Windsurfing' and RAND Engineer, Dies at 83
https://www.rand.org[...]
2022-04-15
[13]
웹사이트
Robby Naish, Jim Drake and Hoyle Schweitzer are voted into the PWA Hall of Fame
https://www.pwaworld[...]
2022-04-15
[14]
웹사이트
Our Heritage
https://mistral-wate[...]
2022-04-15
[15]
웹사이트
Jim Drake, father of windsurfing was 83
http://www.laobserve[...]
2022-04-15
[16]
뉴스
The Strongest Youth Field in a Generation - International Windsurfing Tour-Inspiring the Future of Our Sport
https://internationa[...]
2019-09-15
[17]
웹사이트
Calendrier Wave Tour 2024
https://www.windsurf[...]
[18]
보고서
Wind Surfing — A New Concept in Sailing
https://www.rand.org[...]
1968-12-31
[19]
웹사이트
Jim Drake – Inventor of windsurfing
http://www.worldofwi[...]
[20]
웹사이트
The Legend of Lumberjack Surfing
http://www.deepcraft[...]
2010-07-16
[21]
웹사이트
A Chronological Order of the Development of the Free Sail System Sailboard
http://windsurf.medi[...]
The Hart's Homepage
[22]
웹사이트
Origins of Windsurfing: Jim Drake
https://www.american[...]
2022-04-30
[23]
웹사이트
Windsurfing From the Beginning
http://windsurf.medi[...]
Darby Electronic Museum
[24]
웹사이트
S. Newman Darby Windsurfing Collection, 1944–1998 #625
http://amhistory.si.[...]
Archives Center, National Museum of American History
[25]
웹사이트
From Hawaii to the World
https://www.bbc.co.u[...]
British Broadcasting Corporation
[26]
뉴스
Windsurfing was invented 60 years ago by Newman Darby
https://www.surferto[...]
SurferToday.com
[27]
웹사이트
History of Windsurfing
http://www.oregon.co[...]
Oregon Interactive Corporation
2011-08-29
[28]
서적
USA
https://books.google[...]
Lonely Planet
[29]
서적
Board
https://books.google[...]
Netbiblo
2008-06-03
[30]
잡지
Sailboarding
https://books.google[...]
1965-08
[31]
뉴스
S. Newman Darby, Inventor of the Sailboard, Dies at 88
https://www.nytimes.[...]
2016-12-26
[32]
서적
Windsurfing
https://archive.org/[...]
Human Kinetics
1995-01
[33]
웹사이트
Origins of windsurfing: Jim Drake
http://www.windsurfi[...]
2022-07-08
[34]
웹사이트
Robby Naish, Jim Drake and Hoyle Schweitzer are voted into the PWA Hall of Fame
https://www.pwaworld[...]
PWA World Tour
[35]
웹사이트
James Drake, 'Father of Windsurfing' and RAND Engineer, Dies at 83
https://www.rand.org[...]
2022-04-30
[36]
웹사이트
Robby Naish, Jim Drake and Hoyle Schweitzer are voted into the PWA Hall of Fame
https://www.pwaworld[...]
Professional Windsurfing Association
2022-04-30
[37]
웹사이트
Our Heritage
https://mistral-wate[...]
Mistral Watersports
2022-04-30
[38]
웹사이트
Origins of Windsurfing: Jim Drake
https://www.american[...]
2015-12-06
[39]
웹사이트
Origins of Windsurfing: Hoyle Schweitzer
https://www.american[...]
2022-06-24
[40]
웹사이트
Windsurfing – A New Concept in Sailing
https://www.american[...]
2022-03-20
[41]
웹사이트
Origins of Windsurfing: Jim Drake
https://www.american[...]
2022-04-04
[42]
웹사이트
Origins of Windsurfing: Hoyle Schweitzer
https://www.american[...]
2022-04-30
[43]
웹사이트
James Drake, 'Father of Windsurfing' and RAND Engineer, Dies at 83
https://www.rand.org[...]
2022-08-06
[44]
웹사이트
Windsurfing | sport
https://www.britanni[...]
[45]
웹사이트
WIND-PROPELLED APPARATUS
http://www.freepaten[...]
2018-08-11
[46]
웹사이트
About.com: Inventors – History of Windsurfing
http://inventors.abo[...]
Inventors.about.com
2011-08-06
[47]
웹사이트
Origins of windsurfing: Hoyle Schweitzer
http://www.windsurfi[...]
American Windsurfer Magazine
2022-07-08
[48]
논문
WINDSURFING INTERNATIONAL INC. v. TABUR MARINE (GREAT BRITAIN) LTD.
https://academic.oup[...]
1985-01-01
[49]
웹사이트
Viganj Windsurfing | Apartments Viganj – Pelješac
http://ortolio.com/w[...]
[50]
잡지
Popular Science Magazine
1981-06
[51]
웹사이트
History
http://www.bicsport.[...]
Bic Sport
[52]
웹사이트
Windsurfing International Inc. v Tabur Marine (GB) Ltd.
http://slcc.strath.a[...]
2022-01-12
[53]
웹사이트
Mistral waterlife and living since 1976
http://www.mistral.c[...]
2018-08-11
[54]
웹사이트
Technology, invention, and innovation collections
http://americanhisto[...]
Americanhistory.si.edu
2011-08-06
[55]
웹사이트
Windsurfing v Petit - Judgment 28-Jun-84 - Rotation - Patent Infringement
https://www.scribd.c[...]
2018-08-11
[56]
문서
see pages 104–105 of judgment cited
[57]
웹사이트
Anatomy of an Epoxy Sandwich board
http://www.boardlady[...]
The Board Lady
2011-08-06
[58]
웹사이트
Windsurfing Safety
http://www.sfba.org/[...]
San Francisco Boardsailing Association (SFBA)
2014-08-08
[59]
웹사이트
Team 15
http://www.rya.org.u[...]
RYA
2012-08-01
[60]
웹사이트
Naish, Robby
https://nshof.org/in[...]
2021-03-19
[61]
뉴스
iQFoil: the new Olympic windsurfing equipment
https://www.surferto[...]
[62]
웹사이트
Windsurfer Breaks Speed Record at Over 60 mph
http://www.redbull.c[...]
2015-11-29
[63]
웹사이트
Home – GPS-Speedsurfing.com :: for windsurfers by windsurfers
http://www.gps-speed[...]
GPS-Speedsurfing.com
2011-08-06
[64]
웹사이트
24 Hour Distance
http://www.sailspeed[...]
Sailspeedrecords.com
2011-08-06
[65]
웹사이트
Windsurfing history: N – Windsurfing UK Magazine
http://www.windsurfi[...]
[66]
웹사이트
The PWA World Tour
http://www.pwaworldt[...]
Professional Windsurfers Association
[67]
Youtube
Indoor Windsurfing Kamasutra
https://www.youtube.[...]
Youtube
2007-05-05
[68]
웹사이트
Jessica Crisp Named Australian Sailor of the Year | News | Sportcal
https://www.sportcal[...]
[69]
웹사이트
Indoor windsurfing returns to Paris
https://www.surferto[...]
[70]
웹사이트
PWA WORLD WINDSURFING TOUR: Home
https://www.pwaworld[...]
[71]
웹사이트
Home - International Windsurfing Tour-Inspiring the Future of Our Sport
https://internationa[...]
[72]
웹사이트
IWT Big Wave - International Windsurfing Tour-Inspiring the Future of Our Sport
https://internationa[...]
2019-02-26
[73]
웹사이트
IWT Big Wave Awards - International Windsurfing Tour-Inspiring the Future of Our Sport
https://internationa[...]
2020-04-11
[74]
웹사이트
Most windsurfing world championship titles
https://www.guinness[...]
[75]
서적
The Guinness book of records
https://books.google[...]
Guinness Superlatives
2020-09-09
[76]
웹사이트
Atlantique: La Premiere Traversee!
http://www.tainosgpe[...]
2020-09-09
[77]
웹사이트
ASN Aircraft accident Aérospatiale / BAC Concorde 101 F-BTSC Gonesse
https://aviation-saf[...]
Aviation Safety Network
2020-09-09
[78]
웹사이트
30 YEARS OF THE ALOHA CLASSIC: A HISTORY AND PHILOSOPHY - International Windsurfing Tour-Inspiring the Future of Our Sport
https://internationa[...]
2014-10-29
[79]
웹사이트
Interview with Maui Surfer Mark Angulo – November 11, 1997
https://mauitime.com[...]
[80]
웹사이트
jason polakow - Sport News Headlines - Nine Wide World of Sports
https://wwos.nine.co[...]
[81]
뉴스
10 Tracks Surfing Facts
https://www.tracksma[...]
2014-05-20
[82]
웹사이트
Josh Angulo
https://www.surfersj[...]
[83]
웹사이트
MIKE WALTZE WINDSURFING MAUI
https://www.windsurf[...]
2017-10-21
[84]
웹사이트
ROMANCING: Josh Stone
https://www.american[...]
2015-12-05
[85]
웹사이트
PERSPECTIVE - KAULI SEADI
https://www.windsurf[...]
[86]
웹사이트
PWA WORLD WINDSURFING TOUR: Athletes
https://www.pwaworld[...]
2021-01-15
[87]
웹사이트
Rankings 2016 - International Windsurfing Tour-Inspiring the Future of Our Sport
https://internationa[...]
[88]
웹사이트
AWT Rankings 2012 - International Windsurfing Tour-Inspiring the Future of Our Sport
https://internationa[...]
[89]
웹사이트
Rankings 2013 - International Windsurfing Tour-Inspiring the Future of Our Sport
https://internationa[...]
[90]
웹사이트
Rankings 2017 - International Windsurfing Tour-Inspiring the Future of Our Sport
https://internationa[...]
[91]
웹사이트
Rankings 2018 - International Windsurfing Tour-Inspiring the Future of Our Sport
https://internationa[...]
[92]
웹사이트
Rankings 2019 - International Windsurfing Tour-Inspiring the Future of Our Sport
https://internationa[...]
[93]
웹사이트
Robby Swift - Boards Windsurfing
https://boards.co.uk[...]
2018-04-24
[94]
웹사이트
IWT Chile Topocalma Infernal - Day 2 of heats
https://www.yachtsan[...]
[95]
웹사이트
Jessica Crisp wins The Australian RSX Windsurfing National CHampionships
http://www.womenspor[...]
[96]
웹사이트
What is wing surfing?
https://www.surferto[...]
[97]
서적
ウィンドサーフィン 上達101のコツ
[98]
서적
「4次元以上の空間が見える」
ベレ出版
[99]
문서
ヨットでも横流れは常に発生している。だが、前方と横方向に進む長さの比を計算すると、ウィンドサーフィンのほうが大きくなってしまっている。「起きる/起きない」といった確率のことではなく、前方に対する横方向の移動距離の「比率」のこと。
[100]
서적
ウィンドサーフィン 上達101のコツ
[101]
서적
ウィンドサーフィン 上達101のコツ
[102]
서적
ウィンドサーフィン 上達101のコツ
[103]
서적
ウィンドサーフィン 上達101のコツ
[104]
서적
ウィンドサーフィン 上達101のコツ
[105]
서적
ウィンドサーフィン 上達101のコツ
본 사이트는 AI가 위키백과와 뉴스 기사,정부 간행물,학술 논문등을 바탕으로 정보를 가공하여 제공하는 백과사전형 서비스입니다.
모든 문서는 AI에 의해 자동 생성되며, CC BY-SA 4.0 라이선스에 따라 이용할 수 있습니다.
하지만, 위키백과나 뉴스 기사 자체에 오류, 부정확한 정보, 또는 가짜 뉴스가 포함될 수 있으며, AI는 이러한 내용을 완벽하게 걸러내지 못할 수 있습니다.
따라서 제공되는 정보에 일부 오류나 편향이 있을 수 있으므로, 중요한 정보는 반드시 다른 출처를 통해 교차 검증하시기 바랍니다.
문의하기 : help@durumis.com
