진자시계
"오늘의AI위키"의 AI를 통해 더욱 풍부하고 폭넓은 지식 경험을 누리세요.
1. 개요
진자 시계는 1656년 크리스티안 호이겐스에 의해 발명된 시계로, 진자의 등시성을 활용하여 시계의 정확도를 크게 향상시켰다. 18세기와 19세기에 기술 혁신을 통해 수은 진자와 격자 진자 등 온도 변화에 따른 오차를 보정하는 기술이 개발되었고, 산업 혁명 시기에는 공장 생산으로 대중화되어 시간 관리의 표준이 되었다. 20세기 초 쿼츠 시계의 등장으로 쇠퇴했지만, 현재는 장식용으로 사용되며, 존 해리슨의 설계를 바탕으로 제작된 "Clock B"는 기네스북에 등재되기도 했다. 진자 시계는 추의 진동을 이용하며, 이탈 장치, 휠 트레인, 다이얼 등의 구조로 구성된다.
2. 역사

진자 시계는 1656년 네덜란드 과학자이자 발명가인 크리스티안 호이겐스에 의해 발명되었으며, 이듬해 특허를 받았다. 시계 제작에 사용된 최초의 조화 진동자인 진자의 도입은 시계의 정확도를 하루에 약 15분에서 하루에 15초로 크게 향상시켰다.[8]
초기 진자 시계는 넓은 진동을 하는 버지 이스케이프먼트를 사용하였으나, 로버트 훅의 앵커 이스케이프먼트 발명으로 진자의 진동을 4~6°로 줄일 수 있었다. 앵커 이스케이프먼트는 진자 시계에 사용되는 표준 이스케이프먼트가 되었다. 정확도 향상 외에도 앵커의 좁은 진자 진동은 시계 케이스가 더 길고 느린 진자를 수용할 수 있게 해주었고, 이는 더 적은 동력을 필요로 하고 무브먼트에 마모를 덜 일으켰다. 1690년경부터 시계 문자반에 분침이 추가되었다.
18세기와 19세기에는 데드비트 이스케이프먼트, 수은 진자, 그리드 진자 등 여러 가지 혁신이 일어났다. 18세기 중반까지 정밀 진자 시계는 주당 몇 초의 정확도를 달성했다.
산업 혁명 시대에 진자 시계는 일상생활의 필수품이 되었으며, 더 정밀한 시간 계측을 요구하면서 천문 조절기가 개발되었다. 19세기부터 해군 천문대의 천문 조절기는 국가 시각 신호 서비스의 주요 표준으로 사용되었다.
진자 시계는 1927년 석영 시계의 발명까지 270년 동안 정확한 시간 계측의 세계 표준으로 남아 있었으며, 제2차 세계 대전 동안 시간 표준으로 사용되었다.
2. 1. 초기 발명
갈릴레오 갈릴레이는 1602년경부터 진자 연구를 통해 진자가 등시성을 가지고 있다는 것을 발견했다. 즉, 진자의 주파수는 진폭이 달라도 거의 동일하다는 것이다.[5][6] 1637년 갈릴레오는 아들 빈첸초에게 진자를 흔들리게 할 수 있는 메커니즘을 묘사했는데, 이것이 최초의 진자 시계 설계로 불린다. 그의 아들이 1649년에 부분적으로 제작했지만, 둘 다 완성하지는 못했다.[4][7]
1656년 크리스티안 호이겐스는 갈릴레오의 연구에서 영감을 받아 진자 시계를 발명하고 이듬해 특허를 받았다. 호이겐스는 시계 제작자 살로몬 코스터에게 시계 설계를 의뢰했고, 코스터가 실제로 시계를 제작했다.[4] 호이겐스는 1658년에 출판된 그의 저서 《호롤로지움》에서 자신의 발명품을 설명했다.[4]
2. 2. 발전과 혁신
크리스티안 호이겐스가 발명한 초기 진자 시계는 버지 이스케이프먼트를 사용했기 때문에 80~100°의 넓은 진자 진동을 가졌다. 1673년 호이겐스는 저서 《호롤로지움 오실라토리움》에서 넓은 진동은 진자를 부정확하게 만들어 시계의 속도가 무브먼트에서 제공되는 구동력의 변화에 따라 달라진다는 것을 밝혔다.[4] 시계 제작자들은 작은 진동을 갖는 진자만이 등시성을 가진다는 것을 깨달았고, 이는 1658년경 로버트 훅이 앵커 이스케이프먼트를 발명하게 된 계기가 되었다. 앵커 이스케이프먼트는 진자의 진동을 4~6°로 줄여주었다.[4][9] 앵커 이스케이프먼트는 진자 시계의 표준 이스케이프먼트가 되었다. 또한, 좁은 진자 진동은 시계 케이스가 더 길고 느린 진자를 수용할 수 있게 해주었고, 이는 더 적은 동력을 필요로 하고 무브먼트에 마모를 덜 일으켰다. 시간 주기가 2초인 0.994m 길이의 초침 진자(로열 진자라고도 함)가 고품질 시계에 널리 사용되었다. 1680년경 윌리엄 클레멘트가 처음 만든 이러한 진자를 중심으로 제작된 길고 좁은 시계는 앵커 이스케이프먼트의 발명을 주장하기도 했다.[4] 이러한 발전으로 인해 1690년경부터 시계 문자반에 분침이 추가되기 시작했다.[10][4]
진자 발명 이후 18세기와 19세기의 시계 제작 혁신은 진자 시계에 많은 개선을 가져왔다.[3] 1675년 리차드 타운리가 발명하고 1715년경 조지 그레이엄이 그의 정밀 "조절기" 시계에서 대중화한 데드비트 이스케이프먼트는 점차 앵커 이스케이프먼트를 대체했으며,[11][4] 현재 대부분의 현대 진자 시계에 사용된다. 진자 시계가 여름에 느려지는 현상을 관찰하면서, 온도 변화에 따른 진자 막대의 열팽창 및 수축이 오차의 원인이라는 것을 깨달았다. 이는 1721년 그레이엄의 수은 진자와 1726년 존 해리슨의 그리드 진자와 같은 온도 보상 진자의 발명으로 해결되었다.[12][4] 이러한 개선을 통해 18세기 중반까지 정밀 진자 시계는 주당 몇 초의 정확도를 달성했다.
18세기 영국의 시계 장인 존 해리슨은 100일 동안 1초 이내의 오차를 보이는 진자 시계 제작이 가능하다고 주장했지만, 당시에는 헛소리로 취급받았다. 그가 남긴 설계를 바탕으로 1975년 - 2009년에 걸쳐 영국의 마틴 버지스에 의해 제작된 "Clock B"는 2015년 그리니치 천문대에서 실시된 100일간의 시험 결과, 오차 8분의 5초(0.625초)라는 성적을 거두어 "자유 대기 중에서 흔들리는 진자를 가진 세계에서 가장 정확한 기계식 시계"로 기네스북에 등재되었다.[30]
2. 3. 산업 혁명과 진자 시계
산업 혁명 동안, 더 빠른 생활 속도, 교대 근무 및 기차와 같은 대중 교통의 일정은 진자 시계로 인해 가능해진 더 정확한 시간 계측에 의존하게 되었다.[3] 일상 생활은 가정용 진자 시계를 중심으로 조직되었다. 더 정확한 진자 시계인 ''조절기''는 사업장과 철도역에 설치되어 작업 일정을 잡고 다른 시계를 설정하는 데 사용되었다. 장거리 항해 중 선박에서 경도를 결정하기 위한 천문 항법에서 극도로 정확한 시간 계측이 필요했기 때문에 ''천문 조절기''라고 하는 가장 정확한 진자 시계가 개발되었다. 이러한 정밀 기기는 해군 천문대의 시계 금고에 설치되었으며, 머리 위로 지나가는 별의 통과 관측을 통해 수 초 이내의 정확도를 유지했고, 해군 및 상업 선박의 항해 크로노미터를 설정하는 데 사용되었다. 19세기부터 해군 천문대의 천문 조절기는 전신선을 통해 시간 신호를 배포하는 국가 시각 신호 서비스의 주요 표준으로 사용되었다.[13] 1909년부터 미국 국립 표준국(현재 NIST)은 하루에 약 10밀리초의 정확도를 가진 리플러 이스케이프먼트 진자 시계를 기반으로 미국 시간 표준을 설정했다. 1929년에는 석영 시계 표준으로 전환하기 전에 쇼트-싱크로노메 자유 진자 시계로 전환했다.[14][15] 연간 1초 미만의 오차를 가진 쇼트 시계는 상업적으로 생산된 가장 정확한 진자 시계였다.[16][17][18][19][20]
19세기까지 시계는 개별 장인이 수작업으로 만들었기 때문에 매우 비쌌다.[3] 이 시대의 진자 시계에 보이는 풍부한 장식은 부유층의 지위 상징으로서 가치를 나타낸다. 유럽의 각 국가 및 지역의 시계 제작자들은 고유한 스타일을 개발했다. 19세기까지 시계 부품의 공장 생산은 점차 진자 시계를 중산층 가정에서도 구매할 수 있도록 만들었다.
2. 4. 쇠퇴와 현대적 사용
쿼츠 시계(수정 시계)가 발명되면서 진자 시계는 쇠퇴했다. 하지만 외형상의 특징으로 인해 여전히 인기가 있으며, 정확도는 떨어지지만 제대로 조정하면 일상생활에서 큰 문제가 되지 않아 현재에도 사용되고 있다. 수정 시계 발명 이후에는 시간 측정에 진자를 사용하는 시계는 거의 생산되지 않으며, 수정 시계에 장식용 진자를 부착하여 오래된 진자 시계의 외형을 본뜬 제품이 많이 출시되고 있다.[15]
런던 웨스트민스터 궁전에 있는 세계적으로 유명한 시계탑인 엘리자베스 타워(빅벤)는 특수한 탈진기를 채용하고 있지만[32], 구조상 진자 시계에 해당한다. (진자 길이 3.9m, 무게 300kg)
장식용으로 움직이는 추가 달린 쿼츠 시계도 있다. 추 구동에 필요한 전력 소비는 쿼츠 시계보다 훨씬 크며, 추 구동과 시계 구동에 동일한 건전지를 사용하면 배터리 수명이 짧아진다. 따라서 추 구동과 시계 구동에는 용량이 다른 별도의 건전지가 사용되는 경우가 많다. 추의 움직임은 시계 작동과 무관하며, 외부 진동이나 배터리 소모로 인해 추의 움직임이 멈춰도 시계는 정상적으로 작동하는 경우가 많다. 반대로 시계 부분의 건전지가 소진되어도 추는 계속 움직일 수 있기 때문에, 추를 시계의 정상 작동 여부를 확인하는 용도로 사용할 수는 없다.
3. 작동 원리

기계식 시계를 작동시키는 메커니즘을 무브먼트(movement)라고 부른다. 모든 기계식 진자시계의 무브먼트는 동력원, 기어 트레인, 이탈 장치, 진자, 표시 장치(다이얼) 등으로 구성된다.[27]
태엽이나 추의 하강(이후 전동) 등을 동력원으로 하고, 진자의 등시성에 의해 속도가 조절되는 탈진기를 통해 시간을 측정한다. 진자시계의 탈진기는 진자의 등시성에 영향을 주지 않도록 고안되었으며, 동력원에서 전달되는 운동 에너지를 아주 적은 양으로 진자에 전달하여 진자의 왕복 운동이 감쇠되지 않도록 한다. 또한 진자의 운동을 톱니바퀴의 회전으로 변환하는 역할을 한다.
3. 1. 기본 구조
기계식 진자시계의 무브먼트(movement)는 다음 다섯 부분으로 구성된다:[27]
시간 표시 시스템은 거의 항상 움직이는 시침과 분침이 있는 전통적인 문자판을 사용한다. 많은 시계는 작은 보조 문자반에 초를 표시하는 세 번째 바늘을 가지고 있다. 진자시계는 대개 유리 전면 덮개를 열고 분침을 문자반 주위로 수동으로 밀어 올바른 시간을 설정하도록 설계되었다. 분침은 회전축에서 돌릴 수 있도록 하는 미끄럼 마찰 슬리브에 장착되어 있다. 시침은 휠 트레인에서 구동되는 것이 아니라 작은 기어 세트를 통해 분침의 샤프트에서 구동되므로 분침을 수동으로 회전시키면 시침도 설정된다.
3. 2. 컴플리케이션
기본적인 시간 측정 외에 시계의 추가 기능을 컴플리케이션이라고 한다. 더 정교한 진자시계는 다음과 같은 컴플리케이션을 포함할 수 있다.[27]3. 3. 전기 기계식 진자 시계
기계식 마스터 시계와 같은 ''전기 기계식 진자시계''는 전기로 작동하는 솔레노이드를 동력원으로 사용하여 자기력으로 진자에 펄스를 가한다. 이탈 장치는 스위치 또는 광검출기로 대체되어 진자가 펄스를 받기에 적절한 위치에 있을 때를 감지한다.[27] 이러한 시계는 전자식 석영 시계 모듈이 진자를 진동시키는 최신 석영 진자시계와 혼동해서는 안 된다. 최신 석영 진자시계는 시간 측정이 모듈의 석영 진동자에 의해 제어되고 진동하는 진자는 단순한 장식적인 시뮬레이션이기 때문에 진정한 진자시계가 아니다.
4. 중력 스윙 진자

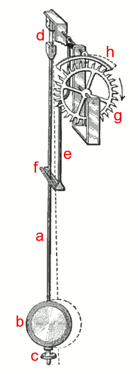
중력 스윙 진자는 진자시계에서 시간을 측정하는 핵심 부품이다. 대부분 나무 또는 금속 막대(a)와 끝에 달린 추(b)로 구성된다.[1] 추는 공기 저항을 줄이기 위해 렌즈 모양을 하고 있다. 막대는 짧은 스프링(d)으로 시계 프레임에 매달려 있으며, '크러치'(e)와 '포크'(f)를 통해 이스케이프먼트의 앵커 조각(h)과 연결되어 진자에 주기적인 운동 에너지를 전달한다.[1]
진자시계는 보통 진자가 한 번 흔들리는 데 1초가 걸리는 '초 진자'를 사용하며, 전체 주기는 2초이다. 이 진자의 길이는 약 1m이다.[1] 맨틀 시계는 이보다 짧은 25cm 길이의 진자를 사용하며, 일부 탑 시계는 더 긴 진자를 사용하기도 한다.[1]
진자의 주기는 다음 공식으로 계산된다.[1]
:
(L: 진자의 길이, g: 중력 가속도)[1]
진자 시계는 진자 추 아래의 조정 너트(c)를 이용해 시간을 조절한다. 추를 위로 올리면 진자의 길이가 짧아져 시계가 빨라진다.[1]
4. 1. 구조
대부분의 시계에서 진자는 나무 또는 금속 막대 ''(a)''로 구성되며, 끝 부분에는 추 ''(b)''가 있다. 추는 공기 저항을 줄이기 위해 렌즈 모양으로 만들어진다. 나무는 금속보다 열팽창 계수가 낮아 고급 시계에 자주 사용되었다. 막대는 금속 리본으로 된 짧은 직선 스프링 ''(d)''으로 시계 프레임에 매달려, 피벗으로 인해 발생하는 불안정성을 방지한다.진자는 이스케이프먼트의 앵커 조각 ''(h)''에 부착된 "크러치" ''(e)''라는 팔에 의해 구동된다. 크러치는 진자 막대를 감싸는 "포크" ''(f)''로 끝난다. 진자가 한 번 흔들릴 때마다 이스케이프 휠이 풀리고, 휠의 톱니가 팔레트 중 하나에 닿아 크러치와 포크를 통해 진자 막대에 짧은 압력을 가해 흔들림을 유지한다.
대부분의 고급 시계에는 "초 진자"가 있으며, 진자가 한 번 흔들리는 데 초가 걸린다(전체 사이클은 2초). 이는 피벗에서 추의 중심까지 약 1m이다. 맨틀 시계는 약 25cm 길이의 2분의 1초 진자를 가진다. 1.5초 진자(2.25m 길이) 또는 2초 진자(4m 길이)와 같이 몇몇 탑 시계만 더 긴 진자를 사용한다.
진자는 유효 길이의 제곱근에 따라 변하는 주기로 흔들린다. 작은 흔들림의 경우, 주기 ''T''는 다음과 같다.
:
여기서 ''L''은 진자의 길이이고 ''g''는 국부적인 중력 가속도이다. 모든 진자 시계에는 속도를 조절하는 수단이 있다. 이것은 진자 추 아래의 조정 너트 ''(c)''이며, 추를 위로 올리면 진자의 길이가 줄어들어 진자의 주기가 감소하여 시계가 시간을 빠르게 한다. 일부 진자 시계에서는 미세 조정이 진자 막대를 따라 움직이는 작은 무게로 이루어진다. 일부 마스터 시계와 탑 시계에서는 막대에 장착된 작은 트레이에 작은 무게를 놓거나 제거하여 유효 길이를 변경한다.
진자의 주기는 흔들림의 폭(진폭)에 따라 약간 증가한다. 오류의 ''속도''는 진폭에 따라 증가하므로 몇 도의 작은 흔들림으로 제한하면 진자는 거의 ''등시성''이 된다. 따라서 시계의 진자 흔들림은 2°에서 4°로 제한된다.
작은 흔들림 각도는 근사가 각도가 0에 접근할 때 유효해진다는 수학적 사실로 인해 등시성 동작을 보인다. 흔들림 각도가 커지면 근사가 점차적으로 실패하고 주기는 더 이상 고정되지 않는다.
4. 2. 주기
대부분의 시계에서 진자는 나무 또는 금속 막대로 구성되며, 끝 부분에는 추가 달려 있다. 추는 공기 저항을 줄이기 위해 렌즈 모양으로 만들어진다. 고급 시계에서는 금속보다 열팽창 계수가 낮은 나무 막대가 사용된다. 막대는 짧은 직선 스프링으로 시계 프레임에 매달려 있어 피벗으로 인한 불안정성을 방지한다.진자는 이스케이프먼트의 앵커 조각에 부착된 "크러치"라는 팔에 의해 구동된다. 진자가 한 번 흔들릴 때마다 이스케이프 휠이 풀리고, 휠의 톱니가 팔레트 중 하나에 닿아 크러치를 통해 진자에 짧은 압력을 가해 흔들림을 유지한다.
"초 진자"는 진자가 한 번 흔들리는 데 초가 걸리며(전체 주기는 2초), 피벗에서 추의 중심까지 약 1m이다. 맨틀 시계는 종종 약 25cm 길이의 2분의 1초 진자를 가지고 있다. 몇몇 탑 시계는 1.5초 진자(2.25m 길이) 또는 2초 진자(4m 길이)를 사용하기도 한다.
진자는 유효 길이의 제곱근에 따라 변하는 주기로 흔들린다. 작은 흔들림의 경우, 주기 ''T''는 다음과 같다.
:
여기서 ''L''은 진자의 길이이고, ''g''는 국부적인 중력 가속도이다. 모든 진자 시계에는 속도를 조절하는 수단이 있다. 일반적으로 진자 추 아래의 조정 너트를 돌려 추를 위 또는 아래로 움직인다. 추를 위로 올리면 진자의 길이가 줄어들어 주기가 감소하고, 시계가 시간을 빠르게 한다. 일부 진자 시계에서는 미세 조정을 위해 작은 무게를 추가로 사용하기도 한다. 마스터 시계와 탑 시계에서는 막대에 장착된 작은 트레이에 무게를 추가하거나 제거하여 시계를 멈추지 않고 속도를 조절할 수 있다.
진자의 주기는 흔들림의 폭(진폭)에 따라 약간 증가한다. 오류의 ''속도''는 진폭에 따라 증가하므로, 진자 흔들림은 2°에서 4°로 제한하여 등시성을 유지한다.
작은 흔들림 각도는 근사가 각도가 0에 접근할 때 유효해진다는 수학적 사실로 인해 등시성 동작을 보인다. 해당 대체가 이루어지면 진자 방정식은 모든 경우에 고정된 주기를 갖는 조화 진동자의 방정식이 된다. 흔들림 각도가 커지면 근사가 점차적으로 실패하고 주기는 더 이상 고정되지 않는다.
4. 3. 등시성
진자의 주기는 흔들림의 폭(진폭)에 따라 약간 증가한다. 오류의 ''속도''는 진폭에 따라 증가하므로, 진자가 몇 도의 작은 흔들림으로 제한되면 거의 ''등시성''을 가진다. 즉, 주기는 진폭 변화와 관계없이 일정하다. 따라서 시계의 진자 흔들림은 2°에서 4°로 제한된다.작은 흔들림 각도는 근사가 각도가 0에 접근할 때 유효하다는 수학적 사실 때문에 등시성 동작을 보이는 경향이 있다. 이 근사를 사용하면 진자 방정식은 모든 경우에 고정된 주기를 갖는 조화 진동자의 방정식이 된다. 흔들림 각도가 커지면 근사가 점차적으로 맞지 않게 되고 주기는 더 이상 고정되지 않는다.
5. 온도 보상
진자 시계는 온도 변화에 따라 정확도가 영향을 받는다. 이를 보정하기 위해 여러 방법이 개발되었다.
- 수은 진자: 1721년 그레이엄이 발명. 수은을 담은 용기를 추로 사용하여 온도 변화에 따른 진자 막대의 팽창을 보상. 20세기까지 정밀 규제 시계에 사용.[1]
- 격자 진자: 1726년경 존 해리슨이 발명. 열팽창 계수가 다른 아연 또는 황동과 강철 막대를 격자 형태로 배열하여 온도 변화에 따른 팽창을 서로 상쇄.[3]
- 초저팽창 재료: 1900년경부터 인바나 용융 실리카와 같이 팽창이 매우 적은 재료를 사용하여 온도 보정이 거의 필요 없는 진자가 제작.
5. 1. 열팽창
진자 시계에서 주요 오차 원인은 열팽창이다. 진자 막대는 온도 변화에 따라 길이가 약간씩 변하여 시계 속도에 변화를 일으킨다. 온도가 상승하면 막대가 팽창하여 진자가 길어지고, 그 주기가 증가하여 시계가 시간을 잃게 된다. 많은 구형 고급 시계는 이러한 오차를 줄이기 위해 나무 진자 막대를 사용했는데, 나무는 금속보다 팽창이 덜하기 때문이다.[1]5. 2. 수은 진자
진자 시계의 주요 오차 원인은 열팽창이다. 진자 막대는 온도 변화에 따라 길이가 약간씩 변하여 시계의 속도가 달라진다. 온도가 상승하면 막대가 팽창하여 진자가 길어지고, 그 주기가 증가하여 시계가 시간을 잃게 된다.[1]이러한 오차를 보정하기 위해 최초로 개발된 진자는 1721년 그레이엄이 발명한 ''수은 진자''였으며, 20세기까지 정밀 규제 시계에 사용되었다.[1] 이 진자는 수은 액체 금속 용기로 구성된 추를 가지고 있었다. 온도가 상승하면 진자 막대가 팽창하지만, 용기 안의 수은도 함께 팽창하여 수은의 수위가 약간 상승하고, 이에 따라 진자의 무게 중심이 회전축 쪽으로 이동한다. 적절한 양의 수은을 사용하면 진자의 무게 중심을 일정한 높이로 유지할 수 있어, 온도 변화에도 불구하고 진자의 주기는 일정하게 유지된다.[1]
5. 3. 격자 진자
존 해리슨이 1726년경 발명한 격자 진자는 아연 또는 황동과 같이 열팽창 계수가 높은 금속과 강철과 같이 열팽창 계수가 낮은 금속의 평행 막대 "격자"로 구성되었다. 적절하게 조합하면 팽창 계수가 높은 막대의 길이 변화가 팽창 계수가 낮은 막대의 길이 변화를 보상하여 온도 변화에도 진자의 주기가 일정하게 유지된다.[3] 이러한 유형의 진자는 품질과 매우 연관되어, 실제 온도 보상 기능이 없는 진자 시계에 장식적인 "가짜" 격자가 자주 나타난다.[3]5. 4. 초저팽창 재료
진자 시계에서 주요 오차 원인은 열팽창이다. 진자 막대는 온도 변화에 따라 길이가 약간씩 변하여 시계의 속도에 변화를 일으킨다. 온도가 상승하면 막대가 팽창하여 진자가 길어지고, 그 주기가 증가하여 시계가 시간을 잃게 된다. 많은 구형 고급 시계는 이러한 오차를 줄이기 위해 나무 진자 막대를 사용했는데, 나무는 금속보다 팽창이 덜하기 때문이다.1900년경부터 일부 최고 정밀 과학 시계는 인바 또는 용융 실리카와 같은 초저팽창 재료로 만들어진 진자를 사용했으며, 온도 영향에 대한 보정이 거의 필요하지 않았다.
6. 기타 영향 요인
진자 시계는 가속도 변화나 진동에 약해 휴대하거나 선박 등 탈것 위에서는 사용할 수 없다. 또한 지진 등의 흔들림으로 시계가 멈추기도 한다. 히로시마와 나가사키 원자 폭탄 투하 당시 폭발 시각에 멈춘 진자 시계가 남아있어, 지진 발생 시각을 기록하는 증거가 되기도 한다.
금속 추를 사용할 경우, 열에 의한 진자 신축으로 오차가 발생하기 쉽다. 이를 막기 위해 합금을 사용하거나, 팽창률이 다른 금속을 조합하여 길이 변화를 상쇄하는 방법 등이 개발되었다.
6. 1. 대기 저항
진자가 흔들리는 공기의 점성은 대기압, 습도, 온도에 따라 달라진다. 이러한 공기 저항은 태엽을 감는 간격을 늘리는 데 사용될 수 있는 동력을 필요로 한다.[1] 전통적으로 진자 추는 공기 저항을 줄이기 위해 좁고 유선형의 렌즈 모양으로 만들어지는데, 이는 양질의 시계에서 대부분의 구동력이 소모되는 부분이다.[1] 19세기 후반과 20세기 초, 천문대의 정밀 조절 시계용 진자는 종종 낮은 압력으로 펌핑된 챔버에서 작동하여 공기 저항을 줄이고 대기압 변화를 피함으로써 진자의 작동을 더욱 정확하게 만들었다.[1] 시계의 속도 미세 조정은 밀폐된 하우징 내부의 압력을 약간 변경하여 수행할 수 있었다.[1]6. 2. 수평 및 비트
정확한 시간을 유지하기 위해 진자시계는 수평을 이루어야 한다. 수평을 이루지 못하면 진자가 한쪽으로 더 많이 흔들려 이스케이프먼트의 대칭적인 작동을 방해한다. 이러한 상태는 시계의 똑딱거리는 소리로 확인할 수 있다. 똑딱거림, 즉 "비트"는 정확히 동일한 간격으로 "똑...딱...똑...딱" 소리를 내야 한다. 만약 "똑-딱...똑-딱..." 소리가 난다면 시계가 '비트가 맞지 않는' 상태이므로 수평을 맞춰야 한다.[1] 이는 시계 작동 중단의 흔한 원인이며, 서비스 요청의 가장 큰 이유 중 하나이다.[1] 수평계나 시계 타이밍 머신을 사용하면 비트 소리에 의존하는 것보다 더 높은 정확도를 얻을 수 있다.[1] 정밀 조절기는 내장된 수평계를 갖춘 경우가 많다.[1] 오래된 독립형 시계는 수평 조절 나사가 있는 다리가 있으며, 최근 시계는 무브먼트에 수평 조절 장치가 있다.[1] 일부 현대식 진자시계는 '자동 비트' 또는 '자동 조절 비트' 장치를 갖추고 있어 이러한 조절이 필요하지 않다.[1]6. 3. 지역 중력
진자의 속도는 중력 증가에 따라 증가한다. 지구상의 위도와 고도에 따라 지역 중력 가속도 가 달라지므로, 가장 정밀한 진자시계는 이동 후 시간을 맞추기 위해 다시 조정해야 한다. 예를 들어 해수면에서 약 1219.20m로 옮겨진 진자시계는 하루에 16초 늦어진다.[28] 가장 정확한 진자시계의 경우, 높은 건물 꼭대기로 시계를 옮기는 것만으로도 중력 감소로 인해 측정 가능한 시간이 늦어질 수 있다.[29] 또한, 지역 중력은 적도와 극 사이의 위도에 따라 약 0.5% 정도 변동하며, 지구의 편구 모양으로 인해 고위도에서 중력이 증가한다. 따라서 20세기 초 천문 항법에 사용된 정밀 조절 시계는 다른 위도로 이동할 때마다 다시 보정해야 했다.7. 토션 진자
토션 진자는 토션 진자 시계의 조절 장치로 사용되는 수직 스프링 강철 띠(리본)에 매달린 바퀴 모양의 질량(가장 흔하게 십자형 스포크에 4개의 구)으로 구성된다. '토션-스프링 진자'라고도 불린다. 질량의 회전은 현수 스프링을 감고 풀며, 스프링 상단에 에너지 펄스가 가해진다.
토션 진자는 주기가 12–15초로, 일반적인 진자의 주기(0.5–2초)보다 길어 태엽을 30일 또는 1년에 한 번만 감아도 되는 시계를 만들 수 있다. 그러나 복원력은 온도가 변하는 스프링의 탄성에 의해 제공되므로 중력 스윙 진자보다 온도 변화에 더 큰 영향을 받는다. 이러한 단점을 보완하기 위해 가장 정확한 토션 시계는 탄성의 온도 계수가 낮은 엘린바 스프링을 사용한다.[1]
1년에 한 번만 태엽을 감아도 되는 토션 진자 시계는 "'''400일 시계'''" 또는 "'''기념일 시계'''"라고 불리며, 결혼 선물로 주어지기도 한다. 토션 진자는 태엽이 벨로우즈 배열을 통해 대기 온도 및 압력 변화에 의해 감기는 "영구" 시계에도 사용된다. 아토스 시계는 60초의 긴 진동 주기를 가진 토션 진자를 사용하는 "영구" 시계의 한 예이다.[1]
7. 1. 작동 원리
이것은 토션-스프링 진자라고도 불리며, 토션 진자 시계의 조절 메커니즘으로 사용되는 수직 스프링 강철 스트립(리본)에 매달린 바퀴 모양의 질량(가장 흔하게 십자형 스포크에 4개의 구)이다. 질량의 회전은 현수 스프링을 감고 풀며, 스프링의 상단에 에너지 펄스가 가해진다. 이 유형의 진자의 주요 장점은 낮은 에너지 사용량이다. 중력 스윙 진자의 주기(0.5s–2s)와 비교하여 12s–15s의 주기를 가지므로, 30일마다 또는 심지어 1년에 한 번 이상만 감아도 되는 시계를 만들 수 있다.[1] 복원력은 온도가 변하는 스프링의 탄성에 의해 제공되므로 중력 스윙 진자보다 온도 변화의 영향을 더 많이 받는다.[1] 가장 정확한 토션 시계는 탄성의 온도 계수가 낮은 엘린바 스프링을 사용한다.[1]7. 2. 장단점
토션 진자 시계의 조절 메커니즘으로 사용되는 수직 스프링 강철 스트립(리본)에 매달린 바퀴 모양의 질량(가장 흔하게 십자형 스포크에 4개의 구)이 회전하며 현수 스프링을 감고 푸는 방식으로 작동한다. 이때 에너지 펄스가 스프링의 상단에 가해진다. 이러한 토션 진자는 일반적인 중력 진자에 비해 주기가 12–15초로 매우 길기 때문에 (일반적인 중력 진자의 주기는 0.5-2초이다.) 에너지 소비가 매우 낮다는 장점이 있다. 따라서 30일 또는 1년에 한 번만 태엽을 감아도 작동하는 시계를 만들 수 있다.[1]하지만 복원력이 온도 변화에 민감한 스프링의 탄성에 의해 제공되므로, 중력 스윙 진자보다 온도 변화에 더 큰 영향을 받는 단점이 있다. 이러한 단점을 극복하기 위해 가장 정확한 토션 시계는 탄성의 온도 계수가 낮은 엘린바 스프링을 사용한다.[1]
연간 한 번만 태엽을 감아도 되는 토션 진자 시계는 "'''400일 시계'''" 또는 "'''기념일 시계'''"라고 불리기도 하며, 결혼 선물로 주어지기도 한다. 또한, 토션 진자는 태엽이 벨로우즈 배열을 통해 대기 온도 및 압력 변화에 의해 감겨진 상태로 유지되므로 태엽을 감을 필요가 없는 "영구" 시계에도 사용된다. 아토스 시계는 이러한 "영구" 시계의 한 예시이며, 60초의 긴 진동 주기를 가진 토션 진자를 사용한다.[1]
7. 3. 응용
토션 진자 시계의 조절 장치로 사용되는 수직 스프링 강철 띠(리본)에 매달린 바퀴 모양의 질량(가장 흔하게 십자형 스포크에 4개의 구)으로, 토션-스프링 진자라고도 불린다. 질량의 회전은 현수 스프링을 감고 풀며, 스프링의 상단에 에너지 펄스가 가해진다. 이 유형의 진자는 0.5–2초의 중력 스윙 진자 주기와 비교하여 12–15초의 주기를 가지므로, 30일마다 또는 심지어 1년에 한 번 이상만 감아도 되는 시계를 만들 수 있다는 장점이 있다.[1] 복원력은 온도가 변하는 스프링의 탄성에 의해 제공되므로 중력 스윙 진자보다 온도 변화의 영향을 더 많이 받는다.[1] 가장 정확한 토션 시계는 탄성의 온도 계수가 낮은 엘린바 스프링을 사용한다.[1]연간 한 번만 감아도 되는 토션 진자 시계는 때때로 "'''400일 시계'''" 또는 "'''기념일 시계'''"라고 불리며, 때로는 결혼 선물로 주어지기도 한다.[1] 토션 진자는 또한 태엽이 벨로우즈 배열을 통해 대기 온도 및 압력 변화에 의해 감겨진 상태로 유지되므로 감을 필요가 없는 "영구" 시계에도 사용된다.[1] 아토스 시계는 한 예로, 60초의 긴 진동 주기를 가진 토션 진자를 사용한다.[1]
8. 이탈 장치
이탈 장치는 필수적이지만, 그 힘은 진자의 자연스러운 움직임을 방해하며, 정밀 진자 시계에서는 종종 시계의 정확성을 제한하는 요인이었다. 이 문제를 해결하기 위해 수년에 걸쳐 진자 시계에 다양한 이탈 장치가 사용되었다. 휠 트레인의 가변적인 힘으로부터 이탈 장치를 분리하기 위해 몇몇 정밀 시계에는 정기적으로 다시 감는 작은 스프링 메커니즘인 르몽트와르가 사용되었다.
8. 1. 역할
이탈 장치는 시계의 휠 트레인에서 발생하는 힘을 진자가 앞뒤로 움직이도록 하는 충격으로 변환하는 기계적 연결 장치이다. 작동하는 진자 시계에서 "똑딱" 소리를 내는 부분이다.[1] 대부분의 이탈 장치는 '탈출 휠'이라고 하는 뾰족한 이빨이 있는 휠과, 이 이빨이 밀어내는 표면인 '팰릿'으로 구성된다.[1] 진자가 움직이는 동안 대부분의 휠은 이빨이 팰릿 중 하나에 걸려 있기 때문에 회전하지 못하는데, 이것을 "잠금" 상태라고 한다.[1] 진자가 한 번 움직일 때마다 팰릿이 탈출 휠의 이빨 하나를 놓는다.[1] 휠은 다른 이빨이 다른 팰릿에 걸릴 때까지 고정된 양만큼 앞으로 회전한다.[1] 이러한 해제는 시계의 휠 트레인이 각 스윙마다 고정된 양만큼 앞으로 진행하도록 하여 진자에 의해 제어되는 일정한 속도로 시계 바늘을 앞으로 이동시킨다.[1]
8. 2. 종류
이탈 장치는 시계의 휠 트레인에서 발생하는 힘을 진자가 앞뒤로 움직이도록 하는 충격으로 변환하는 기계적 연결 장치이다. 18세기와 19세기에 이탈 장치 설계는 시계 제작 발전의 선두에 있었다. 데드비트 이탈 장치가 정밀 시계에서 자리를 잡기 전까지, 앵커 이탈 장치(애니메이션 참조)가 1800년대까지 표준 이탈 장치로 사용되었다. 오늘날 거의 모든 진자 시계에 사용된다.
탑 시계에는 휠 트레인의 가변적인 힘으로부터 이탈 장치를 분리하기 위해 중력 이탈 장치가 사용되었다. 19세기 말, 가장 정확한 시계인 ''천문대 규제 시계''에는 특수 이탈 장치가 사용되었으며, 해군 천문대와 과학 연구에 사용되었다. 클레멘스-리플러 규제 시계에 사용된 리플러 이탈 장치는 하루에 10ms의 정확도를 보였다.
1923년 W.H. 쇼트와 프랭크 호프-존스가 개발한 가장 정확한 진자 시계는 쇼트-싱크로놈 시계로, 2개의 진자를 사용했으며 연간 1초 미만의 정확도를 보였다.
8. 3. 특수 이탈 장치
19세기 말, 가장 정확한 시계인 ''천문대 규제 시계''는 해군 천문대와 과학 연구에 사용되었다. 클레멘스-리플러 규제 시계에 사용된 리플러 이탈 장치는 하루에 10밀리초의 정확도를 보였다. 기계적 연결 없이 진자에 충격을 주기 위해 스위치 또는 광전관을 사용하여 솔레노이드 전자기석을 켜는 전자 이탈 장치가 개발되었다.
가장 정확한 진자 시계는 1923년 W.H. 쇼트와 프랭크 호프-존스가 개발한 복잡한 전기 기계식 시계인 쇼트-싱크로놈 시계로, 2개의 진자를 사용했으며 연간 1초 미만의 정확도를 보였다. 별도의 시계에 있는 슬레이브 진자는 전기 회로와 전자기석으로 진공 탱크에 있는 마스터 진자와 연결되었다. 슬레이브 진자는 시간 측정 기능을 수행하여 마스터 진자가 외부 영향에 의해 거의 방해받지 않고 흔들리도록 했다. 1920년대에 쇼트-싱크로놈은 석영 시계가 정밀 시간 표준으로 진자 시계를 대체하기 전까지 천문대에서 시간 측정을 위한 최고의 표준이 되었다.
9. 시간 표시
진자시계의 시간 표시 시스템은 거의 항상 움직이는 시침과 분침이 있는 전통적인 문자판을 사용한다. 많은 진자시계는 작은 보조 문자판에 초를 표시하는 세 번째 바늘(초침)을 가지고 있다. 진자시계는 보통 유리로 된 전면 덮개를 열고 분침을 문자판 주위로 수동으로 돌려 올바른 시간을 설정하도록 설계되었다. 분침은 회전축에서 돌릴 수 있도록 미끄럼 마찰 슬리브에 장착되어 있다. 시침은 휠 트레인에서 직접 구동되는 것이 아니라, 작은 기어 세트를 통해 분침의 샤프트에서 구동된다. 따라서 분침을 수동으로 회전시키면 시침도 함께 설정된다.
10. 유지 보수
진자시계는 수명이 길고 유지 보수가 많이 필요하지 않아서 인기가 많다.
모든 기계 장치와 마찬가지로 정기적인 청소와 윤활이 필요하다. 시계용으로 특정 저점도 윤활제가 개발되었으며, 가장 널리 사용되는 것 중 하나는 폴리알카노에이트 합성 오일이다.
용수철과 핀은 마모되어 파손될 수 있으며 교체가 필요하다.
11. 스타일

추 시계는 단순한 시계가 아니라 소유자의 부와 문화를 나타내는 지위의 상징이었다. 각 나라와 시대, 용도에 따라 다양한 스타일로 발전했으며, 케이스는 당시 유행하던 가구 스타일을 반영한다. 전문가들은 케이스와 문자반의 미묘한 차이로 골동품 시계의 제작 시기를 짐작할 수 있다.
11. 1. 주요 스타일
추 시계는 단순한 시계를 넘어 소유자의 부와 문화를 나타내는 지위의 상징이었다. 각 나라와 시대, 용도에 따라 다양한 스타일로 발전했으며, 케이스는 당시 유행하던 가구 스타일을 반영한다. 전문가들은 케이스와 문자반의 미묘한 차이로 골동품 시계의 제작 시기를 정확히 파악할 수 있다. 추 시계의 주요 스타일은 다음과 같다.- 의회법 시계
- 애니버서리 시계(비틀림 진자 사용)
- 밴조 시계
- 브래킷 시계
- 카르텔 시계
- 콩투아즈 또는 모르비에 시계
- 크리스탈 레귤레이터
- 뻐꾸기 시계
- 할아버지 시계
- 랜턴 시계
- 벽난로 시계
- 마스터 시계
- 오지 시계
- 필러 시계
- 학교 시계
- 비틀림 진자 시계
- 탑 시계
- 비엔나 레귤레이터
- 잔담 시계
탁상시계나 홀 클락, 시계탑의 대형 시계 등 전기식 이전의 동력 방식을 사용하며, 템프 등의 다른 조속기를 사용하기 어려운 시계에 널리 채용되었다. 그 무게 때문에 벽시계로 사용할 때는 약한 벽을 피하고 기둥에 걸었기 때문에 "기둥시계"라는 말이 있었다. (이는 개인 주택 등에 가장 널리 보급된 유형의 진자시계를 가리키는 대명사라고 할 수 있다.)
동요 『큰 시계』의 모델 시계도 이 형식이며, 동화 『늑대와 일곱 마리 아기 염소』에서도 한 마리가 시계의 진자실에 숨는 등, 지금도 시계의 전통적인 형태로 인식되고 있다.
참조
[1]
서적
Time and Timekeepers
MacMillan
[2]
간행물
The Evolution of the Quartz Crystal Clock
http://www.ieee-uffc[...]
[3]
서적
Encyclopedia of Time
https://archive.org/[...]
Garland Publishing
1994
[4]
서적
Clocks and Watches: The leap to precision
https://books.google[...]
Taylor & Francis
[5]
웹사이트
Huygens' Clocks
http://www.sciencemu[...]
Science Museum, London, UK
2007-11-14
[6]
웹사이트
Pendulum Clock
http://galileo.rice.[...]
Rice Univ.
2007-12-03
[7]
웹사이트
Pendulum clock designed by Galileo, Item #1883-29
http://www.sciencemu[...]
Science Museum, London, UK
2007-11-14
[8]
웹사이트
Huygens' Clocks
http://www.physics.g[...]
Georgia Institute of Technology
2007-12-04
[9]
간행물
Origin and Evolution of the Anchor Clock Escapement
http://www.geocities[...]
Inst. of Electrical and Electronic Engineers
2007-06-06
[10]
문서
[11]
문서
[12]
문서
[13]
문서
[14]
웹사이트
A Revolution in Timekeeping
http://physics.nist.[...]
Time and Frequency Services, NIST
2002-04-30
[15]
간행물
Time and frequency measurement at NIST: The first 100 years
http://tf.nist.gov/t[...]
National Institute of Standards and Technology
[16]
서적
Splitting the Second: The Story of Atomic Time
https://books.google[...]
CRC Press
[17]
서적
Time and Timekeepers
MacMillan
[18]
간행물
The Evolution of the Quartz Crystal Clock
http://www.ieee-uffc[...]
[19]
웹사이트
The Reifler and Shortt clocks
http://www.clockvaul[...]
JagAir Institute of Time and Technology
2009-12-29
[20]
웹사이트
Expert's Statement, Case 6 (2008-09) William Hamilton Shortt regulator
http://www.mla.gov.u[...]
UK Museums, Libraries, and Archives Council
2008-05-22
[21]
서적
The Measurement of Time: Time, Frequency, and the Atomic Clock
https://books.google[...]
Cambridge Univ. Press
[22]
뉴스
Scientist's historic clock collection for sale
https://www.theguard[...]
Scott Trust Ltd.
2003-05-07
[23]
간행물
Some thoughts on the Littlemore clock
http://www.cleyet.or[...]
National Assoc. of Watch and Clock Collectors
2005-11
[24]
웹사이트
The Littlemore Clock
http://www.hsn161.co[...]
Nat'l Assoc. of Watch and Clock Collectors
1996-06
[25]
웹사이트
Genève [Geneva]
http://www.patrimoin[...]
Patrimoine-Horloge
2024-02-11
[26]
간행물
Rusza konkurs na nową nazwę dla rekordowego zegara z Muzeum Nauki Gdańskiej [A competition for a new name for the record clock from the Gdańsk Science Museum is starting]
https://media.muzeum[...]
Gdańsk Museum
2023-06-29
[27]
문서
[28]
웹사이트
The Gravity Pendulum and its Horological Quirks
http://www.timezone.[...]
Timezone.com website
2011-04-01
[29]
간행물
The Yin and Yang of Nature
http://web.mit.edu/b[...]
MacMillan
2009-01-15
[30]
뉴스
250年前の設計で作った振り子時計、正確さでギネス世界記録に認定
https://nlab.itmedia[...]
2015-05-03
[31]
웹사이트
ショートの自由振り子時計
https://museum.seiko[...]
[32]
웹사이트
ビッグベンの塔時計
https://museum.seiko[...]
[33]
서적
Time and Timekeepers
MacMillan
[34]
간행물
The Evolution of the Quartz Crystal Clock
http://www.ieee-uffc[...]
본 사이트는 AI가 위키백과와 뉴스 기사,정부 간행물,학술 논문등을 바탕으로 정보를 가공하여 제공하는 백과사전형 서비스입니다.
모든 문서는 AI에 의해 자동 생성되며, CC BY-SA 4.0 라이선스에 따라 이용할 수 있습니다.
하지만, 위키백과나 뉴스 기사 자체에 오류, 부정확한 정보, 또는 가짜 뉴스가 포함될 수 있으며, AI는 이러한 내용을 완벽하게 걸러내지 못할 수 있습니다.
따라서 제공되는 정보에 일부 오류나 편향이 있을 수 있으므로, 중요한 정보는 반드시 다른 출처를 통해 교차 검증하시기 바랍니다.
문의하기 : help@durumis.com