비디오 카메라 튜브
"오늘의AI위키"의 AI를 통해 더욱 풍부하고 폭넓은 지식 경험을 누리세요.
1. 개요
비디오 카메라 튜브는 빛을 전기 신호로 변환하여 영상을 포착하는 진공관 기술이다. 1908년 앨런 아치볼드 캠벨-스윈턴의 연구를 시작으로, 이미지 디섹터, 아이코노스코프, 이미지 오시콘, 비디콘, 플럼비콘, 사티콘 등 다양한 종류가 개발되었다. 이러한 튜브들은 광전 효과, 전하 축적, 전자 빔 주사, 자기 초점 등의 원리를 이용하며, 1980년대 이후 고체촬상소자의 등장으로 점차 쇠퇴하여, 현재는 특수한 환경에서 제한적으로 사용된다.
더 읽어볼만한 페이지
- 진공관 - 일함수
일함수는 고체 표면에서 전자를 진공으로 떼어내는 데 필요한 최소 에너지로, 물질의 종류, 표면 상태 등에 따라 달라지며, 열전자 방출, 광전자 방출 등 다양한 분야에서 중요한 역할을 한다. - 진공관 - 광전관
광전관은 광전 효과를 활용하여 빛을 전기 신호로 변환하는 광센서로, 빛이 광음극에 닿으면 방출된 전자가 양극으로 이동하며 전류를 발생시키고, 이 전류 세기는 입사광의 세기와 주파수에 비례한다. - 텔레비전의 역사 - 방송법
방송법은 방송의 공익성 확보와 시장 경쟁 촉진의 균형을 맞추기 위한 각국의 법률 및 규정으로, 주파수 할당, 콘텐츠 심의, 공정성 확보, 공영방송 운영 등 다양한 내용을 포함하며, 디지털 전환과 새로운 플랫폼의 등장으로 인한 새로운 과제에 직면하여 각국은 방송법 개정을 통해 변화하는 미디어 환경에 적응하고 있다. - 텔레비전의 역사 - 아날로그 텔레비전
아날로그 텔레비전은 전자기파를 사용하여 영상과 음성 신호를 보내고 받는 텔레비전 시스템으로, 브라운관 개발을 거쳐 다양한 방송 시스템으로 발전했지만 디지털 방송의 등장으로 대부분 국가에서 방송이 종료되었다. - 텔레비전 기술 - 크롬캐스트
구글이 개발한 크롬캐스트는 동글형 디지털 미디어 플레이어 제품군으로, 모바일 기기나 PC의 스트리밍 콘텐츠를 TV나 오디오 시스템에서 재생할 수 있게 하며, 구글 캐스트 기술 지원 앱이나 크롬 브라우저 미러링으로 제어 가능하고, 다양한 모델 출시와 저렴한 가격, 편리한 사용성으로 스트리밍 미디어 대중화에 기여했다. - 텔레비전 기술 - 아날로그 텔레비전
아날로그 텔레비전은 전자기파를 사용하여 영상과 음성 신호를 보내고 받는 텔레비전 시스템으로, 브라운관 개발을 거쳐 다양한 방송 시스템으로 발전했지만 디지털 방송의 등장으로 대부분 국가에서 방송이 종료되었다.
2. 역사
집속된 전자빔(원래는 음극선이라고 불림)을 사용하여 작동하는 진공관은 음극선관(CRT)이라고 한다. CRT는 일반적으로 텔레비전 수신기나 컴퓨터 디스플레이에 사용되는 디스플레이 장치로 알려져 있지만, 비디오 카메라 튜브 역시 CRT의 일종으로 이미지를 포착하는 데 사용된다.[2]
초기 전자식 텔레비전 시스템의 개발과 함께 다양한 종류의 비디오 카메라 튜브가 발명되었다. 1927년 필로 판스워스가 발명한 이미지 디섹터는 최초의 촬상관이었으나 감도가 낮아 실용화에는 한계가 있었다. 이후 블라디미르 즈보리킨이 개발한 아이코노스코프는 전하 저장 원리를 이용하여 감도를 크게 향상시켰고, 초기 텔레비전 방송에 중요한 역할을 했다.[168][169]
아이코노스코프의 단점을 개선한 이미지 오시콘은 더 높은 감도를 제공하며 1960년대까지 널리 사용되었다.[170] 1950년대에는 비디콘이 개발되어 구조가 간단하고 크기가 작아 다양한 분야에 활용되었다. 비디콘을 기반으로 플럼비콘, 사티콘, 뉴비콘 등 특정 용도에 맞게 성능을 개선한 여러 튜브들이 등장했다. 또한 야간 촬영을 위한 이미지 인텐시파이어(I.I.)나[171] 초고감도 촬영을 위한 하프(HARP) 튜브 등 특수 목적의 촬상관도 개발되었다.[173][174] 이러한 튜브들은 이후 전하결합소자(CCD)나 CMOS 센서와 같은 고체 이미지 센서로 점차 대체되었다.
2. 1. 초기 연구
1908년 6월, 과학 저널 ''네이처''는 영국의 왕립 학회 회원이던 앨런 아치볼드 캠벨-스윈턴이 음극선관(CRT, 발명가 카를 브라운의 이름을 따 "브라운 튜브"라고도 불림)을 영상 장치와 디스플레이 장치로 사용하여 완전한 전자식 텔레비전 시스템을 구현하는 방법에 대해 논의한 서한을 게재했다.[3] 그는 "실질적인 어려움은 효율적인 송신기를 고안하는 데 있다"고 지적하며, "현재 알려진 어떠한 광전 현상도 필요한 것을 제공하지 못할 수도 있다"고 덧붙였다.[3] 음극선관은 이미 1906년 독일의 막스 디크만 교수에 의해 디스플레이 장치로 성공적으로 시연되었고, 그 결과는 1909년 ''사이언티픽 아메리칸'' 저널에 게재되었다.[4]캠벨-스윈턴은 1911년 11월 뢴트겐 학회 회장 연설에서 자신의 구상을 더욱 발전시켰다. 그가 제안한 전송 장치의 광전 스크린은 격리된 루비듐 큐브의 모자이크 형태였다.[5][6] 그의 완전 전자식 텔레비전 시스템 개념은 이후 휴고 건즈백과 H. 윈필드 세코가 1915년 8월 대중 과학 잡지 ''Electrical Experimenter''에, 그리고 마커스 J. 마틴이 1921년 저서 ''The Electrical Transmission of Photographs''에서 ''"캠벨-스윈턴 전자 스캐닝 시스템"''으로 소개하며 대중에게 알려졌다.[7][8][9][10]
1926년 10월 ''네이처''에 보낸 또 다른 서한에서 캠벨-스윈턴은 G. M. 민친 및 J. C. M. 스탠턴과 함께 수행했던 "성공적이지 못한 몇 가지 실험"의 결과를 발표했다. 그들은 음극선 빔으로 동시에 스캔되는 셀레늄 코팅 금속판에 이미지를 투사하여 전기 신호를 생성하고자 했다.[11][12] 이 실험들은 민친이 사망한 1914년 3월 이전에 수행되었으나,[13] 이후 1937년 EMI의 H. 밀러와 J. W. 스트레인지, 그리고 RCA의 H. Iams와 A. 로즈 등 두 연구팀에 의해 재현되었다.[14][15] 두 팀 모두 캠벨-스윈턴의 셀레늄 코팅 판을 사용하여 "매우 희미한" 이미지를 전송하는 데 성공했으며, 금속판을 황화 아연이나 셀레나이드,[14] 또는 세슘으로 처리한 알루미늄이나 지르코늄 산화물로 덮었을 때 훨씬 더 나은 이미지를 얻을 수 있음을 발견했다.[15] 이러한 실험들은 훗날 비디콘 개발의 기초가 되었다.
한편, CRT를 영상 장치로 사용하는 아이디어는 1921년 8월 프랑스에서 에드바르트-구스타프 슐츠가 출원하고 1922년에 공개된 특허 출원에도 나타났으나,[16] 실제로 작동하는 장치가 시연된 것은 몇 년 후의 일이었다.[15]
2. 2. 이미지 디섹터 (Image Dissector)

이미지 디섹터는 광음극에서 방출된 전자로 만들어진 장면의 "전자 이미지"를 스캐닝 조리개를 통해 통과시켜 전자 검출기 역할을 하는 양극으로 전달하는 방식의 카메라 튜브이다.[17][1]
이러한 장치를 처음 설계한 인물로는 독일의 발명가 막스 디크만과 루돌프 헬이 있다.[12][18] 그들은 1925년 특허 출원서에 Lichtelektrische Bildzerlegerröhre für Fernseher|리히텔렉트리셰 빌트체를레거뢰레 퓌어 페른제어de (텔레비전용 광전 이미지 분해 튜브)라는 이름을 붙였다.[19] 이 용어는 전자 이미지를 초점 상태로 유지하기 위해 자기장을 사용하는 디섹터 튜브에 특히 적용될 수 있는데,[1] 이는 디크만과 헬의 초기 설계나 미국의 발명가 필로 판스워스가 만든 초기 디섹터 튜브에는 없던 기능이다.[12][20]
디크만과 헬은 1925년 4월 독일 특허청에 출원하여 1927년 10월 특허를 받았다.[19] 그들의 이미지 디섹터 실험 결과는 1927년 9월 대중 과학 잡지 ''Discovery''[21][22] 와 1928년 5월 잡지 ''Popular Radio''에 발표되었다.[23] 하지만 그들은 이 튜브를 이용해 선명하고 초점이 잘 맞는 이미지를 전송하는 데는 성공하지 못했다.
1927년 1월, 미국의 발명가이자 텔레비전 선구자인 필로 T. 판스워스는 "빛의 변환 및 분해" 장치를 포함하는 자신의 ''텔레비전 시스템''에 대한 특허를 출원했다.[20] 그의 첫 번째 동영상 전송은 1927년 9월 7일에 성공적으로 이루어졌으며,[24] 1930년에 특허를 취득했다.[20] 판스워스는 니켈로 만든 전자 증배기를 도입하고,[25][26] "세로 자기장"을 사용하여 전자 이미지의 초점을 선명하게 맞추는 등[27] 장치를 빠르게 개선했다. 개선된 장치는 1928년 9월 초 언론에 시연되었다.[12][28][29] 1933년 10월 멀티팩터(Multipactor) 도입[30][31]과 1937년 다이노드 전자 증배관 도입은[32][33] 판스워스의 이미지 디섹터를 텔레비전용 완전 전자식 영상 장치의 첫 실용 버전으로 만들었다.[34]
그러나 이미지 디섹터는 빛 감도가 매우 낮아서, 조명이 매우 밝은 환경(일반적으로 685 cd/m2 이상)에서만 주로 사용할 수 있었다.[35][36][37] 이러한 특성 때문에 산업용 용광로의 밝은 내부를 모니터링하는 등 특정 산업 용도로는 이상적이었다.[37] 하지만 낮은 감도로 인해 텔레비전 방송에서는 필름이나 기타 투명 필름을 스캔하는 경우를 제외하고는 거의 사용되지 않았다.
1933년 4월, 판스워스는 ''이미지 디섹터''라는 제목으로 특허를 출원했지만, 실제 내용은 음극선관(CRT) 방식 카메라 튜브에 관한 것이었다.[38] 이 특허는 "저속" 스캐닝 빔 사용을 제안한 최초의 특허 중 하나였으며, RCA는 나중에 이미지 오소콘 튜브를 판매하기 위해 이 특허를 구매해야 했다.[39] 그러나 판스워스는 이 CRT 방식 튜브로도 선명하고 초점이 잘 맞는 이미지를 전송하지는 못했다.[40][41]
이미지 디섹터는 1930년대에 아이코노스코프와 같이 전하 저장 원리를 이용하는 훨씬 더 민감한 다른 튜브들이 개발되면서 텔레비전 시스템 연구 분야에서 잠시 사용된 후 빠르게 대체되었다. 텔레비전 방송 분야에서는 거의 완전히 사용되지 않게 되었지만, 이미지 디섹터 기술 기반의 카메라 튜브는 초기 기상 위성이나 달 착륙선에서의 이미징, 그리고 우주 왕복선과 국제 우주 정거장에서 별의 위치를 추적하는 데 계속 사용되었다.
2. 3. 아이코노스코프 (Iconoscope)


아이코노스코프(Iconoscope)는 초기 전자식 텔레비전 시스템에서 사용된 중요한 비디오 카메라 튜브 중 하나로, 특히 전하 저장 원리를 실용화하여 텔레비전 방송의 발전에 기여했다. 이 기술은 기존의 이미지 분해기와 같은 초기 튜브들이 가진 낮은 감도의 한계를 극복하는 데 중요한 역할을 했다.
전하 저장의 개념은 헝가리 엔지니어 칼만 티하니에 의해 처음 제안되었다. 그는 1926년 '라디오스코프(Radioskop)'라는 이름으로 특허를 출원하면서, 스캔하는 동안 빛 에너지를 전기 전하로 축적하여 감도를 높이는 방식을 제시했다.[46][47] 이 원리는 이후 개발된 여러 카메라 튜브의 기초가 되었다.
러시아 제국 출신의 미국 엔지니어 블라디미르 즈보리킨은 웨스팅하우스에서 근무하던 1925년에 전하 저장 판을 이용한 텔레비전 시스템 특허를 출원했다.[51] 이 초기 설계는 절연체 위에 미세한 광전 물질(수소화 칼륨) 입자를 배열한 형태였으며, 1925년 말에 첫 이미지 전송에 성공했다.[12] 그러나 당시에는 큰 주목을 받지 못했다.[12] 이후 RCA로 옮긴 즈보리킨은 1931년, 동료 샌포드 에식의 우연한 발견(과열된 은 도금 운모 시트에서 미세 은 입자 형성)을 계기로[54] 실용적인 아이코노스코프를 개발하는 데 성공했고, 같은 해 11월에 특허를 출원하여 1935년에 등록받았다.[45]
아이코노스코프의 핵심은 전하 저장 판이다. 이 판은 절연된 표면 위에 수많은 미세한 감광성 입자(모자이크)가 배열된 구조이다. 각 입자는 빛을 받으면 그 강도에 비례하여 전기 전하를 축적하는 작은 커패시터처럼 작동한다. 전자빔이 이 판 위를 주기적으로 주사(스캔)하면, 각 입자에 저장된 전하가 방전되면서 영상 신호, 즉 전기적 신호로 변환된다.[44][45]
아이코노스코프는 1933년 6월에 대중에게 공개되었으며[57], 이전 기술에 비해 훨씬 높은 감도(40~215 럭스)를 가졌다. 또한 비교적 제조가 쉽고 선명한 이미지를 제공하여,[61][62] 1936년부터 1946년까지 RCA의 주요 방송용 카메라 튜브로 사용되며 초기 텔레비전 방송 시대를 열었다.[61][62]
한편, 영국의 EMI에서도 아이작 쇼엔버그가 이끄는 팀(테드햄, 맥기 등)이 유사한 원리의 '이미트론(Emitron)'을 개발하여 1932년에 특허를 출원하고[55] 1936년 BBC 방송에 사용했다.[56] 아이코노스코프는 잡음이 많고 실제 효율이 이론보다 낮다는 단점(약 5%)이 지적되었는데[65], 이는 스캔 과정에서 발생하는 2차 전자가 저장된 전하를 일부 상쇄시키기 때문이었다. 이러한 문제를 개선하기 위해 EMI는 '수퍼 에미트론(Super-Emitron)'을[66], 독일의 텔레푼켄과 RCA는 '이미지 아이코노스코프(Image Iconoscope 또는 Superikonoskop)'를 개발했다.[70] 특히 이미지 아이코노스코프는 유럽에서 1960년대까지 널리 사용되는 표준 기술이 되었다.[71][72] 아이코노스코프와 그 파생 기술들은 이후 이미지 오르시콘이나 비디콘과 같은 더 발전된 튜브 기술로 대체되었다.
2. 4. 이미지 오시콘 (Image Orthicon)

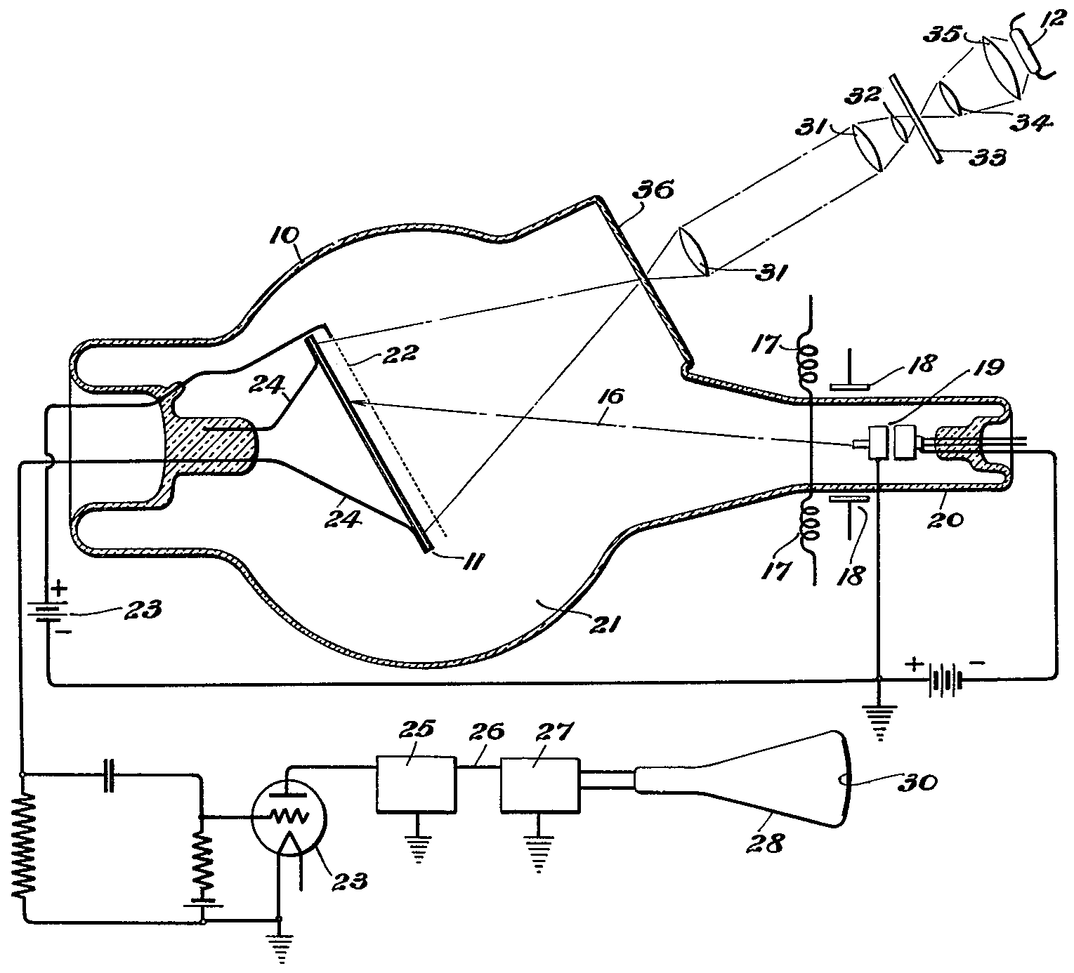
이미지 오시콘(Image orthicon, IO)은 RCA의 앨버트 로즈, 폴 K. 와이머, 해럴드 B. 로가 개발한 비디오 카메라 튜브이다.[62] 이 튜브는 이미지 디섹터와 오시콘(Orthicon) 기술을 결합한 것으로, 많은 양의 빛이 필요했던 기존의 아이코노스코프를 대체하기 위해 만들어졌다.[92] RCA는 1939년에서 1940년 사이에 초기 모델을 제작했으며, 이는 텔레비전 기술의 중요한 진전을 의미했다.[62] 이후 제2차 세계 대전 중 국립방위연구위원회(NDRC)의 지원을 받아 개발이 계속되었고, 1943년에는 더욱 민감한 이미지 오시콘 튜브가 개발되어 미국 해군과 생산 계약을 맺었다. 첫 튜브는 1944년 1월에 인도되었다.[93] RCA는 1946년 2분기부터 민간용 이미지 오시콘 생산을 시작했다.[62][94]
이미지 오시콘의 왼쪽 끝 유리면(페이스 플레이트) 안쪽에는 광전면이 있다. 빛이 광전면에 닿으면 광전자가 방출되고, 이 광전자는 타깃 메시(target mesh)라는 미세한 구멍이 뚫린 전극을 통과하여 얇은 유리판인 타깃 글라스(target glass)에 충돌한다. 이 충돌 과정에서 유리면에서는 더 많은 양의 2차 전자가 방출되어 타깃 메시에 흡수되고, 이를 통해 신호가 증폭된다. 그 결과, 유리면에는 영상의 밝기에 따라 양(+)전하가 축적되는데, 이를 전하상(電荷像)이라고 부른다. 이후 전자총에서 전자빔을 방사하여 유리면을 주사(scan)하는데, 유리면에 양전하가 있는 부분은 전자빔의 일부를 흡수하여 중화시키므로 되돌아가는 전자빔의 양이 줄어든다. 되돌아오는 전자빔의 세기 변화를 통해 영상 각 점의 밝기가 전기 신호로 변환되는 원리이다. 전자총 주변의 다이노드(dynode)라는 전자 증배관은 되돌아온 전자빔을 더욱 증폭하여 최종적으로 큰 신호 출력을 얻게 한다.
이미지 오시콘은 감도가 매우 뛰어나 달빛 아래에서도 영상을 촬영할 수 있을 정도였다.[96] 이는 튜브 기저부에 위치한 고효율 전자 증배관 덕분이었다. 또한 인간의 눈과 유사하게 대수적인 빛 감도 곡선을 가지고 있었다. 그러나 밝은 빛 아래에서는 물체 주변에 어두운 후광이 생기는 블루밍(blooming) 현상이 발생하는 단점이 있었다.[96]
이미지 오시콘은 1946년부터 1968년까지 미국 방송계에서 가장 널리 사용된 카메라 튜브였다.[62] 특히 RCA TK-40/41 같은 초기 컬러 텔레비전 카메라에서 중요한 역할을 했는데, 이는 당시 컬러 분리 광학계의 낮은 효율성을 이미지 오시콘의 높은 감도로 보완할 수 있었기 때문이다.[96][97] 방송사에서 점차 사용을 줄인 이후에도 NASA는 아폴로/새턴 로켓의 궤도 진입 장면 촬영 등에 이 튜브를 계속 사용했다.[95]
이미지 오시콘은 한때 현장에서 '이미(Immy)'라는 애칭으로 불렸다. 당시 텔레비전 예술 과학 아카데미 회장이었던 해리 럽크(Harry Lubcke)가 이 애칭을 따서 텔레비전 시상식 상의 이름을 지었는데, 상의 조각상이 여성 형상이었기 때문에 여성형인 '에미상'이 되었다.[98] 이미지 오시콘은 1960년대 흑백 텔레비전 제작이 종료될 때까지 사용되었다.[99] 이후 비디콘이나 플럼비콘과 같은 새로운 기술로 대체되었다.
2. 5. 비디콘 (Vidicon)
Vidiconeng은 이미지 오르시콘과 달리 광전도 현상을 이용하는 비디오 카메라 튜브의 한 종류이다.[99][105][106][107] 1950년 RCA에서 P. K. 와이머(Weimer), S. V. 포규(Forgue), R. R. 굿리치(Goodrich)가 구조가 복잡했던 이미지 오르시콘의 간단한 대안으로 개발했다.[99][105][106][107]
비디콘은 빛 에너지를 전기 신호로 변환하는 저장형 카메라 튜브이다. 튜브 앞면의 유리판(페이스 플레이트) 안쪽에는 투명한 전도성 막(인듐 주석 산화물, ITO 또는 초기 모델의 경우 산화주석(SnO2)의 네사막)이 있고, 그 위에 광전도체 물질을 얇게 증착하여 빛에 반응하는 표적(target)을 만든다.[101][110] 초기 비디콘에는 주로 삼황화안티몬(Sb2S3)이 광전도체로 사용되었으나,[108] 이후 실리콘 다이오드 어레이[108][109], 산화 납(PbO)[75][76], 삼글리신 설페이트(TGS)[112] 등 다양한 물질이 사용되었다.
빛이 투명 전극을 통과하여 표적의 광전도체 층에 닿으면, 빛의 양에 따라 해당 부분의 전기 저항이 낮아진다. 이로 인해 표면에는 빛의 밝기 분포에 해당하는 양(+)의 전하 패턴(전하상)이 형성되고, 이는 표적과 투명 전극 사이의 미세한 정전용량에 의해 잠시 저장된다. 튜브 뒤쪽의 전자총에서 방출된 저속 전자 빔이 자기 코일에 의해 초점이 맞춰지고 편향되어 표면을 규칙적으로 주사(스캔)한다.[101] 전자빔이 표면의 양전하가 쌓인 부분에 도달하면, 그 전하를 중화시키기 위해 전자가 흡수된다. 빛이 강하게 닿아 양전하가 많이 쌓인 부분일수록 더 많은 전자가 흡수된다. 이 과정에서 투명 전극(신호 전극)을 통해 흐르는 전류의 양이 변화하는데, 이것이 영상 신호 전류가 되어 외부 증폭기로 출력된다.[101]

비디콘은 구조가 비교적 간단하고 크기가 작다는 장점이 있다. 표준적인 튜브 직경은 25mm 정도이며, 더 작은 크기도 제작되었다. 이러한 특징 덕분에 휴대용 카메라, 필름 영상 촬영용 카메라, 스튜디오 보조 카메라뿐만 아니라 인공위성이나 우주 로켓의 카메라 등 다양한 분야에서 널리 사용되었다. 특히 NASA는 1970년대 후반 갈릴레오 탐사선 설계 이전까지 대부분의 무인 심우주 원격 감지 탐사선에 비디콘 카메라를 탑재했으며,[114] 1972년부터 발사된 초기 랜드샛 위성에도 리턴 빔 비디콘(RBV) 시스템의 일부로 사용되었다.[115][116][117] 자외선 감지를 위한 특수 비디콘(Uvicon)도 NASA에서 활용되었다.[118]
광전도체 물질에 따라 다양한 종류의 비디콘이 개발되었다.
- 프란비콘 (Plumbicon): 산화 납(PbO)을 광전도체로 사용한 것으로, 필립스에서 개발했다. 잔상(image lag)이 적고 감도가 높아 컬러 텔레비전 방송용 카메라에 주로 사용되었다.[75][76]
- Si-비디콘 / 울트리콘 (Ultricon): 실리콘 다이오드 어레이를 표적으로 사용하여 감도를 높인 비디콘이다.[108][109]
- TGS 비디콘: 삼글리신 설페이트(TGS)와 같은 초전 효과 물질을 사용하여 적외선 영역의 빛을 감지할 수 있게 만든 비디콘이다.[112] 이는 현대의 마이크로볼로미터 기술의 선구자 격으로, 주로 소방용 열화상 카메라 등에 사용되었다.[113]
하지만 비디콘은 몇 가지 단점을 가지고 있었다. 대표적인 것이 이미지 지연(image lag) 현상으로, 밝은 물체가 화면에서 이동한 후에도 잔상이 남는 '고스팅(ghosting)', '번짐(smear)', '혜성 꼬리(comet tail)' 등의 형태로 나타난다.[119] 이는 표적 물질의 정전용량(저장 효과)과 전자빔의 저항 특성 때문에 발생하는 불가피한 현상이었다.[120] 또한, 매우 밝은 빛에 장시간 노출되면 표적이 손상되어 영구적인 자국(번인, burn-in)이 남거나[121] 직사광선에 노출 시 어두운 반점이 생길 수 있었다.[122][123]
비디콘 튜브는 1970년대와 1980년대에 널리 사용되었으나, 이후 고체 이미지 센서 기술이 발전하면서 전하결합소자(CCD)와 CMOS 센서로 점차 대체되었다.
2. 6. 플럼비콘 (Plumbicon)

플럼비콘(Plumbicon)은 1963년부터 필립스(Philips)가 자사의 산화 납(II)(PbO) 타겟 비디콘에 사용한 등록 상표이다.[127] 1965년 NAB 쇼에서 처음 시연되었다.[128][129] 방송용 카메라에 널리 사용되었으며, 출력은 낮지만 높은 신호 대 잡음비(S/N비)를 가지고 있었다. 이미저 오쏘콘(Image Orthicon)에 비해 해상도가 뛰어났지만, 이미저 오쏘콘 특유의 인위적으로 날카로운 가장자리 효과가 없어 상대적으로 부드러운 이미지를 제공했다. 이에 CBS 연구소는 플럼비콘 이미지의 가장자리를 선명하게 만드는 최초의 외부 가장자리 향상 회로를 개발했다.[130][131][132] 필립스는 플럼비콘 개발 공로로 1966년 기술 및 공학 에미상을 수상했다.[133]
플럼비콘의 타겟은 순수한 PbO 층과 도핑된 PbO 층의 두 층으로 구성된다. 순수한 PbO는 본질적인 I형 반도체이며, 이 층을 도핑하여 P형 PbO 반도체를 만들어 반도체 접합을 형성한다.[134] PbO는 결정 형태로 존재한다.[135]
플럼비콘은 비디콘의 첫 상업적 성공 버전으로 평가받는다. 기존 비디콘보다 크기가 작고 잡음이 적으며, 감도와 해상도가 높고 이미지 지연 현상도 적었다.[107] 이는 컬러 텔레비전 카메라 개발에 결정적인 요소로 작용했다.[99] 사티콘(Saticon)과 함께 텔레비전 제작에 가장 널리 사용된 카메라 튜브 중 하나였다.[108] 한국에서는 1970년대와 1980년대 컬러 텔레비전 방송 시대에 주력 촬상관으로 사용되었다.
사티콘과 비교했을 때, 플럼비콘은 번인(burn-in) 현상에 대한 저항력이 훨씬 높았고, 촬영 중 밝은 빛으로 인해 발생하는 혜성 효과나 잔상 아티팩트가 적었다. 반면 사티콘은 일반적으로 해상도가 약간 더 높다는 장점이 있었다. 그러나 1980년 이후 다이오드 건(diode gun) 플럼비콘 튜브가 도입되면서 두 유형 모두 해상도가 방송 표준의 최대 한계치에 비해 매우 높아져 사티콘의 해상도 우위는 큰 의미를 갖지 못하게 되었다. 방송 카메라가 고체 상태의 전하결합소자(CCD)로 전환된 이후에도 플럼비콘 튜브는 의료 영상 분야에서 오랫동안 주요 장치로 사용되었다.[130][131][132] 고해상도 플럼비콘은 HD-MAC 표준을 위해 제작되기도 했다.[136] PbO는 공기 중에서 안정적이지 않아 타겟에 증착하는 과정이 까다로운 기술적 과제였다.[137] RCA가 개발한 비스타콘(Vistacon)[138]과 EEV(English Electric Valve)가 제작한 레디콘(Leddicon)[139] 역시 타겟에 PbO를 사용한 유사 기술이다.[99]
2016년까지 미국 로드아일랜드에 위치한 필립스 공장을 인수한 내러갠셋 이미징(Narragansett Imaging)이 플럼비콘을 생산하는 마지막 회사였다. 필립스는 과거 EEV의 산화 납 카메라 튜브 사업을 인수하여 해당 분야에서 독점적인 지위를 확보하기도 했다.[130][131][132] 일본의 마쓰시타(Matsushita) 역시 산화 납 튜브를 생산한 바 있다.[140][141]
2. 7. 사티콘 (Saticon)
사티콘(Saticon)은 히타치(Hitachi, Ltd.)가 1973년에 등록한 상표로,[142][143] NHK 방송 기술 연구소(NHK)와 공동으로 개발한 비디오 카메라 튜브이다. 히타치 외에도 톰슨(Thomson SA)과 소니(Sony)에서도 생산되었다.사티콘의 광전도 표면은 셀레늄(Se)에 소량의 비소(As)와 텔루륨(Te)을 첨가하여(SeAsTe) 신호 안정성을 높인 것이 특징이다. '사티콘(Saticon)'이라는 이름의 'SAT'는 이 세 원소(SeAsTe)의 앞 글자를 딴 것이다.[144] 평균적인 광 감도는 필름 속도 기준 ASA 64 정도이다.[145] 플럼비콘과 비교하면 작동 가능한 온도 범위가 좁고, 이미지 잔상(image lag)이 더 많이 남는 경향이 있다.[108] 사티콘 타겟의 구조는 빛이 들어오는 쪽부터 투명한 주석 산화물(tin oxide) 전도층, SeAsTe 층, SeAs 층, 그리고 전자빔을 맞는 쪽에 삼황화 안티몬(antimony trisulfide) 층으로 이루어져 있다.[142]
이후 사티콘의 광 감도를 향상시키기 위해 비정질 셀레늄(a-Se) 기반의 고이득 아발란시 러싱 광전도체(High-gain Avalanche Rushing amorphous Photoconductor, HARP) 기술이 적용되었다. HARP 타겟을 사용한 사티콘은 HARPICON이라 불리며, 기존 사티콘보다 광 감도가 최대 10배까지 향상되었다.[146][147][148][145] HARPICON 타겟은 인듐 주석 산화물(ITO), CeO2, 불화 리튬(LiF)이 도핑된 셀레늄 층, 비소(As)와 텔루륨(Te)이 도핑된 셀레늄 층, 비소(As)가 도핑된 비정질 셀레늄 층, 그리고 삼황화 안티몬 층 등으로 구성된다.[146][147][148][145]
사티콘, 특히 HARPICON은 소니의 초기 아날로그 고선명 텔레비전(HDTV) 시스템인 HDVS(High Definition Video System)에 사용되었다. 이 시스템은 MUSE(Multiple Sub-Nyquist Sampling Encoding) 방식을 사용했다.[145]
2. 8. 기타 촬상관
=== 파세콘 (Pasecon) ===파세콘은 1972년 도시바에서 '찰니콘'이라는 이름으로 처음 개발되었으며, 1977년부터는 독일 회사 하이만(Heimann GmbH)의 등록 상표가 되었다.[144][149] 파세콘의 광전면은 셀렌산 카드뮴 삼산화물(CdSeO3)로 구성되어 있다. 넓은 스펙트럼 응답 특성 때문에 '전색성 셀레늄 비디콘'으로 불렸으며, 여기서 '파세콘(pasecon)'이라는 약칭이 유래했다.[144][149] 하지만 잔상이 많이 남는 문제 때문에 방송용 텔레비전 제작에는 적합하지 않다는 평가를 받았다.[108]
=== 뉴비콘 (Newvicon) ===
뉴비콘은 1973년부터 파나소닉(Matsushita)의 등록 상표였으며,[150] 1974년에 출시되었다.[151][152] 뉴비콘 튜브는 높은 광 감도를 특징으로 했다. 광전면은 셀렌화 아연(ZnSe)과 텔루르화 아연 카드뮴(ZnCdTe)의 조합으로 구성된다.[144] 그러나 이미지 지연(lag)이 심하고 화질의 균일성이 떨어져 방송용 TV 제작에는 적합하지 않다고 여겨졌다.[108]
=== 트리니콘 (Trinicon) ===
트리니콘은 1971년부터 소니(Sony)의 등록 상표이다.[153] 이 튜브는 표준 비디콘 촬상관의 전면부에 수직 줄무늬 형태의 RGB 컬러 필터를 부착하여, 전자빔 스캔을 통해 각 색상(빨강, 초록, 파랑) 신호를 분리해내는 방식이다. 이를 통해 기존 컬러 카메라처럼 색상별로 여러 개의 촬상관을 사용하지 않고, 단 하나의 튜브만으로 컬러 영상을 구현할 수 있었다.
트리니콘은 주로 HVC-2200 및 HVC-2400 모델과 같은 보급형 소비자용 카메라에 사용되었지만, 소니는 1970년대와 1980년대에 DXC-1600 시리즈와 같은 일부 중급 전문 카메라에도 이 튜브를 사용했다.[154]
타겟(촬상면) 위에 컬러 스트라이프 필터를 사용하는 아이디어 자체는 새로운 것이 아니었지만, 트리니콘은 기본 RGB 색상을 사용한 유일한 튜브였다. 이를 위해서는 스캐닝 전자빔이 스트라이프 필터와 관련하여 어디에 있는지 감지하기 위해 타겟에 추가 전극을 매립해야 했다. 이전의 컬러 스트라이프 시스템은 색상 회로가 신호의 상대적 진폭만으로 색상을 분리할 수 있는 색상을 사용했다. 결과적으로, 트리니콘은 더 넓은 작동 다이내믹 레인지를 특징으로 했다.
소니는 나중에 사티콘(Saticon) 튜브 기술과 트리니콘의 RGB 컬러 필터를 결합하여 저조도 감도와 우수한 색 재현력을 제공하는 '''SMF 트리니콘'''(SMF Trinicon) 튜브(또는 '''사티콘 혼합 필드''')를 개발했다. 이 유형의 튜브는 HVC-2800 및 HVC-2500 소비자용 카메라, DXC-1800 및 BVP-1 전문 카메라, 그리고 최초의 베타무비 캠코더 등에 사용되었다. 도시바는 1974년에 유사한 튜브를 제공했으며,[155] 히타치 역시 1981년에 컬러 필터가 있는 유사한 사티콘 기반 튜브를 개발했다.[156]
3. 작동 원리
비디오 카메라 튜브, 또는 촬상관은 기본적으로 빛 에너지를 전기적인 영상 신호로 변환하는 진공관 장치이다.[2] 촬상관의 작동은 크게 몇 가지 핵심적인 물리 및 전자 원리에 기반한다.
첫째, 빛 에너지를 전기 에너지로 변환하는 과정이 필요하다. 이는 주로 빛이 특정 물질에 닿았을 때 전자를 방출시키는 광전 효과나[1] 빛의 양에 따라 물질의 전기 저항이 변하는 광도전 효과를 이용한다. 촬상관 내부의 광전면이나 광도전 물질은 입사된 빛에 반응하여 전기적 신호(전자 또는 저항 변화)를 생성한다.
둘째, 생성된 전기 신호는 타깃(target)이라는 표면에 일정 시간 동안 전하 축적 방식으로 저장된다.[43][46] 이를 통해 빛 정보를 모아 더 강한 신호를 만들 수 있으며, 이 방식은 아이코노스코프, 이미지 오시콘, 비디콘 등에서 다양하게 활용되었다.[44][45][102][101][110]
셋째, 축적된 전하 패턴(전하상)은 전자총에서 나온 전자빔을 이용한 전자 빔 주사(scanning) 과정을 통해 읽힌다. 전자빔이 타깃 표면을 순차적으로 훑으면서 각 지점의 전하 정보를 시간 순서에 따른 전기 신호, 즉 영상 신호로 변환한다.[103] 신호 검출 방식은 튜브 종류별로 다르다. 예를 들어 이미지 오시콘은 타깃의 전하량에 따라 반사되는 전자빔의 양을 측정하고,[103] 비디콘은 전자빔이 타깃의 전하를 중화시킬 때 발생하는 전류 변화를 신호로 사용한다.
넷째, 전자빔의 정확한 제어와 초점 조절을 위해 자기장을 이용하는 자기 초점 방식이 사용되기도 한다.[164][102][103]
이러한 기본 원리들을 바탕으로 다양한 종류의 촬상관이 개발되었으며, 각 튜브는 사용하는 감광 물질, 전하 축적 및 증폭 방식, 전자빔 주사 방식 등에서 고유한 특징과 장단점을 가졌다. 이러한 기술적 발전을 통해 촬상관은 텔레비전 방송과 다양한 영상 시스템의 핵심 부품으로 기능하며 영상 기술 발전에 크게 기여했다.
3. 1. 광전 효과
비디오 카메라 튜브(촬상관)의 작동 원리 중 하나는 광전 효과이다. 이는 빛 에너지가 전자를 방출시키는 물리 현상을 말한다.[1] 촬상관 내부에는 빛에 민감하게 반응하는 광전면 또는 광음극이라는 특수한 표면이 있다. 이 표면에 빛이 닿으면, 빛의 세기에 비례하여 해당 표면에서 전자가 방출된다.[1] 즉, 밝은 빛이 닿을수록 더 많은 전자가 방출된다.예를 들어, 초기 촬상관 중 하나인 이미지 디섹터는 광음극에 빛이 닿아 그 강도에 비례하여 전자가 방출되는 원리를 직접적으로 이용한다.[1] 이미지 오시콘 역시 빛이 광전면(또는 광음극)에 닿으면 내부로 광전자가 방출되는 현상을 활용하여 영상을 전기 신호로 변환한다.[100] 이렇게 방출된 전자의 흐름은 영상의 밝기 정보를 담고 있으며, 후속 처리 과정을 거쳐 최종적인 영상 신호가 된다.
텔레비전 기술의 초기 개발 단계에서 광전 효과의 효율적인 활용은 중요한 기술적 과제였다. 1908년, 영국의 앨런 아치볼드 캠벨-스윈턴은 완전 전자식 텔레비전 시스템을 구상하며 효율적인 송신기(카메라 튜브) 개발의 어려움을 언급했는데, 당시 알려진 광전 현상만으로는 충분한 성능을 내기 어려울 수 있다고 지적했다.[3] 또한, 그가 조지 민친, J. C. M. 스탠턴과 함께 진행했던 초기 실험 중에는 셀레늄으로 코팅된 금속판에 빛을 쬐어 전기 신호를 얻으려는 시도도 있었는데,[11][12] 이는 광전 효과를 이용해 영상을 전기적으로 변환하려는 초기 노력의 한 예시이다.
결론적으로, 광전 효과는 빛 에너지를 전기 에너지(전자의 흐름)로 변환하여 영상 정보를 포착하는 비디오 카메라 튜브의 핵심적인 물리 원리이다.
3. 2. 전하 축적
초기 전자식 카메라 튜브, 예를 들어 이미지 분해기는 피사체를 스캔할 때 해당 지점의 순간적인 빛만 감지하는 치명적인 약점을 가졌다. 즉, 광음극에서 방출된 전자의 대부분이 활용되지 못하고 버려지는 "전하 축적" 특성이 없었다.[43] 실용적인 카메라 튜브 개발을 위해서는 빛 에너지를 효과적으로 모으는 다른 접근 방식이 필요했는데, 이것이 바로 전하 저장(charge-storage) 기술이다.
전하 저장의 원리는 1924년 헝가리 엔지니어 칼만 티하니가 맥스웰 방정식 연구 중 발견한 새로운 물리 현상에 기반한다. 그는 이 원리를 이용하여 각 스캔 주기 사이에 튜브 내부에 전기적 전하(광전자)를 축적하고 저장하는 카메라 튜브를 고안했고, 1926년 '라디오스코프'라는 이름으로 특허를 출원했다.[46][47] 이 전하 저장 기술은 텔레비전 카메라 튜브의 감도를 획기적으로 높이는 돌파구가 되었으며, 오늘날까지 이미징 장치 설계의 기본 원리로 남아 있다.[46] 전하 축적 방식은 촬상관의 종류에 따라 다음과 같이 다양하게 구현되었다.
아이코노스코프(Iconoscope)아이코노스코프는 전하 저장 원리를 구현한 대표적인 초기 전자식 촬상관이다. 블라디미르 즈보리킨은 1925년 웨스팅하우스 재직 시절 전하 저장 판을 포함한 텔레비전 시스템 특허를 출원했다.[51] 아이코노스코프의 핵심은 전하 저장 판이다. 이 판은 절연층 위에 미세한 감광성 입자(예: 수소화 칼륨, 은 등) 모자이크로 구성되어, 각 입자가 작은 커패시터 역할을 한다. 빛이 각 입자에 닿으면 광전 효과에 의해 전하가 발생하고, 이 전하는 다음 스캔까지 해당 입자에 축적된다. 전자빔이 주기적으로 판을 스캔하면서 각 입자를 순서대로 방전시키고, 이때 방출되는 전하량이 해당 지점의 빛의 세기에 비례하는 전기 신호가 된다.[44][45] 1931년 샌포드 에식이 우연히 발견한 은 입자 분리 현상을 통해 이미지 해상도가 향상된 실용적인 아이코노스코프가 제작되었다.[54][18] 아이코노스코프는 이전 이미지 분해기보다 훨씬 감도가 높았지만[57], 스캔 과정에서 발생하는 2차 전자가 다시 판으로 끌려가 저장된 전하를 일부 중화시키는 문제 등으로 인해 이론적 효율에는 미치지 못하는 단점도 있었다.[63][64][65] 아이코노스코프는 40~215 럭스 (4–20 ft-c) 사이의 표적 조명에 유용했다.
이미지 오시콘(Image Orthicon)이미지 오시콘은 빛을 광음극에서 전자 이미지로 변환한 후, 이 전자를 타깃(target)이라 불리는 매우 얇은 유리판으로 가속한다. 전자가 타깃에 충돌하면 2차 전자 방출 현상으로 더 많은 전자가 튕겨져 나오고, 이 튕겨 나온 전자들은 타깃 앞에 위치한 미세한 타깃 메시(mesh)에 흡수된다. 결과적으로 타깃 유리판에는 빛의 명암에 따라 양(+)의 전하 분포, 즉 전하상(電荷像)이 축적된다.[102] 이 전하상은 유리판의 다른 면(전자총 방향)으로 전달되고, 전자총에서 나온 전자빔이 이 면을 스캔한다. 전자빔의 전자는 타깃의 양전하를 중화시키며, 중화된 양에 따라 반사되는 전자의 양이 달라진다. 이 반사된 전자의 양 변화가 영상 신호가 된다.[103] 이미지 오시콘은 2차 전자 방출을 이용한 증폭 효과 덕분에 감도가 매우 높았다.
비디콘(Vidicon)비디콘은 광도전 현상을 이용한다. 빛이 투명 전극(ITO 층 등)을 통과하여 광도전 물질(예: 삼황화안티몬, 셀레늄, 산화납 등) 층에 닿으면, 빛의 세기에 따라 해당 부분의 전기 저항이 낮아진다. 이 저항 변화로 인해 광도전층의 전자총 쪽 표면에는 빛의 명암에 따른 양(+)의 전하 패턴(전하상)이 형성되고, 이는 투명 전극과의 사이에 형성된 미세한 정전 용량에 축적된다.[101][110] 전자빔이 이 표면을 스캔하면, 양전하가 많은 부분(밝은 부분)일수록 더 많은 전자가 빔에서 나와 전하를 중화시킨다. 이 중화 과정에서 투명 전극을 통해 흐르는 전류의 변화가 영상 신호로 출력된다. 비디콘은 구조가 간단하고 소형화가 가능했지만, 축적된 전하가 완전히 소멸되기까지 시간이 걸려 이미지 지연(고스팅, 번인 등) 현상이 발생하기 쉬운 단점이 있었다.[119][120]
슈퍼 에미트론(Super-Emitron)과 이미지 아이코노스코프(Image Iconoscope)아이코노스코프의 효율 문제를 개선하기 위해 개발된 방식으로, 광전 변환 기능과 전하 저장 기능을 분리하여 감도를 높였다.
- 슈퍼 에미트론: 광음극에서 생성된 전자 이미지를 2차 전자 방출 효율이 높은 특수 타깃으로 가속한다. 타깃에 충돌한 전자는 여러 개의 2차 전자를 방출시켜 신호를 증폭하고, 이때 생성된 양(+) 전하는 절연층 위의 금속 과립 모자이크에 축적된다. 이후 전자빔 스캔으로 저장된 전하를 읽어낸다.[66][67][68]
- 이미지 아이코노스코프: 슈퍼 에미트론과 유사하지만, 타깃 구조가 금속 과립 모자이크 대신 절연 물질의 얇은 층으로 되어 있다. 2차 전자가 방출되면서 생긴 양(+) 전하는 이 절연층 표면에 직접 저장된다.[71]
이처럼 다양한 비디오 카메라 튜브들은 광전 효과나 광도전 효과를 통해 빛 에너지를 전기적 전하로 변환하고, 이를 타깃 표면에 일정 시간 동안 축적했다가 전자빔으로 스캔하여 영상 신호를 얻는 공통된 원리를 기반으로 발전해왔다. 각 튜브는 타깃의 재질, 구조, 2차 전자 활용 방식 등에서 차이를 보이며 성능을 개선해 나갔다.
3. 3. 전자 빔 주사
비디오 카메라 튜브에서 영상 신호를 얻는 핵심 과정 중 하나는 전자총에서 방출된 가느다란 전자빔을 이용하여 빛에 의해 형성된 전기적 정보를 읽어내는 것이다. 이 과정을 전자 빔 주사라고 하며, 대표적인 방식으로는 이미지 오시콘과 비디콘에서 사용되는 방식이 있다.이미지 오시콘의 경우, 먼저 빛이 광전면에 닿으면 광전자가 방출되고, 이 광전자가 타깃(얇은 유리판)에 충돌하여 2차 전자를 방출시킨다. 이 과정에서 타깃 표면에는 빛의 명암에 따라 양(+)전하가 분포하는 전하상(電荷像)이 형성된다.[102] 이후 전자총에서 전자빔을 방사하여 이 타깃 표면을 순서대로 주사(scan)한다.[103] 만약 전자빔이 주사하는 지점에 양전하가 없다면 전자빔은 그대로 반사되어 되돌아간다. 하지만 양전하가 있는 부분에 전자빔이 닿으면, 전자빔 속의 전자(-) 일부가 타깃의 양전하와 결합하여 중화시킨다. 그 결과, 해당 지점에서는 되돌아가는 전자의 수가 줄어들게 된다. 이렇게 되돌아가는 전자빔의 세기는 타깃 표면의 각 점의 밝기(양전하의 양)에 따라 달라지며, 이 변화를 영상 신호로 변환하는 것이다. 즉, 전자빔이 일종의 스위치 역할을 하여 빛의 정보를 전기 신호로 바꾸는 셈이다. 되돌아온 전자빔은 전자 증배기(다이노드)를 통해 증폭되어 최종 출력 신호를 형성한다.[100][103]
비디콘은 광도전 현상을 이용한다. 빛이 투명 전극인 네사막을 통과하여 광도전 물질(예: 삼황화안티몬) 층에 닿으면, 빛의 세기에 비례하여 해당 부분의 전기 저항이 낮아진다. 이로 인해 광도전층 표면에는 빛의 명암에 따른 양(+)전하 패턴(전하상)이 형성되고 축적된다. 전자총에서 나온 저속의 전자빔이 이 전하상을 주사하면, 전자빔의 전자가 표면의 양전하와 결합한다. 이때 빛이 강하게 닿아 양전하가 많이 축적된 부분일수록 더 많은 전자가 결합하게 된다. 이 결합 과정에서 네사막을 통해 흐르는 전류의 양이 변화하는데, 이 전류의 변화가 바로 영상의 밝기 정보를 담은 영상 신호가 된다. 실리콘 다이오드 배열을 타깃으로 사용하는 Si-비디콘(실리콘 비디콘)도 유사한 원리로 전자 빔 주사를 통해 영상 신호를 얻는다.[124][125]
이처럼 전자 빔 주사 방식은 튜브 종류에 따라 세부적인 원리는 다르지만, 공통적으로 전자총에서 나온 전자빔을 이용하여 빛에 의해 만들어진 전기적 패턴을 읽어내 영상 신호로 변환하는 핵심적인 역할을 수행한다.
3. 4. 자기 초점
A. A. 캠벨-스윈턴(A. A. Campbell-Swinton)은 1896년에 '자기 초점' 현상을 발견했다. 그는 축 방향 코일이 만드는 종방향 자기장이 전자 빔의 초점을 맞출 수 있다는 사실을 알아냈다.[164] 이 발견은 즉시 J. A. 플레밍(J. A. Fleming)에 의해 확인되었고, 한스 부쉬(Hans Busch)가 1926년에 완전한 수학적 해석을 제시했다.[165]카메라 튜브에서 자기 초점을 위해 사용되는 초점 코일은 튜브 전체를 둘러쌀 정도로 길며, 이는 텔레비전 수상기 CRT에 사용되는 짧은 초점 코일과 다르다. 카메라 튜브의 긴 초점 코일은 내부에 거의 평행한 자기력선을 생성한다. 반면, TV 수상기 CRT의 초점 코일은 국소적인 반토러스 형태의 자기장을 만들어 자기 렌즈 역할을 한다.
카메라 튜브 내부의 전자들은 이 긴 초점 코일 안에서 자기력선을 따라 나선 형태로 이동한다. 전자가 특정 지점에서 출발하면, 자기장의 세기에 따라 정해진 거리에서 다시 한 점으로 모이게 된다. 따라서 코일에 흐르는 전류를 조절하여 간단하게 전자 빔의 초점을 맞출 수 있다. 즉, 전자는 자기력선을 따라 이동하며 초점이 맞춰지는 것이다.[102][103]
이 긴 초점 코일은 편향 요크(편향 코일)를 감싸고 있다. 편향 요크가 만드는 편향 자기장은 자기력선을 구부려서 전자 빔의 경로를 바꾸지만, 초점에는 거의 영향을 주지 않는다. 전자는 구부러진 자기력선을 그대로 따라가며 편향된다. 일부 튜브에서는 이 축 방향 자기장이 전자가 타겟에 수직으로 도달하도록 돕는 역할도 한다.[103]
자기 초점 카메라 튜브의 편향 코일 배치는 일반적인 자기 편향 CRT와 유사한 점도 있지만, 작동 방식에 차이가 있다. 예를 들어, 자기 초점 튜브에서는 수직 편향 코일이 튜브의 위와 아래에 위치하여 자기력선에 완만한 S자 굴곡을 만들어 빔을 편향시킨다.
4. 촬상관의 종류
촬상관은 빛 에너지를 전기 신호로 변환하는 진공관으로, 텔레비전 카메라의 핵심 부품이었다. 다양한 종류의 촬상관이 개발되었으며, 각각 다른 작동 원리와 특징을 가진다.
=== 아이코노스코프와 파생형 ===
초기 전자식 텔레비전 시스템에 사용된 아이코노스코프는 블라디미르 K. 즈보리킨이 발명했지만, 몇 가지 단점을 가지고 있었다. 잡음이 많고 신호 대 간섭 비율이 높아 만족스러운 화질을 얻기 어려웠으며, 특히 당시 등장하던 기계식 스캐닝 시스템보다 성능이 떨어졌다.[63][64] 영국의 EMI 소속 아이작 숀버그가 이끄는 팀은 아이코노스코프의 효율이 이론치의 약 5%에 불과하다는 것을 밝혀냈다. 이는 스캐닝 전자빔이 전하 저장판을 통과할 때 발생하는 2차 전자가 다시 양전하를 띤 저장판으로 끌려가 저장된 전하를 상당 부분 상쇄시키기 때문이었다.[65]
이를 개선하기 위해 1934년, EMI의 Lubszynski, Rodda, McGee는 광전 변환 기능과 전하 저장 기능을 분리한 새로운 형태의 촬상관인 Super-Emitron영어(수퍼 에미트론)을 개발했다.[64][65] 수퍼 에미트론은 이미지 분해관과 에미트론(아이코노스코프)의 원리를 결합한 것이다. 효율적인 광음극에서 빛을 전자 이미지로 변환하고, 이 전자 이미지를 2차 전자 방출용 표적으로 가속시킨다. 표면에 충돌한 전자는 여러 개의 2차 전자를 방출시켜 신호를 증폭하며, 이 과정에서 생성된 양전하는 절연된 금속 입자(모자이크)로 구성된 표적에 저장된다. 마지막으로 전자 빔이 표면을 주사하여 저장된 전하를 방전시키면서 영상 신호를 얻는다.[66][67][68] 수퍼 에미트론은 기존 아이코노스코프보다 10~15배 이상 민감도가 향상되었다.[65] BBC는 1937년 영국 현충일 기념식 중계에 수퍼 에미트론을 사용하여 세계 최초로 야외 생방송을 성공시켰다.[69]
한편, 즈보리킨은 독일의 텔레푼켄과 특허를 공유하여[70] Superikonoskopde(이미지 아이코노스코프)를 개발했다. 이는 수퍼 에미트론과 기본적으로 동일한 원리지만, 표적 구조가 금속 입자 모자이크 대신 절연 물질의 얇은 층으로 되어 있다는 차이가 있다.[71] 유럽에서는 독일의 Dieckmann과 Hell이 1925년에 이미지 분해관 관련 특허를 먼저 출원했기 때문에,[19][20] 즈보리킨과 필로 판스워스 간의 특허 분쟁과 별개로 이미지 아이코노스코프가 널리 사용될 수 있었다. 이미지 아이코노스코프는 1936년부터 1960년대까지 유럽 방송의 표준 촬상관으로 자리 잡았으며, 미국의 이미지 오시콘과 경쟁했다.[71][72] 독일의 하이만(Heimann)과 네덜란드의 필립스 등에서 생산되었고,[73][72][74] 이후 플럼비콘으로 대체되었다.[75][76]
=== 이미지 오시콘 ===
이미지 오시콘(en)은 매우 높은 감도를 가진 촬상관으로, 달빛 아래에서도 촬영이 가능할 정도로 성능이 뛰어났다.
- 구조: 관의 앞쪽에는 빛이 들어오는 유리면(페이스 플레이트)과 그 안쪽에 미세한 광전 입자(Bi-O-Ag-Cs)로 이루어진 광전면이 있다. 광전면 뒤에는 미세한 구멍이 뚫린 금속판(타깃 메시)과 얇은 유리판(타깃 글라스)이 위치하며, 관 뒤쪽에는 전자총과 다이노드가 있다.
- 작동 원리:
1. 광전면에 빛이 닿으면 광전자가 방출되어 타깃 글라스에 충돌한다.
2. 충돌 시 타깃 글라스에서 더 많은 수의 2차 전자가 방출되어 타깃 메시에 흡수되고, 타깃 글라스에는 빛의 명암에 따른 양(+)전하 패턴(전하상)이 형성된다.
3. 전자총에서 발사된 전자빔이 타깃 글라스의 뒷면을 주사한다.
4. 전하가 없는 부분에서는 전자빔이 반사되지만, 양전하가 있는 부분에서는 전자빔의 일부가 흡수되어 중화된다. 즉, 빛이 강한 부분일수록 반사되는 전자빔의 양이 적어진다.
5. 반사된 전자빔의 세기 변화가 영상 신호가 된다.
6. 반사된 전자빔은 다이노드에서 여러 단계에 걸쳐 증폭(전자류 증배)되어 최종 출력 신호를 만든다.
이미지 오시콘은 감도와 화질 면에서 매우 우수했지만, 크기가 크고(직경 약 7.62cm 또는 약 10.16cm) 구조가 복잡하여 주로 방송국 스튜디오용 카메라에 사용되었다.
=== 비디콘 ===
비디콘(en)은 광도전성 원리를 이용한 촬상관으로, 1950년 미국의 RCA에서 이미지 오시콘의 구조적 복잡성을 개선하기 위해 개발되었다.[99][105][106][107]
- 구조: 유리면(페이스 플레이트) 안쪽에 투명 전극(네사막, SnO2)이 있고, 그 위에 광도전체(주로 삼황화안티몬 Sb2S3) 박막이 입혀져 있다. 관 뒤쪽에는 전자총이 있다.
- 작동 원리:
1. 네사막에 양(+)전압을 가한 상태에서 빛이 네사막을 통과하여 광도전체 층에 닿으면, 빛을 받은 부분의 전기 저항이 감소한다.
2. 이로 인해 광도전체 층의 전자총 쪽 표면에 빛의 명암에 따른 양(+)전하 패턴(전하상)이 형성된다.
3. 전자총에서 발사된 전자빔이 광도전체 표면을 주사한다.
4. 전자빔은 양전하가 많은 부분(빛이 강한 부분)에 더 많이 흡수된다.
5. 이때 네사막을 통해 흐르는 전류의 변화가 영상 신호가 된다.
비디콘은 구조가 간단하고 크기가 작아(표준 직경 25mm) 휴대용 카메라, 필름 영상 변환 장치, 산업용 및 우주 탐사용 카메라(NASA의 초기 랜드샛 위성[115][116][117] 및 갈릴레오 이전의 심우주 탐사선[114] 등)에 널리 사용되었다. 광도전 물질로 산화납(PbO)을 사용한 플럼비콘(Plumbicon), 실리콘 다이오드 배열을 사용한 Si-비디콘(울트리콘)[108][109], 열전 물질(TGS)을 사용하여 적외선을 감지하는 특수 비디콘[112] 등 다양한 파생형이 개발되었다.
그러나 비디콘은 밝은 빛이 지나간 자리에 잔상(이미지 지연 현상: 고스팅, 번짐, 혜성 꼬리 등)이 남는 단점이 있었다.[119][120] 또한 강한 빛에 노출되면 손상되거나[121], 장시간 같은 화면을 비추면 화면 자국(번인)이 남기도 했다.[122][123] 비디콘은 1970년대와 1980년대에 널리 쓰이다가 CCD나 CMOS 센서와 같은 고체 이미지 센서의 등장으로 점차 대체되었다.
=== 사티콘 ===
사티콘(en)은 일본의 히타치가 NHK 기술연구소와 공동으로 개발하여 1973년에 발표한 촬상관이다.[142][143] 히타치의 등록 상표이며, 톰슨이나 소니에서도 생산되었다.
- 특징: 표적 물질로 셀레늄(Se)에 소량의 비소(As)와 텔루륨(Te)을 첨가한 SeAsTe 합금을 사용하여 신호 안정성을 높였다. '사티콘(SATicon)'이라는 이름은 이 합금 성분(Se-As-Te)에서 유래했다.[144] 평균 감도는 ASA 64 필름 수준이었다.[145] 플럼비콘에 비해 작동 온도 범위가 좁고 이미지 지연 현상이 더 심한 편이었다.[108]
- 구조: 타겟은 투명 전도층(주석 산화물), SeAsTe 층, SeAs 층, 그리고 전자빔을 마주하는 삼황화안티몬(Sb2S3) 층으로 구성된다.[142]
- 파생형: 비정질 셀레늄 기반의 고이득 증폭 광도전체(HARP)를 사용하여 감도를 최대 10배까지 높인 HARPICON이 개발되었다.[146][147][148][145]
- 용도: 사티콘은 소니 HDVS 시스템 등 초기 아날로그 HDTV 제작에 사용되었다.[145]
5. 촬상관의 응용
촬상관은 텔레비전 카메라 외에도 다양한 분야에서 활용되었다.
이미지 디섹터는 감도가 낮아 텔레비전 방송에서는 제한적으로 사용되었지만, 초기 기상 위성이나 달 착륙선의 이미징, 우주 왕복선과 국제 우주 정거장의 별 추적 장치 등에 사용되었다.[34] 또한 산업용 용광로 내부 모니터링과 같이 조명이 매우 밝은 환경에서도 활용되었다.[35][36][37]
비디콘은 구조가 간단하고 크기가 작아 휴대용 카메라, 필름 촬상용 카메라, 스튜디오 보조 카메라뿐만 아니라 인공위성이나 우주 로켓의 카메라에도 널리 쓰였다. NASA는 갈릴레오 탐사선을 포함한 여러 심우주 탐사선[114]과 초기 랜드샛 위성의 리턴 빔 비디콘(RBV) 시스템에 비디콘 기술을 사용했다.[115][116][117]
특수한 목적을 위한 비디콘도 개발되었다. 자외선(UV) 영역 촬영을 위해 Uvicon이라는 특수 비디콘이 NASA에서 사용되었다.[118] 또한, 삼글리신 설페이트(TGS)와 같은 열전기 물질을 표적으로 사용하여 적외선 감지가 가능한 비디콘도 개발되었는데, 이는 주로 소방용 열화상 카메라 등에 활용되었다.[112][113]
6. 촬상관의 쇠퇴
촬상관 기술은 1990년대까지 고화질 MUSE HD 방송 시스템 등에 사용되며 명맥을 이어갔다.[167] 당시 CCD가 이 분야에 적용되기 위해 테스트되었지만, 1993년 기준으로 방송사들은 CCD가 화질 저하 없이 필요한 고해상도를 구현하기에는 아직 부족하다고 판단했다.[167]
그러나 이후 등장한 현대적인 CCD와 CMOS 기반 센서는 촬상관 방식에 비해 여러 장점을 제공했다. 이러한 장점은 다음과 같다.[167]
- 이미지 잔상(lag) 현상이 없다.
- 전반적인 화질, 광 감도, 다이내믹 레인지가 더 높다.
- 신호 대 잡음비(SNR)가 더 우수하다.
- 신뢰성과 내구성이 훨씬 뛰어나다.
- 전자빔과 히터 필라멘트 구동에 필요한 고전압 및 저전압 전원 공급 장치가 필요 없다.
- 초점 조절용 코일 구동 회로가 필요 없다.
- 예열 시간이 필요 없다.
- 전체 전력 소비량이 현저히 적다.
이러한 많은 장점에도 불구하고, 반도체 이미지 센서로의 전환은 즉각적으로 이루어지지 않았다. 초기의 반도체 센서는 촬상관보다 해상도와 전반적인 성능이 낮았으며, 처음에는 주로 소비자용 비디오 녹화 장비에 사용되었다.[167] 또한, 기존의 방송국이나 제작사들은 이미 고품질의 촬상관 카메라와 촬상관에서 나오는 비디오 신호를 처리하는 데 최적화된 부속 장비에 상당한 투자를 한 상태였다. 반도체 이미지 센서로 전환한다는 것은 이러한 기존 장비의 상당 부분이 쓸모없게 되고, 새로운 센서에 최적화된 장비를 다시 도입해야 함을 의미했다.[167]
현재 대부분의 비디오 카메라는 고체촬상소자를 사용하지만, 촬상관은 방사선에 상대적으로 둔감하다는 특성 때문에 원자력 발전소와 같은 고방사선 환경에서는 여전히 사용되기도 한다.
참조
[1]
서적
Dictionary of Video and Television Technology
Newnes Press
2002
[2]
간행물
McGraw-Hill
[3]
논문
Distant Electric Vision
1908-06-18
[4]
논문
The Problem of Television; A Partial Solution
https://zenodo.org/r[...]
1909-07-24
[5]
서적
Electronic Motion Pictures: A History of the Television Camera
University of California Press
[6]
서적
Television: The Life Story of a Technology
https://archive.org/[...]
Greenwood Press
[7]
간행물
Television, or The Projection of Pictures Over a Wire
https://worldradiohi[...]
Experimenter Publishing Company
1915-08
[8]
서적
The Electrical Transmission of Photographs
https://archive.org/[...]
Sir Issac Pitman & Sons
[9]
간행물
Vacuum Cameras to Speed Up Television
https://worldradiohi[...]
Experimenter Publishing Company
1928-07
[10]
간행물
Campbell Swinton Television System
https://worldradiohi[...]
Experimenter Publishing Company
1928-07
[11]
논문
Electric Television
1926-10-23
[12]
서적
Television: An International History of the Formative Years
https://archive.org/[...]
The Institution of Electrical Engineers
[13]
논문
Prof. G. M. Minchin, F.R.S.
1914-04-02
[14]
논문
The Electrical Reproduction of Images by the Photoconductive Effect
1938
[15]
논문
Television Pickup Tubes with Cathode-Ray Beam Scanning
1937-08
[16]
서적
Brevet d'invention No. 539,613: Procédé et appareillage pour la transmission des images mobiles à distance
http://v3.espacenet.[...]
Office National de la Propriété industrielle
1922
[17]
서적
The Art of Electronics
Cambridge University Press
1989
[18]
서적
Tele-visionaries: The People Behind the Invention of Television
https://archive.org/[...]
Wiley-Interscience
[19]
서적
Patentschrift Nr. 450 187: Lichtelektrische Bildzerlegerröehre für Fernseher
https://worldwide.es[...]
Reichspatentamt
1927
[20]
웹사이트
Television System
https://patents.goog[...]
United States Patent Office
2009-07-28
[21]
간행물
Television on the Continent
John Murray
1927-09
[22]
서적
Uses of Television
https://archive.org/[...]
Routledge
[23]
간행물
Cathode Ray Television
https://worldradiohi[...]
1928-05
[24]
웹사이트
Philo Farnsworth
http://www.time.com/[...]
Time
1999-03-29
[25]
웹사이트
Photoelectric Apparatus
https://patents.goog[...]
United States Patent Office
2010-01-15
[26]
웹사이트
Television Method
https://patents.goog[...]
United States Patent Office
2010-01-15
[27]
웹사이트
Electrical Discharge Apparatus
http://www.google.co[...]
United States Patent Office
2009-07-29
[28]
서적
Distant Vision: Romance and Discovery on an Invisible Frontier
https://archive.org/[...]
PemberlyKent
1990
[29]
웹사이트
Philo Taylor Farnsworth (1906–1971)
http://www.sfmuseum.[...]
2009-07-15
[30]
웹사이트
Electron Multiplying Device
https://patents.goog[...]
United States Patent Office
2010-02-22
[31]
웹사이트
Multipactor Phase Control
https://patents.goog[...]
United States Patent Office
2010-02-22
[32]
웹사이트
Two-stage Electron Multiplier
https://patents.goog[...]
United States Patent Office
2010-02-22
[33]
웹사이트
Image Analyzing and Dissecting Tube
https://patents.goog[...]
United States Patent Office
2010-02-22
[34]
서적
The History of Television, 1880 to 1941
https://archive.org/[...]
McFarland & Company
1987
[35]
웹사이트
Vidissector - Image Dissector, page 1
http://www.aade.com/[...]
ITT
1964-12
[36]
웹사이트
Vidissector - Image Dissector, page 2
http://www.aade.com/[...]
ITT
1964-12
[37]
웹사이트
Vidissector - Image Dissector, page 3
http://www.aade.com/[...]
ITT
1964-12
[38]
웹사이트
Image Dissector
http://www.google.co[...]
United States Patent Office
1964-12
[39]
웹사이트
The Farnsworth Chronicles, Who Invented What -- and When??
http://www.farnovisi[...]
[40]
서적
Zworykin, Pioneer of Television
https://archive.org/[...]
University of Illinois Press
[41]
논문
Television Pickup Tubes Using Low-Velocity Electron-Beam Scanning
1939-09
[42]
웹사이트
Kalman Tihanyi's 1926 Patent Application "Radioskop"
http://www.unesco.or[...]
UNESCO
2001
[43]
서적
The Electronics Revolution: Inventing the Future
Springer Nature
[44]
웹사이트
Television Apparatus
http://www.google.co[...]
United States Patent Office
[45]
웹사이트
Method of and Apparatus for Producing Images of Objects
https://patents.goog[...]
United States Patent Office
[46]
뉴스
'Kálmán Tihanyi (1897–1947)'
http://www.iec.ch/cg[...]
International Electrotechnical Commission (IEC)
2009-07-15
[47]
뉴스
"Kálmán Tihanyi's 1926 Patent Application 'Radioskop'"
http://www.unesco.or[...]
United Nations Educational, Scientific and Cultural Organization (UNESCO)
2005
[48]
간행물
Improvements in television apparatus
http://v3.espacenet.[...]
European Patent Office
1930-11-11
[49]
백과사전
The National Academies Press
2006
[50]
백과사전
[51]
웹사이트
Television System
https://patents.goog[...]
United States Patent Office
[52]
웹사이트
Television System
https://patents.goog[...]
United States Patent Office
[53]
웹사이트
Television System
https://patents.goog[...]
United States Patent Office
[54]
서적
Communications: An International History of the Formative Years
https://archive.org/[...]
The Institution of Electrical Engineers
2004
[55]
웹사이트
Improvements in or relating to cathode ray tubes and the like
http://v3.espacenet.[...]
United Kingdom Intellectual Property Office
[56]
웹사이트
Cathode Ray Tube
https://patents.goog[...]
United States Patent Office
[57]
뉴스
Human-like Eye Made by Engineers to Televise Images...
https://www.nytimes.[...]
1933-06-27
[58]
간행물
The Iconoscope; America's Latest Television Favourite
https://worldradiohi[...]
Iliffe & Sons
1933-09-01
[59]
논문
Television with cathode-ray tubes
1933-09
[60]
논문
Television with cathode-ray tubes
1933-10
[61]
뉴스
R.C.A. Officials Continue to Be Vague Concerning Future of Television
1936-11-15
[62]
서적
The History of Television, 1942 to 2000
https://archive.org/[...]
McFarland & Company
[63]
서적
Misunderstanding Media
https://archive.org/[...]
Routeledge & Kegan Paul
[64]
서적
'Media Technology and Society, a History: From the Telegraph to the Internet'
https://archive.org/[...]
Routledge
[65]
서적
The Inventor of Stereo: The Life and Works of Alan Dower Blumlein
Focal Press
[66]
웹사이트
Improvements in or relating to television
http://v3.espacenet.[...]
United Kingdom Intellectual Property Office
[67]
웹사이트
Improvements in and relating to television
http://v3.espacenet.[...]
United Kingdom Intellectual Property Office
[68]
웹사이트
Improvements in or relating to television
http://v3.espacenet.[...]
United Kingdom Intellectual Property Office
[69]
서적
Television Innovations: 50 Technological Developments
Kelly Publications
[70]
서적
Behind the Tube: A History of Broadcasting Technology and Business
https://archive.org/[...]
Focal Press
[71]
서적
Design Methodology and Relationships with Science
Kluwer Academic Publishers
[72]
간행물
Multicon – A New TV Camera Tube
https://worldradiohi[...]
Caldwell-Clements
1953-07
[73]
웹사이트
Prewar Camera Tubes
http://www.earlytele[...]
Early Television Foundation and Museum
2010-01-15
[74]
서적
Image Iconoscope 5854
http://www.jogis-roe[...]
Koninklijke Philips
1952–1958
[75]
논문
The "Plumbicon", a New Television Camera Tube
https://worldradiohi[...]
1962-12-05
[76]
논문
The "Plumbicon", a New Television Camera Tube
https://worldradiohi[...]
1964-07-07
[77]
서적
The Life and Times of A. D. Blumlein
the Institution of Electrical Engineers
[78]
웹사이트
Improvements in or relating to television transmitting systems
http://v3.espacenet.[...]
United Kingdom Intellectual Property Office
2010-03-09
[79]
웹사이트
Improvements in or relating to television transmitting systems
http://v3.espacenet.[...]
United Kingdom Intellectual Property Office
2010-03-09
[80]
웹사이트
Television Transmitting System
https://patents.goog[...]
United States Patent Office
2010-03-09
[81]
웹사이트
Television Transmitting Tube
https://patents.goog[...]
United States Patent Office
2010-03-09
[82]
논문
A review of some television pick-up tubes
1950-11
[83]
웹사이트
Television
https://patents.goog[...]
United States Patent Office
2013-01-15
[84]
백과사전
2020-07-22
[85]
논문
The Tri-alkali Stabilized C.P.S. Emitron: A New Television Camera Tube of High Sensitivity
Academic Press
[86]
웹사이트
Improvements in and relating to television and like systems
http://v3.espacenet.[...]
United Kingdom Intellectual Property Office
2010-03-09
[87]
서적
Electronic Imaging
Academic Press
[88]
백과사전
The National Academies Press
1993
[89]
논문
Albert Rose
1991-12
[90]
웹사이트
Television Transmitting Apparatus and Method of Operation
https://patents.goog[...]
United States Patent Office
2010-01-15
[91]
논문
Television Pickup Tubes and the Problem of Vision
Academic Press
[92]
백과사전
Television
http://encarta.msn.c[...]
Microsoft Corporation
2012-06-29
[93]
문서
Remington Rand Inc., v. U.S.
[94]
웹사이트
RCA 2P23, One of the earliest image orthicons
http://www.aade.com/[...]
[95]
웹사이트
The University of Alabama
http://www.astr.ua.e[...]
[96]
웹사이트
Westinghouse Non-blooming Image Orthicon.
https://web.archive.[...]
[97]
웹사이트
Non-blooming Image Orthicon.
http://oai.dtic.mil/[...]
[98]
웹사이트
History of the Emmy Statuette
http://www.emmys.com[...]
Academy of Television Arts and Sciences
2017-03-14
[99]
서적
Television Technology Demystified: A Non-technical Guide
https://books.google[...]
CRC Press
2014-08-07
[100]
웹사이트
3" image orthicon camera project
http://www.troysvint[...]
[101]
서적
Basic Electronics
https://books.google[...]
Khanna Publishing House
[102]
웹사이트
The Image Orthicon (Television Camera) Tube c. 1940 - 1960
http://www.acmi.net.[...]
[103]
웹사이트
The Image Converter
http://www.fazano.pr[...]
[104]
웹사이트
Morpheus Technology 4.5.1 Camera Tubes
http://www.morpheust[...]
[105]
서적
Vision: Human and Electronic
https://books.google[...]
Springer Science & Business Media
2013-06-29
[106]
간행물
The vidicon-photoconductive camera tube
Electronics
1950-05
[107]
서적
Design Methodology and Relationships with Science
https://books.google[...]
Springer Science & Business Media
1993-03-31
[108]
서적
Measurement, Instrumentation, and Sensors Handbook: Electromagnetic, Optical, Radiation, Chemical, and Biomedical Measurement
https://books.google[...]
CRC Press
2017-12-19
[109]
서적
The RCA Ultricon: An Improved Vidicon Camera Tube for General Closed-Circuit Television Applications
http://www.one-elect[...]
Solid State Division, Radio Corporation of America
1981-10
[110]
서적
Modern Television Practice Principles,Technology and Servicing 2/Ed
https://books.google[...]
New Age International
[111]
서적
Photoelectronic Imaging Devices: Devices and Their Evaluation
https://books.google[...]
Springer Science & Business Media
2013-11-11
[112]
서적
Infrared Technology X
1985
[113]
웹사이트
Heritage TICs EEV P4428 & P4430 Cameras
http://www.fire-tics[...]
[114]
서적
Spacecraft Imaging III: First Voyage into the Planetary Data System
http://planetary.s3.[...]
The Planetary Society
2011-11-23
[115]
웹사이트
Return Beam Vidicon Camera (RBV)
https://nssdc.gsfc.n[...]
National Aeronautics and Space Administration
2017-07-09
[116]
웹사이트
Landsat1
http://landsat.gsfc.[...]
National Aeronautics and Space Administration
2016-03-25
[117]
웹사이트
Landsat 2 History
http://landsat.usgs.[...]
United States Geological Survey
2007-01-16
[118]
웹사이트
Detector, Uvicon, Celescope
https://airandspace.[...]
National Air and Space Museum, Smithsonian Institution
2018-10-30
[119]
서적
Machine Vision
https://archive.org/[...]
the Fairmont Press
1987
[120]
웹사이트
Image Lag | AVAA
http://www.avartifac[...]
[121]
서적
Machine Vision
https://books.google[...]
Springer Science & Business Media
1989-08-31
[122]
서적
Museum, Archive, and Library Security
https://books.google[...]
Butterworth-Heinemann
2014-05-12
[123]
서적
Video Microscopy
https://books.google[...]
Springer
2013-11-11
[124]
웹사이트
Pick-up Tube, the heart of TV Camera
https://lampes-et-tu[...]
[125]
서적
Monochrome and Colour Television
https://books.google[...]
New Age International
2005-12-04
[126]
간행물
The Silicon Diode Array Camera Tube
https://ieeexplore.i[...]
1969-05-06
[127]
웹사이트
PLUMBICON Trademark - Registration Number 0770662 - Serial Number 72173123 :: Justia Trademarks
http://trademarks.ju[...]
[128]
서적
Design Methodology and Relationships with Science
https://books.google[...]
Springer Science & Business Media
1993-03-31
[129]
서적
Behind the Tube: A History of Broadcasting Technology and Business
https://books.google[...]
Taylor & Francis
2023-12-22
[130]
웹사이트
History of Narragansett Imaging
http://www.nimaging.[...]
2012-06-29
[131]
웹사이트
Camera Tubes
http://www.nimaging.[...]
2012-06-29
[132]
웹사이트
Plumbicon Broadcast Tubes
http://www.nimaging.[...]
2012-06-29
[133]
웹사이트
Emmy, 1966 Technology & Engineering Emmy Award
http://64.13.227.18/[...]
[134]
서적
Monochrome and Colour Television
https://books.google[...]
New Age International
2005-12-06
[135]
서적
The Electronics Handbook
https://books.google[...]
CRC Press
2018-10-03
[136]
간행물
The HDTV Demonstrations at Expo 92
https://tech.ebu.ch/[...]
European Broadcasting Union
1993
[137]
서적
Photoelectronic Imaging Devices: Devices and Their Evaluation
https://books.google[...]
Springer Science & Business Media
2013-11-11
[138]
서적
Television Innovations: 50 Technological Developments
https://books.google[...]
Kelly Publications
2006
[139]
웹사이트
EEV Leddicons
https://frank.pocnet[...]
[140]
서적
Television Innovations: 50 Technological Developments
https://books.google[...]
Kelly Publications
2006-02-06
[141]
웹사이트
Journal of Electronic Engineering
https://books.google[...]
Dempa Publications
1984-02-06
[142]
논문
SATICON: A new photoconductive camera tube with Se-As-Te target
https://ieeexplore.i[...]
1974
[143]
웹사이트
Journal of Electronic Engineering
https://books.google[...]
Dempa Publications
1992-02-06
[144]
서적
Television and Video Engineering
McGraw-Hill
1995
[145]
서적
High Definition Television: The Creation, Development, and Implementation of the Technology
McFarland & Company
2012
[146]
논문
High-Gain Avalanche Rushing amorphous Photoconductor (HARP) detector
2009
[147]
논문
Recent Developments of Amorphous Selenium-Based X-Ray Detectors: A Review
2020
[148]
서적
Amorphous Chalcogenides: The Past, Present and Future
https://books.google[...]
Elsevier
2011-09-26
[149]
서적
Image Tubes
Howard W. Sams
1985
[150]
웹사이트
NEWVICON Trademark - Registration Number 1079721 - Serial Number 73005338 :: Justia Trademarks
http://trademarks.ju[...]
[151]
서적
The Camcorder: Use, Care, and Repair
https://books.google[...]
Prentice Hall
1989-02-06
[152]
서적
Video Techniques
https://books.google[...]
Heinemann Professional Pub.
1988-02-06
[153]
웹사이트
TRINICON Trademark - Registration Number 0940875 - Serial Number 72384234 :: Justia Trademarks
http://trademarks.ju[...]
[154]
웹사이트
Sony DXC-1600
http://www.labguyswo[...]
[155]
웹사이트
Toshiba Vidicon Tubes
https://frank.pocnet[...]
[156]
서적
The History of Television, 1942 to 2000
https://books.google[...]
McFarland
2007-09-29
[157]
뉴스
Color Television Achieves Realism
New York Times
1940-09-05
[158]
뉴스
Columbia Broadcasting Exhibits Color Television
1941-01-10
[159]
간행물
CBS Makes Live Pick-up in Color Television
https://worldradiohi[...]
Popular Book Corporation
1941-04
[160]
뉴스
Washington Chosen for First Color Showing; From Ages 4 to 90, Audience Amazed
1950-01-13
[161]
웹사이트
Chromoscopic adapter for television equipment
https://patents.goog[...]
United States Patent Office
2017-04-22
[162]
서적
Encyclopedia of Television
Fitzroy Dearborn
[163]
논문
Historia de la televisión en México
1964
[164]
논문
The Effects of a Strong Magnetic Field upon Electric Discharges in Vacuo
1897
[165]
논문
Berechnung der Bahn von Kathodenstrahlen im axialsymmetrischen elektromagnetischen Felde
1926
[166]
웹사이트
Making (some) sense out of sensor sizes
http://www.dpreview.[...]
2002-10-07
[167]
서적
High Definition Television: Hi-Vision Technology
Springer US
1993
[168]
뉴스
R.C.A. Officials Continue to Be Vague Concerning Future of Television
The Washington Post
1936-11-15
[169]
서적
The History of Television, 1942 to 2000
McFarland
2003
[170]
웹사이트
Emmy Origin
http://www.emmys.tv/[...]
Academy of Television Arts & Sciences
2008-10-14
[171]
서적
X線CT―産業・理工学でのトモグラフィー実践活用
共立出版
[172]
문서
イメージインテンシファイア(I.I.)
http://jp.hamamatsu.[...]
[173]
웹사이트
NHK INFORMATION「技術情報」
https://www.nhk.or.j[...]
2003-11-13
[174]
문서
日立評論2007年4月号 : Professional Report : 超高感度HARPカメラの開発とその応用
http://www.hitachihy[...]
[175]
문서
HEED-HARP撮像板を用いた超高感度カメラ
http://www.ads-img.c[...]
[176]
웹사이트
http://www.digicamhi[...]
[177]
웹사이트
http://www.digicamhi[...]
[178]
웹사이트
https://www.oldradio[...]
본 사이트는 AI가 위키백과와 뉴스 기사,정부 간행물,학술 논문등을 바탕으로 정보를 가공하여 제공하는 백과사전형 서비스입니다.
모든 문서는 AI에 의해 자동 생성되며, CC BY-SA 4.0 라이선스에 따라 이용할 수 있습니다.
하지만, 위키백과나 뉴스 기사 자체에 오류, 부정확한 정보, 또는 가짜 뉴스가 포함될 수 있으며, AI는 이러한 내용을 완벽하게 걸러내지 못할 수 있습니다.
따라서 제공되는 정보에 일부 오류나 편향이 있을 수 있으므로, 중요한 정보는 반드시 다른 출처를 통해 교차 검증하시기 바랍니다.
문의하기 : help@durumis.com