조괘 구동방식
"오늘의AI위키"의 AI를 통해 더욱 풍부하고 폭넓은 지식 경험을 누리세요.
1. 개요
조괘 구동 방식은 모터를 차륜축과 평행하게 배치하고, 모터 축의 기어와 차축의 기어를 맞물려 동력을 전달하는 방식이다. 모터는 차륜축을 중심으로 하는 원주상에서 움직이도록 설치되어 기어의 맞물림을 유지하며, 대차 프레임에 노즈 서스펜션 방식 또는 바 서스펜션 방식으로 부착된다. 이 방식은 구조가 간단하고 제조 비용이 저렴하지만, 스프링 하 질량이 무거워 고속 운전이나 승차감에 단점이 있다. 1885년 프랭크 줄리안 스프레이그에 의해 고안되어 미국에서 최초로 사용되었으며, 이후 세계적으로 보급되었으나, 1950년대 이후 카르단 구동 방식이 등장하면서 전차 분야에서는 쇠퇴하였다. 현재는 특수 협궤 철도, 노면 전차, 그리고 일본의 전기 기관차 및 전기식 디젤 기관차에서 주로 사용된다.
더 읽어볼만한 페이지
- 철도차량공학 - 자동 열차 운전 장치
자동 열차 운전 장치는 열차 운행을 자동 제어하는 시스템으로, 국제 표준에 따라 자동화 수준이 GoA0(수동 운전)부터 GoA4(무인 운전)까지 분류되며, 안전성 및 효율성 향상에 기여하지만 오류 및 인적 실수 가능성도 존재하여 연구 개발이 진행 중이다. - 철도차량공학 - 가공 전차선
가공 전차선은 전기 철도 차량에 전력을 공급하는 상부 전선 시스템으로, 트롤리선, 조가선, 행어 등으로 구성되며 다양한 가선 방식과 장력 조절 장치가 존재하고 외부 요인에 의한 고장 위험과 시각 공해 등의 문제도 고려되어야 한다.
| 조괘 구동방식 | |
|---|---|
| 개요 | |
| 명칭 | 조괘 구동 방식 |
| 로마자 표기 | Jogyoe Gudong Bangsik |
| 영어 명칭 | Nose-suspended traction |
| 일본어 명칭 | 吊り掛け駆動方式 (Tsurikake Kudō Hōshiki) |
| 작동 원리 | |
| 구동 방식 | 전기 모터의 회전력을 기어를 통해 차축에 전달하는 방식 |
| 모터 지지 방식 | 모터의 한쪽은 전동차의 대차에 연결 다른 한쪽은 차축에 직접 연결 |
| 하중 지지 | 모터의 무게 일부가 차축에 직접 전달 |
| 특징 | |
| 장점 | 구조가 간단하고 제작 비용이 저렴 |
| 단점 | 소음과 진동이 심함 윤활 관리가 어려움 고속 운전에 부적합 |
| 설명 | 모터의 회전력이 기어를 거쳐 차축으로 전달될 때, 기어의 백래시와 모터의 토크 변동으로 인해 차축이 흔들림 이로 인해 소음과 진동이 발생하고 승차감이 저하됨 차축에 직접 하중이 가해지므로 유지 보수가 중요함 |
| 사용 | |
| 적용 시기 | 초창기 전기 철도 차량에 널리 사용 기술 발전으로 인해 다른 구동 방식으로 대체되는 추세 |
| 사용 사례 | 일본국유철도의 72계 전동차 게이한 전기 철도의 1800계 전동차 긴키 닛폰 철도의 680계 전동차 |
| 대체 기술 | 가동대차식 구동 방식 중공축 가동대차 구동 방식 (TD 드라이브) 최종 감속기 평행 구동 방식 (병행 축 구동 방식) |
2. 기본 구성
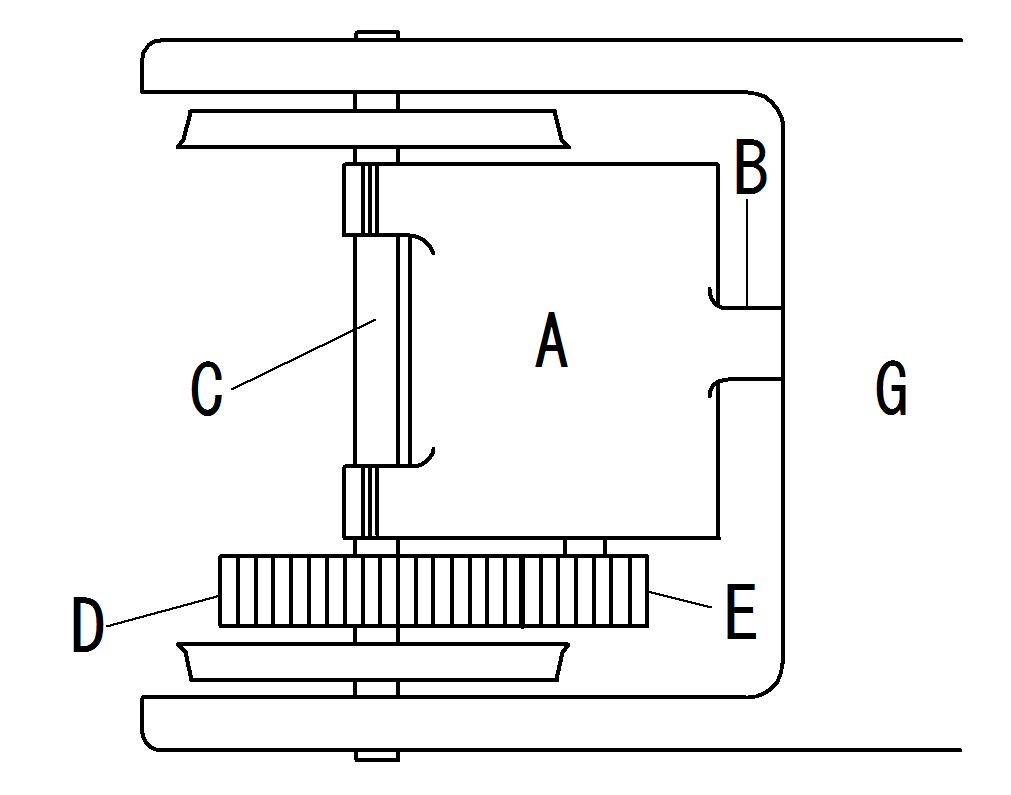
츠리카케 구동 방식은 모터를 차축과 평행하게 배치하고, 모터 축의 소형 기어(평기어)와 차축의 대형 기어를 맞물려 동력을 전달한다.[2] 이때, 모터 자체를 차륜축을 중심으로 하는 원주상에서 움직이도록 설치하여 양쪽 기어의 맞물림을 유지한다. 즉, 모터 축과 차륜축의 거리를 일정하게 유지하는 것이 이 방식의 핵심이다.
모터 본체의 차륜축 측 부분은 평 베어링에 해당하는 액슬 메탈이나 롤링 베어링을 통해 차륜축에 부착된다. 모터 본체의 반대쪽에는 노즈 또는 바가 설치되어 대차 프레임의 가로보를 지지하는 형태로 부착된다. 모터는 차륜축과의 위치 관계가 액슬 메탈 또는 롤링 베어링에 의해 원주상을 움직일 뿐이므로 상대적인 거리는 일정하며, 모터의 소형 기어와 차륜축의 대형 기어는 항상 맞물린 상태가 된다.
대차 프레임의 가로보 부분의 부착 지지 방식에는 노즈 서스펜션 방식과 바 서스펜션 방식 두 가지가 있다.
- 노즈 서스펜션 방식: 모터의 한쪽 끝에 설치된 돌기(노즈)를 대차 프레임의 가로보에 고정하는 방식이다. 대차 프레임과 노즈 사이에는 스프링이나 방진 고무를 끼워 차축의 편위에 대응한다. 대형 철도 차량에 많이 사용된다.

[[File:Nose-Suspention-Drive-TRT-1700.jpg|thumb|250px| 노즈 서스펜션 방식의 吊り掛け 모터의 예 (영단 1800형 전차 (지하철 박물관))]
- 바 서스펜션 방식: 모터의 한쪽 끝에 막대 모양의 부품(바)을 붙이고, 이 바를 대차 프레임의 가로보에 고정하는 방식이다. 대차 프레임과 바 사이에는 스프링을 끼운다. 축거가 짧은 대차의 경우에 유리하며, 주로 노면 전차, 경편 철도에서 많이 사용되었다. 에노시마 전철, 하코네 등산 철도 (현 · 오다큐 하코네) 등 비교적 소형 차량을 사용하는 철도에서 사용되었지만, 대형 전차에서는 소수파이다.[4]
어느 방식이든 모터는 차륜축과 대차 프레임 사이에 가교된 상태, 즉 차륜축과 대차 프레임에 매달린 형태가 된다. "吊り掛け (쓰리카케)"라는 호칭은 여기에서 유래한다.
2. 1. 노즈 서스펜션 방식
2. 2. 바 서스펜션 방식
3. 장점과 단점
3. 1. 장점
조괘 구동방식은 구조가 간단하여 분해 및 조립이 용이하고,[2] 제조 비용이 저렴하다는 장점이 있다. 모터가 차륜에 직접 매달려 있는 구조이므로 진동이 발생하더라도 모터의 구동축이 차륜을 중심으로 하는 원 위를 이동할 뿐, 차륜과 모터의 톱니바퀴 사이 거리는 변하지 않는다. 또한 대형 모터에도 대응하기 쉽고, 공간 제약이 있는 협궤 철도에서도 사용하기 쉽다.3. 2. 단점
스프링 하 질량이 무거워 궤도에 충격을 줄 수 있지만, 그 영향은 미미하다. 반대로 궤도로부터 대차·차체나 모터 자체에 대한 충격이 우려된다.[2] 이 때문에 고속 운전에는 단점이 있고,[5] 승객에게는 승차감이 나빠진다.[1] 吊り掛け 구동용 모터는 충격에 견디기 위해 튼튼하게 제작해야 하므로 무게, 스프링 하 중량이 증가하여 더욱 충격이 강해진다.구동용 모터 및 톱니바퀴의 진동은 가속 시 노즈를 통해 대차 틀로 전달되어 특유의 소음을 발생시킨다. 모터 본체와 차축 사이의 마찰 부분이나 톱니바퀴 등은 큰 토크에 의한 부하와 모터의 무거운 무게에 기인하는 큰 충격 때문에 소모되기 쉽고, 기어 박스를 밀폐할 수 없기 때문에 유지 보수에 대한 고려가 필요하다.[6] 유지 보수 주기는 카르단 구동 방식에 비해 짧지만, 총 운용 비용은 궤간이나 궤도 상태에 따라 카르단 방식이 우위에 있다고 할 수 없는 경우도 있다.
모터 본체와 차축 사이 마찰 부분의 액슬 메탈 마모로 인해 맞물림 정밀도가 저하되므로 톱니바퀴에는 유격이 크게 설정되어 있다. 톱니바퀴의 톱니도 강도 유지를 위해 대형을 사용해야 하며, 작은 톱니바퀴를 소경으로 하여 감속비를 크게 하는 것이 어려워 모터의 고속 회전화가 어렵다.[7] 이 때문에 저회전·대토크형 모터를 사용하게 되며, 모터 자체가 커지기 쉽다.[7] 이 메커니즘은 기관차에서는 문제가 되지 않지만, 소음과 진동이 커진다. 톱니 면끼리의 타격음이 커지기 쉬우며, 역행이나 전기 제동과 같은 부하가 걸릴 때에는 吊り掛け식 특유의 격렬한 소음을 내며, 관성 주행 시에도 타격음이 발생한다.
최근에는 차축 장착 베어링에 미끄럼 베어링 대신 구름 베어링인 롤러 베어링이 도입되고, 액슬 메탈이나 노즈가 고무로 완충되기도 하며, 톱니바퀴에서도 재질, 소입, 톱니 형태와 각도, 백래시 최적화 등이 시도되고 있다. 그 결과, 마모·소모·소음 억제가 이루어지고 있지만, 스프링 하 중량이 커지는 구조라는 근본적인 제약을 극복하기에는 이르지 못했다.
일본과 달리 허용 축중이 큰 유럽 제국 및 남아프리카 등에서는 스프링 하 질량 증가에 대해 궤도에 여유가 있어 이 점이 결점이 되지 않는 경우도 있다. 액슬 롤러 방식의 경우, 톱니바퀴 중심 간 거리도 정확하게 유지되며, 원추 롤러 베어링을 사용하면 스러스트 하중도 부담할 수 있기 때문에 톱니바퀴에 맞물림률이 좋은 헬리컬 기어(엇갈린 톱니바퀴)를 사용할 수 있어 소음 등은 일본의 吊り掛け식과는 전혀 다른 세련된 형태가 된다.
4. 역사
에디슨 연구소 출신의 미국 발명가 프랭크 줄리안 스프레이그(Frank Julian Sprague, 1857년 - 1934년)가 1880년에 트롤리 폴을 고안한 후, 1885년에 조괘 구동방식을 고안하고, 1888년에 이를 조합한 노면 전차를 버지니아주리치먼드에서 운전을 시작한 것이 최초이다. "스프레이그 방식"이라고 불리기도 한다. 스프레이그는 직류 전동기의 토크 변동을 작게 하거나 총괄 제어의 고안자이기도 하다.[8][9]
간결한 시스템으로 당시에는 신뢰성이 높았기 때문에 단기간에 세계적으로 보급되었다. 그러나 발상지인 미국에서는 1930년대에 PCC 카 등의 고성능 전차가 개발된 데다가, 1940-1950년대에 뉴욕 등의 지하철 전차를 제외하고 고속 전차 자체가 쇠퇴하여 일반 영업 노선에는 거의 남아 있지 않다. 다만, 미국 국내에서는 전차의 동태 보존을 하는 박물관이 여러 곳 존재하기 때문에 승차 기회는 남아 있다. 또한 뉴올리언스 시내에서는 吊り掛け(츠리카케) 구동 방식의 브릴사 (Brill) 제 구형 노면 전차가 영업 운전을 계속하고 있다.
그러나 21세기 초에도 유럽을 중심으로 전차의 구동 방식의 주류를 吊り掛け(츠리카케) 구동 방식이 담당하는 국가가 많이 존재한다. 대표적인 예로는 영국, 네덜란드, 벨기에, 덴마크, 오스트리아 등이 있으며, 주로 도시 근교 전철을 중심으로 존재한다. 이 외에도 일본과 유사한 1067mm 궤간에 규격도 근사한 대만에서도 특급 "자강호"용 전차를 필두로 吊り掛け(츠리카케) 구동 방식 전차가 다수 재적하고 있다.
독일에서는 전기 기관차, 전차 모두 중공축 가요 吊り掛け(츠리카케) 구동 방식이 주류이다.
4. 1. 한국에서의 역사
1890년 이미 吊り掛け(츠리-카케, 서스펜션) 구동 방식의 스프레이그식 노면전차가 일본에 도입되어, 도쿄 우에노 공원에서 열린 제2회 내국권업박람회에 출품되었다. 1895년 등장한 일본 최초의 전차 (교토 전기 철도, 후의 교토 시영 전차)도 이 방식이었으며, 이후 전차・전기 기관차에서 거의 유일한 구동 방식으로 널리 보급되었다.초기에는 吊り掛け(츠리-카케, 서스펜션)식 모터는 미국과 영국으로부터의 수입에 의존했지만, 제1차 세계 대전으로 인한 수입 중단을 계기로 1917년 이후 국산화가 진행되었고, 1920년대 중반에는 라이선스 생산이지만 거의 국산화에 성공한다. 1927년에는 전차용 150kW형, 1928년에는 전기 기관차용 225kW형을 국산 개발하기에 이른다.
그러나, 吊り掛け(츠리-카케, 서스펜션) 구동 방식은 앞서 언급한 단점으로 인해 전차 성능 향상의 제약이 되기도 했다.
전차 분야에서의 쇠퇴1950년대 이후, 카르단 구동 방식이 유럽과 미국의 전기차에서 실용화된 데 이어 일본의 전차에도 도입되었다.[10] 특히, 수송력 증강을 위해 대형 사철들이 전차의 성능 향상에 힘쓰면서 카르단 구동 방식의 보급이 이루어졌다. 1951년경부터 카르단 구동 방식의 시험이 시작되었고, 1953년에는 게이한 전기 철도, 토부 철도, 오사카시 교통국(오사카 시전), 도쿄도 교통국(도덴), 제도고속도교통영단(현·도쿄 지하철)이 카르단 구동 방식의 신차를 제조, 이후 다른 대형 사철과 공영 철도에서도 카르단 구동을 채용했다. 일본국유철도도 1958년 이후 고속 주행 성능, 승차감, 소음을 개선할 수 있는 카르단 구동 방식의 신성능 전차로 전환했다.
1960년대 후반 이후, 겉보기 구동의 전차는 일부 특수한 경우를 제외하고는 신규 제조되지 않게 되었다.[10] 1980년대에는 대부분 카르단 구동으로 전환되어 현재는 겉보기 방식을 신규 채용하는 철도 회사는 없다.

1067mm 보통 철도 마지막 겉보기 방식의 완전 신조 전차는 1983년 제조의 에노덴 1200형이다.
지쿠호 전기 철도 3000형 전차는 최근 가와사키 중공업 제 대차로 교환되었지만, 구동 장치는 겉보기 구동 그대로이다.
2014년 현재, JR에서는 사업용 차량을 포함하여 모든 운용을 종료했다. 대형 사철에서도 메이테츠 세토선에서 사용되던 6750계가 2011년 4월에 전폐되었다.
차체 갱신차구형 전동차의 주행 장치는 비교적 튼튼하게 설계·제조되어 차체에 비해 수명이 길다. 오래전부터 비용 절감을 위해 이러한 주행 장치를 유용하여 차체를 새로 제작한 '차체 갱신차'가 제조되어 왔다.
1970년대 이후에도 일부 사철에서, 덧붙여, 갓 얹은 구동 방식의 구형 차량에서 주행 장치를 유용하여 '차체 갱신차'를 제조하고 있으며, 1980년대 이후에도 도부 철도나 나고야 철도 등에서 제조된 사례가 있다.
특수 협궤762mm 궤간 등 특수 협궤선에서는 공간 문제로 카르단 구동 방식이 널리 보급되지 않았으며, 2023년 시점에서도 특수 협궤선에서 운행되는 전동차(요카이치 아스나로 철도, 산기 철도 호쿠세이 선)는 모든 차량이 조괘 구동 방식이다.
과거에는 특수 협궤선에서도 수직 카르단이나 차체 장착 카르단과 같은 조괘 구동 방식 이외의 차량이 만들어졌으나, 모두 폐차 또는 전장 해제되어 현존하지 않는다.
노면 전차노면전차는 고속 주행을 필요로 하지 않고, 구조가 간편하며, 차륜 바깥쪽에 주 전동기를 매다는 방식으로 대차 축간 거리를 극단적으로 단축할 수 있기 때문에, 후년까지 조괘식이 많이 채용되었다.
현재 일본의 노면전차 사업자 대부분은 경영 기반이 취약하여, 신차 투입 시에도 비용을 억제할 필요가 있었기 때문에, 최근까지도 차량 신조 시에 구식 조괘식 구동차에서 기기를 유용하는 차체 갱신차가 주력을 차지하고 있었다. 따라서, 경쾌 전차형의 현대적인 차체이면서, 조괘식 구동의 동력을 가진 차체 갱신차가 주력을 차지하고 있는 노선도 적지 않다 (오카야마 전기 궤도, 나가사키 전기 궤도, 게이후쿠 전기 철도 등).
하지만, 소형 전동기의 등장과 저비용화에 더해, 현재는 각지에서 초저상 노면전차의 도입이 조금씩 진행되면서, 그 대신 조괘식 차량의 폐차도 진행되고 있다. 노면전차형 저상차를 사용하는 사업자 중에는, 현재도 조괘식 차량을 주류로 하는 예도 몇몇 있지만, 그러한 사업자도 조괘식 차량의 완전 신규 제조는 하고 있지 않다.
노면전차에서 최신 조괘식 구동차는, 2020년 제작된 하코다테시 기업국 교통부 7000형 전차이다. 또한 2002년 제작된 하코다테 시 교통국 8100형 전차는, 일본에서 유일한 조괘식 구동식 초저상차 (부분 저상)이다. 어느 쪽이든 완전 신조가 아닌, 폐차된 구형 차량의 기기류를 전용한 차체 갱신차이다.
일본의 노면전차 (궤도 사업자)의 대부분은 조괘식 구동차를 주력으로 소유하고 있다. 조괘식 구동차의 운용이 없는 노면전차 노선은, 도덴 아라카와선, 도큐 세타가야선, 도야마 지방 철도 (도야마 항선), 게이한 오쓰선, 후쿠이 철도와, 2023년에 개업한 우츠노미야 라이트 레일 뿐이다.
기관차일본의 전기 기관차나 전기식 디젤 기관차에서는 21세기 현재까지도 조괘식이 주류 구동 방식이다. EH800형에서도 조괘식이 채용되었다. 대출력이 필요한 기관차의 경우, 탑재하는 모터가 대형화되고 대출력이 되기 때문에, 이에 따른 구동력을 차륜에 전달하기 위해서는, 구조가 단순한 조괘 구동 방식이 내구성과 신뢰성이 높다고 판단되었기 때문이다.
국철 및 JR 화물의 경우, 1950~60년대에 걸쳐 퀼식으로 전환하려는 움직임도 있었지만, 부진한 성적으로 끝나 조괘식으로 되돌아간 경위가 있다. 그 후에는 기술적인 사정으로 EF66형 (중공축 가요 매달기 구동 방식), EF80형 (평행 카르단 구동), EF30형 (WN 이음매 구동 방식), EF200형 (링크식)이 각각 다른 구동 방식을 채용했지만, 협궤 철도에서 대출력 모터를 사용하는 경우에는, 단순한 구조의 조괘식이 우수하여, 현재도 널리 사용되고 있다.
4. 1. 1. 전차 분야에서의 쇠퇴
1950년대 이후, 카르단 구동 방식이 유럽과 미국의 전기차에서 실용화된 데 이어 일본의 전차에도 도입되었다.[10] 특히, 수송력 증강을 위해 대형 사철들이 전차의 성능 향상에 힘쓰면서 카르단 구동 방식의 보급이 이루어졌다. 1951년경부터 카르단 구동 방식의 시험이 시작되었고, 1953년에는 게이한 전기 철도, 토부 철도, 오사카시 교통국(오사카 시전), 도쿄도 교통국(도덴), 제도고속도교통영단(현·도쿄 지하철)이 카르단 구동 방식의 신차를 제조, 이후 다른 대형 사철과 공영 철도에서도 카르단 구동을 채용했다. 일본국유철도도 1958년 이후 고속 주행 성능, 승차감, 소음을 개선할 수 있는 카르단 구동 방식의 신성능 전차로 전환했다.1960년대 후반 이후, 겉보기 구동의 전차는 일부 특수한 경우를 제외하고는 신규 제조되지 않게 되었다.[10] 1980년대에는 대부분 카르단 구동으로 전환되어 현재는 겉보기 방식을 신규 채용하는 철도 회사는 없다.
1067mm 보통 철도 마지막 겉보기 방식의 완전 신조 전차는 1983년 제조의 에노덴 1200형이다.
지쿠호 전기 철도 3000형 전차는 최근 가와사키 중공업 제 대차로 교환되었지만, 구동 장치는 겉보기 구동 그대로이다.
2014년 현재, JR에서는 사업용 차량을 포함하여 모든 운용을 종료했다. 대형 사철에서도 메이테츠 세토선에서 사용되던 6750계가 2011년 4월에 전폐되었다.
4. 1. 2. 차체 갱신차
구형 전동차의 주행 장치는 비교적 튼튼하게 설계·제조되어 차체에 비해 수명이 길다. 오래전부터 비용 절감을 위해 이러한 주행 장치를 유용하여 차체를 새로 제작한 '차체 갱신차'가 제조되어 왔다.1970년대 이후에도 일부 사철에서, 덧붙여, 갓 얹은 구동 방식의 구형 차량에서 주행 장치를 유용하여 '차체 갱신차'를 제조하고 있으며, 1980년대 이후에도 도부 철도나 나고야 철도 등에서 제조된 사례가 있다.
4. 1. 3. 특수 협궤
762mm 궤간 등 특수 협궤선에서는 공간 문제로 카르단 구동 방식이 널리 보급되지 않았으며, 2023년 시점에서도 특수 협궤선에서 운행되는 전동차(요카이치 아스나로 철도, 산기 철도 호쿠세이 선)는 모든 차량이 조괘 구동 방식이다.과거에는 특수 협궤선에서도 수직 카르단이나 차체 장착 카르단과 같은 조괘 구동 방식 이외의 차량이 만들어졌으나, 모두 폐차 또는 전장 해제되어 현존하지 않는다.
4. 1. 4. 노면 전차
노면전차는 고속 주행을 필요로 하지 않고, 구조가 간편하며, 차륜 바깥쪽에 주 전동기를 매다는 방식으로 대차 축간 거리를 극단적으로 단축할 수 있기 때문에, 후년까지 조괘식이 많이 채용되었다.현재 일본의 노면전차 사업자 대부분은 경영 기반이 취약하여, 신차 투입 시에도 비용을 억제할 필요가 있었기 때문에, 최근까지도 차량 신조 시에 구식 조괘식 구동차에서 기기를 유용하는 차체 갱신차가 주력을 차지하고 있었다. 따라서, 경쾌 전차형의 현대적인 차체이면서, 조괘식 구동의 동력을 가진 차체 갱신차가 주력을 차지하고 있는 노선도 적지 않다 (오카야마 전기 궤도, 나가사키 전기 궤도, 게이후쿠 전기 철도 등).
하지만, 소형 전동기의 등장과 저비용화에 더해, 현재는 각지에서 초저상 노면전차의 도입이 조금씩 진행되면서, 그 대신 조괘식 차량의 폐차도 진행되고 있다. 노면전차형 저상차를 사용하는 사업자 중에는, 현재도 조괘식 차량을 주류로 하는 예도 몇몇 있지만, 그러한 사업자도 조괘식 차량의 완전 신규 제조는 하고 있지 않다.
노면전차에서 최신 조괘식 구동차는, 2020년 제작된 하코다테시 기업국 교통부 7000형 전차이다. 또한 2002년 제작된 하코다테 시 교통국 8100형 전차는, 일본에서 유일한 조괘식 구동식 초저상차 (부분 저상)이다. 어느 쪽이든 완전 신조가 아닌, 폐차된 구형 차량의 기기류를 전용한 차체 갱신차이다.
일본의 노면전차 (궤도 사업자)의 대부분은 조괘식 구동차를 주력으로 소유하고 있다. 조괘식 구동차의 운용이 없는 노면전차 노선은, 도덴 아라카와선, 도큐 세타가야선, 도야마 지방 철도 (도야마 항선), 게이한 오쓰선, 후쿠이 철도와, 2023년에 개업한 우츠노미야 라이트 레일 뿐이다.
4. 1. 5. 기관차
일본의 전기 기관차나 전기식 디젤 기관차에서는 21세기 현재까지도 조괘식이 주류 구동 방식이다. EH800형에서도 조괘식이 채용되었다. 대출력이 필요한 기관차의 경우, 탑재하는 모터가 대형화되고 대출력이 되기 때문에, 이에 따른 구동력을 차륜에 전달하기 위해서는, 구조가 단순한 조괘 구동 방식이 내구성과 신뢰성이 높다고 판단되었기 때문이다.국철 및 JR 화물의 경우, 1950~60년대에 걸쳐 퀼식으로 전환하려는 움직임도 있었지만, 부진한 성적으로 끝나 조괘식으로 되돌아간 경위가 있다. 그 후에는 기술적인 사정으로 EF66형 (중공축 가요 매달기 구동 방식), EF80형 (평행 카르단 구동), EF30형 (WN 이음매 구동 방식), EF200형 (링크식)이 각각 다른 구동 방식을 채용했지만, 협궤 철도에서 대출력 모터를 사용하는 경우에는, 단순한 구조의 조괘식이 우수하여, 현재도 널리 사용되고 있다.
참조
[1]
서적
"[超図解]鉄道車両を知りつくす"
学習研究社
[2]
서적
鉄道車両の科学
ソフトバンククリエイティブ
[3]
서적
JIS E 4001 鉄道車両―用語
[4]
문서
[5]
문서
[6]
문서
[7]
문서
[8]
문서
[9]
문서
[10]
문서
본 사이트는 AI가 위키백과와 뉴스 기사,정부 간행물,학술 논문등을 바탕으로 정보를 가공하여 제공하는 백과사전형 서비스입니다.
모든 문서는 AI에 의해 자동 생성되며, CC BY-SA 4.0 라이선스에 따라 이용할 수 있습니다.
하지만, 위키백과나 뉴스 기사 자체에 오류, 부정확한 정보, 또는 가짜 뉴스가 포함될 수 있으며, AI는 이러한 내용을 완벽하게 걸러내지 못할 수 있습니다.
따라서 제공되는 정보에 일부 오류나 편향이 있을 수 있으므로, 중요한 정보는 반드시 다른 출처를 통해 교차 검증하시기 바랍니다.
문의하기 : help@durumis.com