먹장어
"오늘의AI위키"의 AI를 통해 더욱 풍부하고 폭넓은 지식 경험을 누리세요.
1. 개요
먹장어는 턱이 없고 몸이 가늘고 긴 무악류로, 뱀장어와 유사한 외형을 가지며, 피부는 점액으로 덮여 있다. 갯지렁이 등을 먹고 살며, 꼼치과에 속하는 여러 종을 포함한다. 대한민국에서 식용으로 널리 소비되며, 가죽은 '일스킨'이라는 이름으로 가죽 제품에 사용된다. 꼼치의 점액 실은 초고강도 섬유로 활용될 가능성이 연구되고 있다.
더 읽어볼만한 페이지
- 먹장어과 - 태평양먹장어
태평양먹장어는 칠성장어강 먹장어목에 속하는 어류로, 긴 원통형 몸, 매끄러운 피부, 다양한 색깔을 가지며, 점액질 분비, 퇴화된 눈, 북아메리카 태평양 연안 서식, 물고기 사체 섭취, 혐기성 환경 생존, 몸을 묶는 행동, 뱀장어 유사 수영, 가죽 생산 및 식용, 연구 목적 이용 등의 특징을 가진다. - 태평양의 물고기 - 송어
송어는 연어과에 속하며 흑색 반점을 가진 어류로, 강해형과 육봉형이 있으며 동해안에서 어업 대상이며, 개체 수 감소로 보전 노력이 필요한 종이다. - 태평양의 물고기 - 연어
연어는 태평양과 북극해에 분포하며 강에서 태어나 바다에서 성장 후 산란을 위해 다시 강으로 돌아오는 어류로, 몸 색깔이 변하고 기름지느러미가 있으며 물렁뼈 비중이 높은 골격 구조를 가진 중요한 수산 자원이지만, 개체 수 감소가 심각한 문제이다. - 콘스턴틴 새뮤얼 라피네스크가 명명한 분류군 - 해마 (동물)
해마는 말과 유사한 생김새를 가진 물고기로, 수컷이 알을 품는 독특한 생식 방식을 가지며, 전 세계 열대 및 온대 해역에 분포하고 멸종 위기에 처해 CITES 규제를 받는다. - 콘스턴틴 새뮤얼 라피네스크가 명명한 분류군 - 전갱이과
전갱이과는 전갱이목에 속하는 물고기 과로, 몸길이와 형태가 다양하며 전 세계 열대 및 온대 해역에 분포하고, 식용으로 어획되는 종들이 있으며, 4개의 아과와 30여 개의 속으로 나뉜다.
| 먹장어 - [생물]에 관한 문서 | |
|---|---|
| 지도 정보 | |
| 기본 정보 | |
![]() | |
| 학명 | Myxinidae |
| 명명자 | Rafinesque, 1815 |
| 모식종 | Myxine glutinosa |
| 모식종 명명자 | Linnaeus, 1758 |
| 이명 | Bdellostomatidae Gill, 1872 Homeidae Garman, 1899 Paramyxinidae Berg, 1940 Diporobranchia Latreille, 1825 |
| 분류 정보 | |
| 계 | 동물계 |
| 문 | 척삭동물문 |
| 아문 | 척추동물아문 |
| 상강 | 무악구상강 |
| 강 | 누타우나기강 |
| 목 | 누타우나기목 |
| 과 | 누타우나기과 |
| 하위 분류 | † Myxinikela Bardack 1991 † Tethymyxine Miyashita et al. 2019 Rubicundinae Fernholm et al., 2013 Rubicundus Fernholm et al., 2013 Eptatretinae Bonaparte, 1850 Eptatretus Cloquet, 1819 Myxininae Nelson, 1976 Myxine Linnaeus, 1758 Nemamyxine Richardson, 1958 Neomyxine Richardson, 1953 Notomyxine Nani & Gneri, 1951 |
| 생물학적 특징 | |
| 특징 | 몸이 길고 뱀장어처럼 생김 점액을 생산함 |
| 생존 시기 | 석탄기 후기 ~ 현재 |
| 발음 | |
2. 형태
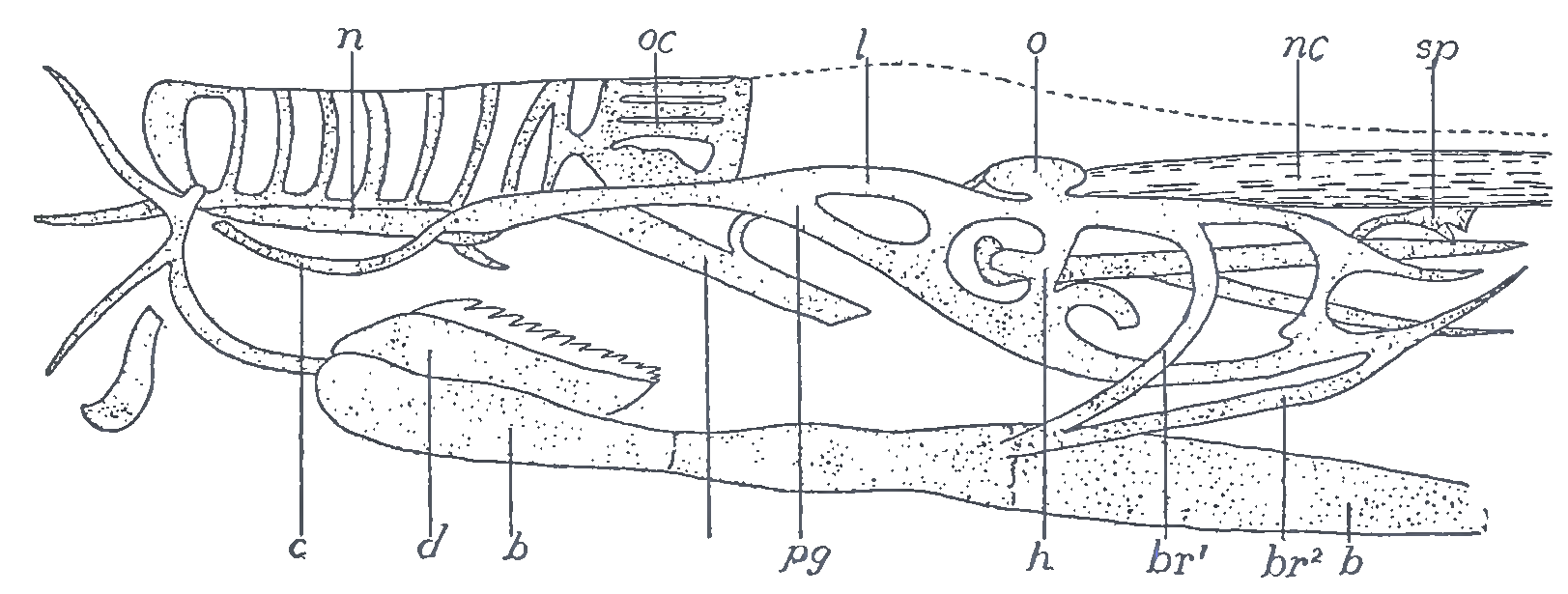
먹장어의 몸길이는 55-60cm이다. 몸은 가늘고 긴 통 모양으로 뱀장어와 비슷하며 몸빛은 다갈색부터 검은색까지 다양하다. 눈은 퇴화하여 약한 빛만을 감지할 수 있는데, 껍질 밑에 묻혀 있으므로 밖에서는 보이지 않는다.[78] 겉보기에는 뱀장어와 비슷하지만, 무악류에 공통적으로 나타나는 턱이 없다는 중요한 특징이 있다. 몸은 가늘고 길며, 피부는 점액(누타라고 불림)으로 덮여 있다.[6] 바깥콧구멍이 입술 끝에 있다. 입가에는 2쌍~4쌍의 감각촉수가 있어 퇴화한 눈의 감각을 대신한다. 3~4쌍의 수염을 가지고 있다. 골격은 거의 연골로 이루어져 있으며, 몸은 매우 유연하다. 혀에는 날카롭고 단단한 한 개의 가운뎃니가 있다. 혀는 잘 발달된 육질(肉質)로서 빗 모양의 치설(齒舌)이 나 있다. 몸의 전면에 두 줄의 점액선(粘液腺)에서 점액이 분비되므로 표면이 매끄럽다. 등지느러미는 없고 꼬리지느러미만 있다. 아가미의 수는 종마다 한 쌍~16쌍까지 다양하다. 몸 양쪽에 1~16쌍의 아가미구멍이 있다. 지느러미는 꼬리지느러미뿐이며, 배지느러미·가슴지느러미 등의 쌍지느러미는 없다. 소뇌가 없다.
먹장어는 보통 얕은 바다에 살며 깊이 5-7m의 내만에 많고, 밤에 민첩하게 활동한다. 이가 난 혀를 이용하여 죽어가거나 죽은 물고기 속으로 파고들어가 살을 파먹는다.[52] 산란기는 8-10월이며 극난할(極卵割)을 한다. 매듭을 짓는 듯한 동작은 먹이를 떼어내거나 몸에 잔류하는 점액을 제거하기 위한 것이다.[12]
## 분류
입 주위에는 이빨이 없지만, 혀 위에는 치상돌기가 있어 대형 어류에 부착하여 내부를 침식한다. 꼼치는 뱀장어처럼 길고 가늘며 노 모양의 꼬리를 가지고 있다. 피부는 헐렁한 양말처럼 몸을 감싸고 있으며 비늘이 없다. 일반적으로 흐릿한 분홍색이며 벌레와 매우 흡사하다. 꼼치는 연골로 된 두개골(하지만 뇌를 둘러싼 부분은 주로 섬유질 막으로 구성됨)과 케라틴으로 구성된 이빨 모양의 구조를 가지고 있다. 색깔은 종에 따라 분홍색에서 청회색까지 다양하며, 검은색이나 흰색 반점이 있는 경우도 있다. 눈은 이미지를 식별할 수 있는 렌즈가 없는 단순한 눈점이다. 꼼치는 진짜 지느러미가 없고 입 주위에 6개 또는 8개의 수염과 하나의 콧구멍이 있다.[6] 꼼치의 입에는 연골판 위에 두 쌍의 딱딱하고 빗 모양의 이빨이 있으며, 이 이빨들은 앞뒤로 움직여 먹이를 잡고 인두 쪽으로 끌어들인다.[6]
눈은 퇴화하여 피부에 파묻혀 있기 때문에 시력이 매우 약하거나 없다고 생각된다. 안구에는 수정체가 없으며, 특히 심해에 서식하는 실뱀장어속에서는 망막의 발달이 나쁜 경우가 많다. 눈을 덮는 피부는 색소가 부족하여 희끄무레하게 보인다.[78]
몸 옆면에는 점액 방출구(70~200개)가 일렬로 늘어서 있으며, 꼼치 고유의 점액선(누타선이라고 불림)에서 흰색 실 모양의 점액을 방출한다. 꼼치의 피부는 등 중앙선과 점액선을 따라서만 몸에 붙어 있으며, 몸의 혈액량의 약 1/3에 달하는 혈액으로 채워져 있어 마치 혈액으로 가득 찬 주머니처럼 보인다. 이것은 포식자의 공격으로부터 생존하기 위한 적응으로 추정된다.[7]
3. 습성
꼼치는 특수한 점액샘에서 젖빛의 섬유질 점액을 다량 분비한다.[5] 이 점액은 바닷물에 분비되면 0.4초 만에 원래 크기의 1만 배로 팽창하며,[10] 매우 가는 섬유로 이루어져 있어 다른 동물의 점액보다 더 견고하고 보수력이 높다.[11] 포식자에게 잡히면 다량의 점액을 분비하여 탈출하며,[12] 엇갈린 매듭을 짓고 머리에서 꼬리 방향으로 몸을 움직여 점액을 벗겨내 포식자로부터 벗어난다.[13] 꼼치 점액의 점도는 신장 흐름에서 증가하여 흡입 먹이를 섭취하는 어류의 아가미 막힘을 유발하지만, 전단에서는 감소하여 이동 매듭에 의한 점액 제거를 용이하게 한다.[13]

최근 연구에 따르면, 점액은 각질과 유사한 중간 섬유가 샘사상세포에서 분비되어 물을 가두어 단순한 젤이 아닌 서서히 소멸되는 점탄성 물질을 생성한다. 이는 포식 어류의 아가미 기능을 손상시켜 호흡을 마비시키고, 포식자는 질식을 피하기 위해 꼼치를 놓아준다. 점액 때문에 꼼치를 노리는 바다 포식자는 거의 없으며, 다른 포식자로는 여러 종류의 조류나 포유류가 있다.[14] 자유롭게 헤엄치는 꼼치도 자극을 받으면 점액을 분비하고, 나중에 같은 이동 매듭 행동을 이용하여 점액을 제거한다.[15][16]
꼼치 점액의 실 형태 각질은 거미줄의 대안으로 방탄복과 같은 용도로 연구되고 있다.[17] 꼼치 점액의 알파-각질 단백질은 늘어날 때 α-나선 구조에서 더 단단한 베타 시트 구조로 변형된다.[18]
해저 또는 해저 근처의 다모류 갯지렁이가 주요 먹이원이지만,[53] 꼼치는 자신보다 훨씬 큰 죽거나 죽어가는/부상당한 바다 생물의 사체를 먹고 심지어 사체에 들어가 내장을 꺼낼 수도 있다.[52] 꼼치는 피부와 아가미를 통해 용해된 유기물을 흡수할 수 있으며, 이는 청소 동물의 생활 방식에 대한 적응일 수 있다.[53] 거머리처럼 신진대사가 느리고 먹이 섭취 사이에 몇 달 동안 생존할 수 있지만,[54][55] 먹이 섭취 행동은 매우 활발해 보인다. 여러 종의 위 내용물 분석 결과 다모류, 새우, 소라게, 두족류, 뱀별, 경골어류, 상어, 조류, 고래 고기 등 다양한 먹이가 발견되었다.[56]
사육 상태에서 꼼치는 역방향(꼬리에서 머리 방향)으로 몸을 묶는 행동을 이용하여, 썩은 물고기나 고래류로부터 살점을 뜯어내는 데 기계적 이점을 얻는다. 꼼치의 이러한 활동적인 기회주의는 어부들에게 큰 골칫거리가 될 수 있는데, 꼼치가 그물에 걸린 물고기를 수면으로 끌어올리기 전에 모두 먹어치우거나 망쳐놓을 수 있기 때문이다.
꼼치의 소화관은 척삭동물 중에서 독특한데, 내장 속 음식이 곤충의 장내 기질과 유사한 투과성 막에 싸여 있다.[57] 또한 피부를 통해 직접 영양분을 흡수할 수도 있다.[58] 꼼치는 굴 속의 붉은 띠 물고기를 적극적으로 사냥하는 것으로 관찰되었는데, 아마도 점액을 이용하여 물고기를 질식시킨 후 치판으로 잡아서 굴에서 끌어낸 것으로 보인다.[59]
겉보기에는 뱀장어와 비슷하지만, 턱이 없다는 중요한 특징이 있다. 몸은 가늘고 길며, 피부는 점액으로 덮여 있다. 몸 양쪽에 1~16쌍의 아가미구멍이 있다. 칠성장어류에서는 아가미구멍이 7쌍이며, “7개의 눈”이라고 불리는 부위이다. 3~4쌍의 수염을 가지고 있다. 골격은 거의 연골로 이루어져 있으며, 몸은 매우 유연하다. 입 주위에는 이빨이 없지만, 혀 위에는 치상돌기가 있어 대형 어류에 부착하여 내부를 침식한다. 쌍지느러미는 없고, 소뇌가 없다. 난소와 정소를 모두 가지고 있지만, 기능하는 것은 한쪽뿐이다.
눈은 퇴화하여 피부에 파묻혀 있기 때문에 시력이 매우 약하거나 없다. 화석 종의 분석으로 미루어 볼 때, 꼼치류의 조상은 비교적 발달된 눈을 가지고 있었고, 진화 과정에서 기능이 퇴화한 것으로 생각된다.
일반적으로 썩은 고기 먹이성으로, 고래나 다른 대형 어류 등의 사체에 모이는 모습이 자주 관찰된다. 고래뼈 생물군집에서는 천이의 초기 단계에 나타난다. 살아있는 먹이로는 갯지렁이와 같은 다모류 외에, 두족류나 갑각류, 저서어류도 포식하는 것으로 알려져 있다. 몸 옆면에는 점액 방출구(70~200개)가 일렬로 늘어서 있으며, 꼼치 고유의 점액선(누타선이라고 불림)에서 흰색 실 모양의 점액을 방출한다.
매우 생명력이 강하다. 머리나 내장을 잃은 상태에서도 잠시 동안은 생존이 가능하며, 통각 등에 대한 반사적인 회피 행동을 한다.
4. 분류
먹장어는 가장 원시적 척추동물로 분류되어 있으나 정확한 척추가 확인되지 않으므로 논란의 여지가 있다. 다수의 학자는 먹장어의 유전자 일부의 서열 분석 결과가 척추동물인 칠성장어와 가장 가깝고 먹장어의 척삭을 원시적 척추로 보기 때문에 먹장어를 척추동물로 분류한다. 그러나 일부 학자들은 먹장어류를 척추동물에 포함시키지 않는 대신 척추동물과 먹장어류를 합해 두개류(craniate)라는 용어를 사용한다.[61]
원래 꼼치속(*Myxine*)은 린네(1758년)에 의해 환형동물로 분류되었다. 미국 후기 석탄기의 화석 꼼치인 *믹시니켈라 시로카*(*Myxinikela siroka*)는 이 그룹에서 가장 오래된 것으로 알려져 있다. 어떤 면에서는 먹장어와 더 유사하지만 꼼치의 핵심 자기형질을 보여준다.[60] 최근 몇 년 동안 꼼치는 척삭동물 간의 관계를 조사하는 유전자 분석에 특별한 관심을 받게 되었다. 무악류로서의 분류는 꼼치를 무척추동물과 유악류 사이의 기본적인 척추동물로 자리매김한다. 그러나 꼼치가 무척추동물인지에 대한 논의는 과학 문헌에서 오랫동안 이어져 왔다.
1990년대 초 분자 증거는 처음으로 먹장어와 꼼치가 유악류보다 서로 더 밀접하게 관련되어 있음을 시사하기 시작했다.[62] "두개류(Craniata)" 분류군의 타당성은 Delarbre 외.(2002)가 미토콘드리아 DNA 염기서열 데이터를 사용하여 추가로 조사하여 꼼치류(Myxini)가 유악류(Gnathostomata)보다 먹장어류(Hyperoartia)와 더 밀접하게 관련되어 있음을 결론지었다. 즉, 현대 무악어류는 원구류라는 분지군을 형성한다는 것이다.[63] 오늘날 분자 데이터는 원구류 단계통설에 거의 만장일치로 동의하며, 최근 연구는 원구류와 유악류 사이의 공유 마이크로RNA에 초점을 맞추고 있다.[64] 분자 분석(먹장어와 꼼치가 자매 분류군임을 보여줌)과 꼼치가 실제로 흔적 척추를 가지고 있다는 사실에 의해 뒷받침되는 현재 분류는 꼼치를 원구류에 위치시킨다.[3]
### 분화
꼼치는 무악어류를 포함하는 사이클로스토마강에 속한다. 사이클로스토마강은 케라틴질 치판과 후이개(postotic) 근절(myomere)의 안와(orbital)로의 이동이라는 두 가지 중요한 특징을 갖는다.[65] 화석 기록에 따르면, 꼼치와 칠성장어는 고생대 동안 서로 분화되었을 것으로 추정된다.[65]
턱 있는 어류아문은 형태학적 특징, 특히 꼼치의 아치형 혀 때문에 제외된다.[30] 꼼치 배아는 턱 있는 어류의 특징을 가지고 있으며, 원시적인 특징일 수 있다.[30] 하지만 이러한 특징들은 꼼치가 성숙함에 따라 형태학적으로 크게 변한다.[30]
한 실험에서는 뉴클레오티드에 대한 동의어 및 비동의어 치환의 추정치를 사용하고 기존 데이터를 추가하여 분기 시간을 계산하는 시계를 사용하여 ''믹시네속''과 ''에프타트레투스속'' 분류군의 분기 시간을 계산했다.[66] 이 데이터는 계통이 약 9300만~2800만 년 전에 분기되었다는 것을 발견했지만, 후속 연구에서는 이 그룹 내에서 훨씬 이전의 분기 시점을 발견했으며, ''믹시네속''과 ''에프타트레투스속''은 트라이아스기에, ''루비쿤두스속''의 조상은 다른 현존하는 꼼치와 퍼미안기에 분기되었다.[66][67]
### 하위 분류
'''꼼치강''' Myxini는 1목 1과 아래에 2아과 7속 70종을 포함한다. 일본 근해에서는 5종이 알려져 있다. 꼼치목은 칠성장어목과 함께 현존하는 무악류이며, 원구류이다.
뉴질랜드 꼼치
멕시코만 꼼치
가는꼼치속 (구명: 맹꽁치속) ''Myxine'' (21종)
* 가는꼼치 (구명: 맹꽁치) ''M. garmani''
* 오키나와가는꼼치 ''M. paucidens''
* ''M. glutinosa''
''Notomyxine'' 속 (''N. tridentiger'' 1종만)
''Neomyxine'' 속 (''N. biniplicata'' 1종만)
''Nemamyxine'' 속 (2종)
꼼치속 ''Eptatretus'' (33종)
* 꼼치 ''E. burgeri''
* 보라꼼치 ''E. okinoseanus''
* 검정꼼치 ''E. atami''
* 북방검정꼼치 ''E. walkeri''
* ''E. stoutii''
* ''E. cirrhatus''
검정꼼치속 ''Paramyxine'' (8종) → 꼼치속의 동의어로 취급하는 경우가 많다.
* ''P. sheni''
''Quadratus'' 속 (4종)
4. 1. 분화
꼼치는 무악어류를 포함하는 사이클로스토마강에 속한다. 사이클로스토마강은 케라틴질 치판과 후이개(postotic) 근절(myomere)의 안와(orbital)로의 이동이라는 두 가지 중요한 특징을 갖는다.[65] 화석 기록에 따르면, 꼼치와 칠성장어는 고생대 동안 서로 분화되었을 것으로 추정된다.[65]
턱 있는 어류아문은 형태학적 특징, 특히 꼼치의 아치형 혀 때문에 제외된다.[30] 꼼치 배아는 턱 있는 어류의 특징을 가지고 있으며, 원시적인 특징일 수 있다.[30] 하지만 이러한 특징들은 꼼치가 성숙함에 따라 형태학적으로 크게 변한다.[30]
한 실험에서는 뉴클레오티드에 대한 동의어 및 비동의어 치환의 추정치를 사용하고 기존 데이터를 추가하여 분기 시간을 계산하는 시계를 사용하여 ''믹시네속''과 ''에프타트레투스속'' 분류군의 분기 시간을 계산했다.[66] 이 데이터는 계통이 약 9300만~2800만 년 전에 분기되었다는 것을 발견했지만, 후속 연구에서는 이 그룹 내에서 훨씬 이전의 분기 시점을 발견했으며, ''믹시네속''과 ''에프타트레투스속''은 트라이아스기에, ''루비쿤두스속''의 조상은 다른 현존하는 꼼치와 퍼미안기에 분기되었다.[66][67]
다음은 Miyashita 등의 2019년 연구를 바탕으로 수정된 꼼치와 칠성장어 계통 발생도이다.[68]
'''꼼치강''' Myxini는 1목 1과 아래에 2아과 7속 70종을 포함한다。일본 근해에서는 5종이 알려져 있다。꼼치목은 칠성장어목과 함께 현존하는 무악류이며, 원구류이다。
가는꼼치속 (구명: 맹꽁치속) ''Myxine'' (21종)
* 가는꼼치 (구명: 맹꽁치) ''M. garmani''
* 오키나와가는꼼치 ''M. paucidens''
* ''M. glutinosa''
''Notomyxine'' 속 (''N. tridentiger'' 1종만)
''Neomyxine'' 속 (''N. biniplicata'' 1종만)
''Nemamyxine'' 속 (2종)
꼼치속 ''Eptatretus'' Cloquet, 1819 (33종)
* 꼼치 ''E. burgeri'' ()
* 보라꼼치 ''E. okinoseanus'' (Dean, 1904)
* 검정꼼치 ''E. atami'' (Dean, 1904)
* 북방검정꼼치 ''E. walkeri'' (McMillan & Wisner, 2004)
* ''E. stoutii''
* ''E. cirrhatus''
검정꼼치속 ''Paramyxine'' (8종) → 꼼치속의 동의어로 취급하는 경우가 많다.
* ''P. sheni''
''Quadratus'' 속 (4종)
4. 2. 하위 분류
먹장어의 하위 분류는 다음과 같다.[63][64][3]
원래 꼼치속(*Myxine*)은 린네(1758년)에 의해 환형동물로 분류되었다. 꼼치는 무악류로서 무척추동물과 유악류 사이의 기본적인 척추동물로 여겨졌으나, 꼼치가 무척추동물인지에 대한 논의는 오랫동안 이어져 왔다. 고생물학자들은 화석 자료를 사용해 먹장어가 꼼치보다 유악류와 더 가깝다고 주장하기도 했다. "두개류(Craniata)"라는 용어는 발달된 두개골을 가졌지만 진정한 척추동물로 간주되지 않는 동물을 지칭하는 데 사용되었다.
1990년대 초, 분자 증거는 먹장어와 꼼치가 유악류보다 서로 더 가깝다는 것을 보여주었다. 미토콘드리아 DNA 염기서열 데이터를 사용한 연구에서 꼼치류(Myxini)가 유악류(Gnathostomata)보다 먹장어류(Hyperoartia)와 더 밀접하게 관련되어 있음이 밝혀졌고, 현대 무악어류는 원구류라는 분지군을 형성한다는 결론이 나왔다.
'''꼼치강''' Myxini는 1목 1과 아래에 2아과 7속 70종을 포함한다. 꼼치목은 칠성장어목과 함께 현존하는 무악류이며, 원구류이다.
가는꼼치속 (구명: 맹꽁치속) ''Myxine'' (21종)
* 가는꼼치 (구명: 맹꽁치) ''M. garmani''
* 오키나와가는꼼치 ''M. paucidens''
* ''M. glutinosa''
''Notomyxine'' 속 (''N. tridentiger'' 1종만)
''Neomyxine'' 속 (''N. biniplicata'' 1종만)
''Nemamyxine'' 속 (2종)
꼼치속 ''Eptatretus'' (33종)
* 꼼치 ''E. burgeri''
* 보라꼼치 ''E. okinoseanus''
* 검정꼼치 ''E. atami''
* 북방검정꼼치 ''E. walkeri''
* ''E. stoutii''
* ''E. cirrhatus''
검정꼼치속 ''Paramyxine'' (8종) → 꼼치속의 동의어로 취급하는 경우가 많다.
* ''P. sheni''
''Quadratus'' 속 (4종)
5. 생태
먹장어는 주로 해저나 해저 근처에 서식하며, 다모류 갯지렁이를 주 먹이로 삼지만, 죽거나 죽어가는 큰 해양 생물의 사체를 먹기도 한다.[52] 심지어 사체 안으로 들어가 내장을 파먹는 것으로도 알려져 있다.[52] 피부와 아가미를 통해 용해된 유기물을 흡수할 수 있는데, 이는 청소 동물의 생활 방식에 적응한 결과로 여겨진다.[53] 이러한 영양 흡수 방식은 수생 무척추동물과 수생 척추동물 사이의 과도기적 상태를 보여준다.[53]
거머리처럼 신진대사가 느려 먹이 없이 몇 달 동안 생존할 수 있지만,[54][55] 먹이를 섭취할 때는 매우 활발하게 움직인다. 위 내용물 분석 결과, 다모류, 새우, 소라게, 두족류, 뱀별, 경골어류, 상어, 조류, 고래 고기 등 다양한 먹이가 발견되었다.[56]
사육 상태에서 꼼치는 몸을 묶는 행동을 통해 썩은 물고기나 고래류의 살점을 뜯어내고, 더 큰 사체의 체강으로 들어가는 구멍을 만든다. 건강한 큰 해양 생물은 이러한 공격을 피할 수 있다. 꼼치의 기회주의적 먹이 활동은 어부들에게 큰 피해를 주기도 하는데, 그물에 걸린 물고기를 수면으로 끌어올리기 전에 먹어치우거나 망쳐놓기 때문이다. 한 번의 트롤 어업으로 수십, 수백 마리의 꼼치가 부수 어획물로 잡히기도 한다.
꼼치의 소화관은 척삭동물 중에서 독특하며, 내장 속 음식은 투과성 막에 싸여 있다.[57] 또한 피부를 통해 직접 영양분을 흡수할 수도 있다.[58] 꼼치는 굴 속의 붉은 띠 물고기 ''세폴라 하스티''를 점액으로 질식시켜 사냥하기도 한다.[59]
뱀장어와 비슷하게 생겼지만, 턱이 없는 무악류이다. 몸은 가늘고 길며, 점액으로 덮여 있다. 몸 양쪽에 1~16쌍의 아가미구멍이 있다. 칠성장어류는 아가미구멍이 7쌍이라 “7개의 눈”이라고 불린다. 입 주위에 3~4쌍의 수염이 있고, 혀 위에 치상돌기가 있어 대형 어류에 부착하여 내부를 침식한다. 골격은 연골로 이루어져 몸이 매우 유연하며, 쌍지느러미 없이 꼬리지느러미만 있다. 소뇌가 없고, 난소와 정소를 모두 가지지만, 한쪽만 기능한다.
눈은 퇴화하여 피부에 파묻혀 시력이 매우 약하거나 없다. 수정체가 없고, 특히 심해 서식 실뱀장어속은 망막 발달이 나쁘다. 눈을 덮는 피부는 색소가 부족하여 희끄무레하다. 화석 종 분석 결과, 꼼치류 조상은 발달된 눈을 가졌으나, 진화 과정에서 기능이 퇴화한 것으로 보인다.
고래나 다른 대형 어류 등의 사체에 모이는 썩은 고기 먹이성이며, 고래뼈 생물군집 천이 초기 단계에 나타난다. 살아있는 먹이로는 갯지렁이 등 다모류 외에, 두족류, 갑각류, 저서어류도 포식한다. 몸 옆면에는 점액 방출구(70~200개)가 늘어서 있으며, 꼼치 고유의 점액선에서 흰색 실 모양의 점액을 방출하여 포식, 방어, 먹이의 아가미를 막아 질식시키는 데 사용한다.
머리나 내장을 잃은 상태에서도 잠시 생존 가능하며, 통각 등에 대한 반사적 회피 행동을 하는 등 생명력이 매우 강하다.
6. 생리
6. 1. 신경계
해부된 칠성장어 뇌의 등쪽/좌측 측면 사진, 크기 비례 막대 추가
척추동물 신경계의 기원은 진화생물학자들에게 상당한 관심사이며, 원구류(칠성장어와 먹장어)는 이 질문에 답하기 위한 중요한 그룹이다. 칠성장어 뇌의 복잡성은 19세기 후반부터 논쟁의 대상이었으며, 일부 형태학자들은 칠성장어가 소뇌를 가지고 있지 않다고 제안한 반면, 다른 학자들은 그것이 중뇌와 연속적이라고 제안했다. 현재 칠성장어의 신경 해부학은 먹장어와 유사한 것으로 간주된다. 두 원구류의 공통적인 특징은 뉴런에 수초가 없다는 것이다. 칠성장어의 뇌는 다른 척추동물의 뇌와 유사한 특정 부분을 가지고 있다. 칠성장어 몸의 측면에 위치한 등쪽과 배쪽 근육은 척수 신경에 연결된다. 인두벽의 근육에 연결되는 척수 신경은 개별적으로 자라서 근육에 도달한다.
6. 2. 눈
먹장어의 눈은 렌즈, 안구 외근, 그리고 더 복잡한 척추동물에서 발견되는 세 개의 운동성 뇌신경(III, IV, VI)이 없어, 더 복잡한 눈의 진화 연구에 중요한 부분이다. 현존하는 먹장어에는 측두안도 없다.[32][33] 먹장어의 눈점은 빛을 감지할 수 있지만, 세부적인 영상을 분해할 수는 없는 것으로 알려져 있다. ''믹시네(Myxine)''와 ''네오믹시네(Neomyxine)''에서 눈은 부분적으로 몸통 근육에 의해 덮여 있다.[6] 그러나 고생물학적 증거는 먹장어의 눈이 원시적인 것이 아니라 퇴화된 것임을 시사하는데, 석탄기의 화석에서 복잡한 눈을 가진 먹장어와 유사한 척추동물이 발견되었기 때문이다. 이는 조상인 믹시니목(Myxini)이 복잡한 눈을 가지고 있었다는 것을 시사한다.[34][35]6. 3. 순환계
먹장어는 척추동물 중 가장 낮은 혈압 중 하나를 가지는 것으로 알려져 있다.[36] 동물에서 발견되는 가장 원시적인 유형의 체액 균형 중 하나가 이 생물들에게서 발견되는데, 세포외액이 증가하면 혈압이 상승하고, 이는 신장에 의해 감지되어 과잉 체액을 배설한다.[7] 또한 100g당 17ml의 혈액량으로 척삭동물 중 가장 높은 혈액량 대 체중 비율을 가지고 있다.[37]먹장어의 순환계는 진화 생물학자와 현대 생리학 연구자들에게 상당한 관심을 끌었다. 일부 관찰자들은 처음에 먹장어의 심장이 (턱이 있는 척추동물의 심장과 같이) 신경 지배를 받지 않는다고 생각했지만,[38] 추가 연구에 따르면 먹장어는 실제로 신경 지배를 받는 심장을 가지고 있음이 밝혀졌다. 먹장어의 순환계에는 또한 보조 "심장"으로 간주되는 여러 개의 보조 펌프가 전신에 포함되어 있다.[36]
먹장어는 외부 환경과 삼투압이 같은 삼투압 조절을 하는 유일하게 알려진 척추동물이다. 그들의 신장 기능은 여전히 잘 설명되어 있지 않다. 담즙산에서 이온을 배설한다는 가설이 있다.[39]
6. 4. 호흡
대부분의 먹장어류는 인두를 통해 물을 흡입하여 연구개 챔버를 지나 내부 아가미 주머니로 물을 이동시켜 호흡한다. 아가미 주머니의 수는 종에 따라 5쌍에서 16쌍까지 다양하다.[21] 아가미 주머니는 각각 개별적으로 열리지만, ''믹시네속(Myxine)''에서는 개구부가 합쳐져 있으며, 각 개구부에서 피부 아래로 뒤쪽으로 이어지는 관이 있어 복측면에 있는 하나의 공동 개구부인 아가미 개구부를 형성한다. 식도는 왼쪽 아가미 개구부에도 연결되어 있는데, 이 때문에 오른쪽 아가미 개구부보다 더 크다. 이 연결은 호흡 조직이 없는 인두피부관(또는 식도피부관)을 통해 이루어진다. 이 인두피부관은 인두에서 큰 입자를 제거하는 역할을 하며, 비인두관을 통해서도 부분적으로 수행된다. 다른 종에서는 아가미 개구부의 합쳐짐이 덜 완전하며, ''벨로스토마속(Bdellostoma)''에서는 칠성장어처럼 각 주머니가 외부로 개별적으로 열린다.[22][23]아가미를 통과하는 일방향의 물 흐름은 비하수체관에서 발달한 챔버 내부에 위치한 연구개 주름의 회전과 풀림에 의해 생성되며, 신경두개골의 연골에 삽입되는 복잡한 근육 세트와 아가미 주머니 및 그 관의 연동 수축에 의해 작동한다.[24] 먹장어류는 또한 산소가 없는 진흙에 묻혀 있을 때 피부에 산소를 공급하는 발달된 피부 모세혈관망과 저산소증(hypoxia)과 무산소증(anoxia)에 대한 높은 내성, 그리고 발달된 혐기성 대사를 가지고 있다.[25] 피부는 또한 피부 호흡이 가능한 것으로 여겨진다.[26]
6. 5. 근골격계
꼼치의 근육 조직은 턱이 있는 척추동물과 달리 수평 중격이나 수직 중격이 없다.[40] 턱이 있는 척추동물에서 이 중격들은 결합 조직의 연결 부위로, 배쪽 근육과 등쪽 근육을 분리한다. 그러나 모든 척추동물과 마찬가지로 꼼치는 진정한 근절과 근중격을 가지고 있다. 섭식 시 두개안면 근육은 크기가 비슷한 턱이 있는 척추동물에 비해 힘과 개구 크기가 증가했지만, 턱이 있는 척추동물의 근육에서 볼 수 있는 속도 증폭 기능이 부족하다.[40]
꼼치의 골격은 두개골, 척삭, 그리고 미부 지느러미 광선으로 구성된다. 꼼치 내골격에 대한 최초의 도해는 1905년 프레더릭 콜(Frederick Cole)에 의해 만들어졌다.[41] 콜의 논문에서 그는 골격의 일부를 "가골(pseudo-cartilage)"이라고 명명했다. 꼼치의 설기관은 연골 기저부로 구성되어 있으며, 여기에 이빨로 덮인 두 개의 판(치판)이 일련의 큰 연골 축과 관절로 연결되어 있다. 꼼치의 비강 연골은 상당히 확장되어 있으며, 연골 고리로 둘러싸인 섬유질 초피로 구성된다. 칠성장어와는 달리, 뇌함은 연골이 아니다. 꼼치의 아가미궁의 역할은 여전히 매우 추측적인데, 꼼치 배아는 후인두낭의 미부 이동을 겪기 때문이다. 따라서 아가미궁은 아가미를 지지하지 않는다.[42] 꼼치 두개골의 일부는 칠성장어와 상동적인 것으로 생각되지만, 턱이 있는 척추동물과 상동적인 요소는 매우 적다고 생각된다.[43]

6. 6. 생식
꼼치류의 생식에 대해서는 알려진 바가 거의 없다. 많은 꼼치류 종들이 심해에 서식하기 때문에 배아를 얻고 생식 행동을 관찰하는 것이 어렵다.[44] 야생에서는 암컷의 수가 수컷보다 많으며, 정확한 성비는 종에 따라 다르다. 예를 들어, ''E. burgeri''는 거의 1:1의 비율을 보이는 반면, ''M. glutinosa''는 암컷이 수컷보다 훨씬 많다.[44] 일부 꼼치류 종은 성숙 전에는 성적으로 분화되지 않으며, 난소와 정소 모두를 위한 생식선 조직을 가지고 있다.[45] 암컷이 수컷보다 빨리 발달하고 이것이 불균등한 성비의 원인일 수 있다는 주장이 제기되었다. 꼼치류의 정소는 비교적 작다.[44]
종에 따라 암컷은 1개에서 30개의 질긴 노른자 알을 낳는다. 이 알들은 양쪽 끝에 찍찍이와 같은 털이 있어 서로 뭉쳐지는 경향이 있다.[44] 꼼치류가 어떻게 알을 낳는지는 불분명하지만, 연구자들은 수컷의 낮은 비율과 작은 정소를 관찰한 결과를 바탕으로 세 가지 가설을 제시했다. 이 가설들은 암컷 꼼치가 바위 형성의 작은 갈라진 틈에 알을 낳는다는 것, 모래 아래 굴에 알을 낳는다는 것, 그리고 꼼치가 생성하는 점액을 사용하여 작은 공간에 알을 고정시킨다는 것이다.[44] 이러한 가설들을 뒷받침하는 직접적인 증거는 발견되지 않았다는 점에 유의할 필요가 있다. 꼼치는 칠성장어와 달리 유생 단계가 없다.[44]
꼼치류는 중신장을 가지고 있으며, 종종 유형성숙된 전신장을 가지고 있다. 신장은 중신장/원신관을 통해 배출된다. 많은 다른 척추동물과 달리, 이 관은 생식 기관과 분리되어 있으며, 네프론의 근위 세뇨관 또한 체강과 연결되어 윤활을 제공한다.[46] 단일 고환 또는 난소에는 운반관이 없다. 대신 배우자는 체강으로 방출되어 꼬리 부위의 후단에 도달할 때까지 이동하며, 그곳에서 소화 기관의 개구부를 찾는다.
꼼치류 배아는 부화하기 전 최대 11개월 동안 발달할 수 있으며, 이는 다른 무악류 척추동물에 비해 짧다.[47] 신경능선 세포의 진화에 대한 새로운 통찰력은 모든 척추동물이 이 세포들을 공유하며, 공통된 유전자 하위 집합에 의해 조절될 수 있다는 합의를 뒷받침한다.[48] 꼼치류는 뇌하수체에서 생식선으로 분비되어 발달을 자극하는 생식선자극호르몬을 가지고 있다.[50] 이것은 꼼치류가 한때 턱 있는 척추동물 전용으로 여겨졌던 시상하부-뇌하수체-생식선 축 시스템의 초기 버전을 가지고 있음을 시사한다. 일부 꼼치류 종은 뇌하수체에서 나오는 호르몬에 의해 자극을 받아 계절적으로 번식한다. ''E. burgeri''는 매년 번식하고 이동하는 것으로 알려져 있다.[51]
6. 7. 유전적 특징
먹장어 8종(*Eptatretus burgeri*, *E. stoutii*, *E. okinoseanus*, *E. cirrhatus*, *Paramyxine sheni*, *P. atami*, *Myxine glutinosa*, *M. garmani*)의 염색체 수는 체세포와 생식세포에서 다르며, 생식세포보다 체세포에서 더 적다. 이는 발생 단계에서 체세포 계열과 생식세포 계열로 분화할 때 만능줄기세포에서 염색체 또는 염색질 일부가 소실되는 '''염색체 방출''' 현상 때문이다. 이 현상은 꼼치목 전반에서 나타나는 특징이다.- Eptatretus burgeri*의 경우, 염색체 수는 체세포에서 36개, 정원세포에서 52개, 제1정모세포에서 25개 또는 26개이다. 체세포 DNA 양은 생식세포 DNA 양의 약 79.2%이며, 소실된 염색체는 헤테로크로마틴(이질염색질)으로, C-밴드 염색법에서 양성을 나타낸다.
일반적으로 이질염색질은 고빈도 탠덤 반복 서열로 구성된다. *Eptatretus okinoseanus*의 생식세포에서 분리된 EEEo1(95bp)과 EEEo2(85bp)는 고빈도 탠덤 반복 서열이다. 이들은 생식세포 특이적인 소핵 염색체의 C 밴드 염색 양성 부위에 존재한다. 8종의 칠성장어목에서 16종의 생식세포 특이적 또는 편재적인 고빈도 탠덤 반복 서열이 발견되었다.
이러한 고빈도 탠덤 반복 서열은 종 특이적이거나 여러 종에 존재한다. 초기에는 생식세포 특이적인 것으로 생각되었지만, 대부분 체세포에도 적은 양으로 존재한다. *E. burgeri*의 EEEb1은 생식세포 게놈에 550만 카피(생식계열 전체 게놈 DNA의 약 18.5%) 존재하지만, 체세포 게놈에는 수백 카피만 존재한다. EEEo2는 *E. burgeri*의 체세포와 생식세포 게놈 모두에 수만 카피 존재하며, *E. cirrhatus*와 *Paramyxine atami*에서도 발견되었다.
- E. cirrhatus*의 생식세포에서는 EEEo2 외에 EEEc1(172bp), EEEc2(61bp), EEEc3(54bp)의 고빈도 탠덤 반복 서열이 발견되었다. 이들은 칠성장어목 생물의 제거 염색체가 고빈도 탠덤 반복 패밀리의 모자이크임을 시사한다.
- Paramyxine sheni*에서는 EEPs1-4라는 제거 고빈도 탠덤 배열이 발견되었다. 형광제자리부합법(FISH) 결과, 생식세포의 이질염색질 염색체뿐만 아니라 진정염색질 염색체의 양 끝도 체세포에 존재하지 않고 제거됨을 확인했다. 텔로미어 FISH는 염색체 단편화와 탈신생합성에 의한 텔로미어 반복 영역 부가가 염색체 말단 제거 메커니즘의 일부일 가능성을 보여주었다.
'''이중 발현 시스템'''()은 칠성장어, 일부 경골어류, 양서류에서 발견되는 발현 시기가 다른 두 가지 유형(체세포형과 생식세포형)의 5S rRNA 유전자에 의한 5S rRNA 유전자 발현 조절 기전이다. 꼼치목 8종도 5S rRNA 유전자의 두 가지 유형을 가지며, 이중 발현 시스템으로 5S rRNA 전사를 조절한다. 5S rRNA 유전자는 염색체 세포형 5S rRNA 유전자 클러스터 형태로 염색체 방출 시 체세포에서 제외된다. 5S rRNA 유전자의 방출은 꼼치목의 체세포와 염색체 세포의 표현형 차이를 유발하는 요인으로 추정된다. 5S rRNA 유전자의 두 유형 출현은 꼼치목과 칠성장어목 분기 후, 꼼치속과 가는꼼치속 분기 시기에 발생한 것으로 추정된다. 바다칠성장어(''Petromyzon marinus'')에서는 초기 배 발생 시 체세포에서 염색체 방출이 일어나는 현상이 2009년에 관찰되었다.
7. 인간과의 관계
꼼장어의 가장 큰 소비국은 대한민국이며, 짚을 태워 구워 먹거나, 토막을 내어 파와 고추장에 볶아 먹거나, 불고기처럼 구워 먹는다. 뜨거운 열에 꿈틀거리는 꼼장어를 집게로 누르면서 숯불에 굽는 것이 한국에서 일반적인 조리법이다.[76] 징그러운 외모(특히 얼굴) 때문에 적어도 일본에서는 기피하는 식재료로 여겨진다.[76]


일본에서는 나가사키현이나 니가타현 등 일부 지역에서 소금구이 또는 건어물로 먹지만, 전국적으로는 거의 식용으로 유통되지 않는다. 아키타현 오가반도(男鹿地方)나 니가타현에서는 '함焼き 아나고(浜焼き穴子)', '봉 아나고(棒アナゴ)'라는 가공식품이 만들어지고, 훈제나 건어물도 시판된다. 참고로, 종전에는 검은 꼼장어(クロヌタウナギ)로 여겨졌지만 북방 검은 꼼장어(キタクロヌタウナギ)였던 것이 밝혀졌다.[77]
미국에서는 꼼장어를 식용으로 하는 습관이 없으며, 어획하는 관계자들도 먹는 습관이 없다. 현지 꼼장어 어업은 가죽을 목적으로 하는 경우를 제외하고는 모두 한국으로 수출된다.
꼼장어의 가죽은 '일스킨'(eel skin)이라고 불리며 독특한 무늬가 있으며 소가죽보다 강하고 부드럽다. 한국과 미국에서는 일스킨으로 만든 지갑 등이 가죽 제품으로 유통되고 있다. 번식력이 그다지 강하지 않은 것 같고, 식용이나 피혁용으로 집중적으로 어획하면 자원이 급속히 고갈된 사례가 보고되고 있다.
일본 어업 관계자들 사이에서는 혐오의 대상이다. 저인망 어업에서 대량으로 그물에 걸리면 그물 속의 물고기를 잡아먹어 상품 가치를 떨어뜨릴 뿐만 아니라, 분비한 다량의 점액이 바닷물을 흡수하여 현저하게 팽창하여 젤라틴처럼 굳어지기 때문에 어구나 갑판을 손상시키기 때문이다.
7. 1. 식용
대한민국에서는 꼼장어를 귀한 식재료로 여긴다. 껍질을 제거하고 매운 양념에 버무린 후 숯불에 굽거나 볶아 먹는 것이 일반적이며, 부산을 비롯한 경상남도의 해안 도시들에서 특히 인기가 많다.[4] 한국 요리에서의 높은 가치 때문에, 전 세계 다른 지역에서 잡히는 꼼치 대부분은 대한민국 수출을 목적으로 어획된다. 뜨거운 열에 꿈틀거리는 꼼장어를 집게로 누르면서 숯불에 굽는 것이 한국에서의 일반적인 조리법이다.[76]근해 꼼치는 북서 태평양에서 서식하며 일본[69]과 대한민국에서 식용된다. 일본에서는 나가사키현이나 니가타현 등 일부 지역에서 소금구이 또는 건어물로 먹지만, 전국적으로는 거의 식용으로 유통되지 않는다.[77] 징그러운 외모(특히 얼굴) 때문에 적어도 일본에서는 기피하는 식재료로 여겨진다.[76] 아키타현 오가반도(男鹿地方)나 니가타현에서는 '함焼き 아나고(浜焼き穴子)', '봉 아나고(棒アナゴ)'라는 가공식품이 만들어지고, 훈제나 건어물도 시판된다.[77]
미국에서는 꼼장어를 식용으로 하는 습관이 없으며, 어획하는 관계자들도 먹는 습관이 없다. 현지 꼼장어 어업은 가죽을 목적으로 하는 경우를 제외하고는 모두 한국으로 수출된다. 꼼장어 점액은 저온에서도 많은 양의 액체를 결합하는 특성이 있어, 가열이 필요 없는 두부 생산의 에너지 절약형 대안으로 제시되었다.[70]
꼼장어의 가죽은 '일스킨'(eel skin)이라고 불리며 독특한 무늬가 있으며 소가죽보다 강하고 부드럽다. 한국과 미국에서는 일스킨으로 만든 지갑 등이 가죽 제품으로 유통되고 있다.
7. 2. 가죽
붕장어 가죽(eel skin)은 다양한 의류 액세서리에 사용되며,[4] 특히 지갑이나 벨트에 적합한 내구성이 뛰어난 가죽을 생산한다.[73] 꼼장어 가죽은 '일스킨'(eel skin)이라고 불리며 독특한 무늬가 있고 소가죽보다 강하고 부드럽다. 한국과 미국에서는 일스킨으로 만든 지갑 등이 가죽 제품으로 유통되고 있다. 번식력이 그다지 강하지 않아, 식용이나 피혁용으로 집중 어획하면 자원이 급속히 고갈될 수 있다.7. 3. 기타
꼼치의 점액 실(絲)은 의류용 초고강도 섬유로 사용될 수 있으며, 채프먼 대학교의 더글러스 퍼지가 이 분야에 대한 연구를 수행했다.[71][72]참조
[1]
서적
Fishes of the World
John Wiley & Sons
[2]
논문
Family-group names of Recent fishes
[3]
서적
Campbell Biology
Pearson
[4]
서적
The fishes of New Zealand
https://www.wikidata[...]
Te Papa Press
2024-05-29
[5]
논문
Epidermal threads reveal the origin of hagfish slime
2023-03-10
[6]
웹사이트
Hyperotreti
http://tolweb.org/Hy[...]
[7]
웹사이트
The world's fastest shark is no match for a sack of flaccid hagfish skin
https://www.popsci.c[...]
2024-08-29
[8]
웹사이트
How the slimy hagfish ties itself up in knots—and survives shark attacks
https://www.science.[...]
2024-08-30
[9]
웹사이트
Comparative Biomechanics of Hagfish Skins SICB - 2017 meeting - Abstract Details
http://www.sicb.org/[...]
2018-05-17
[10]
웹사이트
Here’s how hagfish slime gets 10,000 times bigger in 0.4 seconds
https://www.popsci.c[...]
2024-08-29
[11]
논문
Composition, morphology and mechanics of hagfish slime
2005
[12]
논문
Hagfish slime and mucin flow properties and their implications for defense
2016
[13]
논문
Hagfish slime and mucin flow properties and their implications for defense
2016-09
[14]
논문
Hagfish slime ecomechanics: testing the gill-clogging hypothesis
2006-01-31
[15]
서적
The Biology of Hagfishes
Chapman and Hall
[16]
논문
The behavior of myxinoids
[17]
뉴스
Slime from this 300 million-year-old creature could create bulletproof body armor
https://nypost.com/2[...]
2017-10-26
[18]
논문
Self-Assembly of Recombinant Hagfish Thread Keratins Amenable to a Strain-Induced α-Helix to β-Sheet Transition
2015-07-08
[19]
간행물
Artificial hagfish protein fibers with ultra-high and tunable stiffness
https://www.chemistr[...]
2019-06-01
[20]
뉴스
Slime eels cause multiple car pileup on Oregon highway
https://amp.cnn.com/[...]
2022-04-21
[21]
서적
An Introduction to Zoology
https://books.google[...]
Jones & Bartlett Publishers
2016-03-13
[22]
서적
Comparative Physiology of Vertebrate Respiration
https://archive.org/[...]
Harvard University Press
1963
[23]
서적
Hyman's Comparative Vertebrate Anatomy
https://books.google[...]
University of Chicago Press
2016-03-13
[24]
서적
Biology of Fishes
https://books.google[...]
Taylor & Francis
2016-03-13
[25]
서적
The Biology of Hagfishes
https://books.google[...]
Springer Science & Business Media
[26]
서적
The Diversity of Fishes: Biology, Evolution, and Ecology
https://books.google[...]
John Wiley & Sons
2016-03-13
[27]
논문
The cerebellum of myxinoids and petromyzonts including developmental stages in the lampreys.
[28]
논문
The brains of lampreys and hagfishes: Characteristics, characters, and comparisons.
[29]
논문
Evolution of myelin sheaths: both lamprey and hagfish lack myelin.
[30]
논문
Developmental Biology of Hagfishes, with a Report on Newly Obtained Embryos of the Japanese Inshore Hagfish, Eptatretus burgeri
2008
[31]
논문
On the peculiar morphology and development of the hypoglossal, glossopharyngeal and vagus nerves and hypobranchial muscles in the hagfish
2015
[32]
서적
The Laboratory Fish
https://books.google[...]
Elsevier
2016-03-13
[33]
웹사이트
Keeping an eye on evolution
http://www.physorg.c[...]
PhysOrg.com
2007-12-04
[34]
논문
Pigmented anatomy in Carboniferous cyclostomes and the evolution of the vertebrate eye.
[35]
논문
First fossil hagfish (Myxinoidea): a record from the Pennsylvanian of Illinois
[36]
논문
Cardiac function and circulation in hagfishes
1991-07-01
[37]
웹사이트
Hagfish - Cronodon
http://cronodon.com/[...]
2018-05-04
[38]
논문
The aneural heart of the hagfish.
[39]
논문
Chemical composition of the body fluids and muscle of the hagfish Myxine glutinosa and the rabbit-fish Chimaera monstros.
[40]
논문
Morphology and kinematics of feeding in hagfish: possible functional advantages of jaws.
[41]
논문
A Monograph on the general Morphology of the Myxinoid Fishes, based on a study of Myxine. Part I. The Anatomy of the Skeleton.
[42]
논문
On the peculiar morphology and development of the hypoglossal, glossopharyngeal and vagus nerves and hypobranchial muscles in the hagfish.
[43]
논문
Development of the chondrocranium in hagfishes, with special reference to the early evolution of vertebrates
[44]
논문
The History of Scientific Endeavors Towards Understanding Hagfish Embryology
[45]
논문
Morphometics and Gonadal Development of the Hagfish Eptatretus cirrhatus in New Zealand
2013-11-08
[46]
서적
Vertebrates: comparative anatomy, function, evolution
2019
[47]
논문
Hagfish development
[48]
논문
Hagfish embryology with reference to the evolution of the neural crest
[49]
웹사이트
First genome of slime eels uncovers the deep evolutionary history of our genomes and bodies
https://www.bristol.[...]
2024-01-18
[50]
논문
Hypothalamic-Pituitary-Gonadal Endocrine System in the Hagfish
2013
[51]
논문
Current Knowledge of Hagfish Reproduction: Implications for Fisheries Management
https://academic.oup[...]
2021-05-11
[52]
웹사이트
Hagfish – World's weirdest animals
https://web.archive.[...]
2009-11
[53]
논문
Adaptations to in situ feeding: novel nutrient acquisition pathways in an ancient vertebrate
2011-03-02
[54]
웹사이트
Introduction to the Myxini
https://web.archive.[...]
2009-01-25
[55]
논문
Ecology of the hagfish, Myxine glutinosa L. in the Gulf of Maine I. Metabolic rates and energetics
1997-01-03
[56]
논문
Hagfish feeding habits along a depth gradient inferred from stable isotopes
https://www.int-res.[...]
[57]
서적
Extraordinary Animals: An Encyclopedia of Curious and Unusual Animals
Greenwood Press
[58]
웹사이트
Hagfish Just Got More Disgusting
https://www.science.[...]
2024-08-30
[59]
논문
Hagfish predatory behaviour and slime defence mechanism
[60]
논문
A Paleozoic stem hagfish Myxinikela siroka — revised anatomy and implications for evolution of the living jawless vertebrate lineages
https://www.research[...]
2020-11-23
[61]
논문
Agnathans and the origin of jawed vertebrates
[62]
논문
Evidence from 18S ribosomal RNA sequences that lampreys and hagfishes form a natural group.
[63]
논문
MicroRNAs revive old views about jawless vertebrate divergence and evolution
[64]
논문
microRNAs reveal the interrelationships of hagfish, lampreys, and gnathostomes and the nature of the ancestral vertebrate.
[65]
논문
Hagfish from the Cretaceous Tethys Sea and a reconciliation of the morphological–molecular conflict in early vertebrate phylogeny
2019-02-05
[66]
논문
Time scale for cyclostome evolution inferred with a phylogenetic diagnosis of hagfish and lamprey cDNA sequences
[67]
논문
Colonization of the ocean floor by jawless vertebrates across three mass extinctions
2024-06-13
[68]
논문
Hagfish from the Cretaceous Tethys Sea and a reconciliation of the morphological–molecular conflict in early vertebrate phylogeny
2019-02-05
[69]
웹사이트
Epatretus burgeri Inshore hagfish
https://www.fishbase[...]
2019-04-18
[70]
논문
Gelation of Soy Milk with Hagfish Exudate Creates a Flocculated and Fibrous Emulsion- and Particle Gel
2016-01-25
[71]
웹사이트
Say Hello to Fish Slime Bulletproof Vests
https://www.inverse.[...]
2024-08-29
[72]
웹사이트
Guelph Researchers Solve Part of Hagfish Slime Mystery
https://www.uoguelph[...]
2023-12-07
[73]
뉴스
Slimed: Ugly Hagfish Yields Somewhat Pretty Income
https://web.archive.[...]
2014-06-22
[74]
WoRMS
Myxinidae
2017-03-26
[75]
논문
Family-group names of Recent fishes
[76]
웹사이트
【閲覧注意】韓国の人気ゲテモノ料理「コムジャンオ」を食べてみたら…いろんな意味で「あれ」だった
https://rocketnews24[...]
2024-09-03
[77]
뉴스
あれ!違ったの? 秋田の珍味「棒アナゴ」クロヌタウナギだと思っていたら実は・・・
https://www.kahoku.c[...]
2019-04-04
[78]
웹사이트
http://m.newsprime.c[...]
2017-01-13
본 사이트는 AI가 위키백과와 뉴스 기사,정부 간행물,학술 논문등을 바탕으로 정보를 가공하여 제공하는 백과사전형 서비스입니다.
모든 문서는 AI에 의해 자동 생성되며, CC BY-SA 4.0 라이선스에 따라 이용할 수 있습니다.
하지만, 위키백과나 뉴스 기사 자체에 오류, 부정확한 정보, 또는 가짜 뉴스가 포함될 수 있으며, AI는 이러한 내용을 완벽하게 걸러내지 못할 수 있습니다.
따라서 제공되는 정보에 일부 오류나 편향이 있을 수 있으므로, 중요한 정보는 반드시 다른 출처를 통해 교차 검증하시기 바랍니다.
문의하기 : help@durumis.com
