블로우백 방식
"오늘의AI위키"의 AI를 통해 더욱 풍부하고 폭넓은 지식 경험을 누리세요.
- 1. 개요
- 2. 역사
- 3. 작동 원리
- 4. 특징
- 5. 종류
- 5.1. 단순 블로우백 (Simple Blowback)
- 5.2. API 블로우백 (Advanced Primer Ignition Blowback)
- 5.3. 지연 블로우백 (Delayed Blowback)
- 5.3.1. 롤러 지연 방식 (Roller-delayed)
- 5.3.2. 레버 지연 방식 (Lever-delayed)
- 5.3.3. 가스 지연 방식 (Gas-delayed)
- 5.3.4. 약실 링 지연 방식 (Chamber-ring-delayed)
- 5.3.5. 헤지테이션 록 방식 (Hesitation locked)
- 5.3.6. 총열 유동 지연 방식 (Rotating barrel)
- 5.3.7. 축외 블로우백 방식 (Off-axis bolt travel)
- 5.3.8. 토글 지연 방식 (Toggle-delayed)
- 5.3.9. 스크류 지연 방식 (Screw-delayed)
- 5.3.10. 블리시 록 방식 (Blish lock)
- 5.3.11. 악력 지연 방식 (Grip-delayed)
- 6. 블로우 포워드 (Blow Forward)
- 참조
1. 개요
블로우백 방식은 화기 작동 시스템의 한 종류로, 연소된 추진제에서 발생한 팽창 가스의 힘으로 탄피가 뒤로 밀려나는 관성을 이용한다. 이 방식은 탄피가 화약 압력의 직접적인 영향을 받으며 볼트의 움직임을 제어하는 방식에 따라 단순, 지연, 선진 뇌관 점화 블로우백으로 나뉜다. 단순 블로우백은 구조가 간단하지만 고위력 탄약에 대응하기 어렵고, 지연 블로우백은 노리쇠 후퇴를 지연시키는 기구를 갖춰 고위력 탄약 사용이 가능하며, 다양한 지연 방식이 존재한다. 블로우백 방식은 총열 고정이 가능하고, 다른 작동 방식에 비해 부품 수가 적다는 특징이 있다.
더 읽어볼만한 페이지
2. 역사
1663년 왕립 학회 저널에는 자동 무기를 가지고 루퍼트 공에게 온 기술자에 대한 언급이 있었지만, 작동 방식은 알려지지 않았다.[4] 이후 블로우백 방식과 관련된 여러 초기 시도들이 있었다. 1854년에는 헨리 베세머가 유압 공압식 지연 블로우백 캐논에 대한 특허를 받았고,[5] 1856년에는 미국의 Charles E. Barnes가 블로우백 작동 장치를 갖춘 크랭크 작동식 캐논에 대한 특허를 받았다.[6][7] 1876년에는 미국인 Bernard Fasoldt가 블로우백 형식을 사용하여 자동 약실 개폐 및 작동 메커니즘을 갖춘 단발 후장식 소총에 대한 특허를 영국과 미국에서 받았다.[8]
총기에서 블로우백 방식은 격발 시 연소된 화약과 같은 추진제가 만들어내는 급격히 팽창하는 가스에 의해, 소모된 탄피가 약실 뒤쪽으로 밀려나는 힘(관성)을 이용하여 다양한 메커니즘을 작동시키고 다음 탄약의 장전을 자동화하는 작동 시스템이다.[3] 발사체(탄환 등)가 아직 총열 내부에 있을 때는 고압의 추진 가스가 밀폐된 공간 안에 갇혀 있다. 그러나 발사체가 총구를 벗어나는 순간, 이 밀폐 상태가 깨지면서 추진 가스가 폭발적인 총구 폭발과 함께 방출된다. 이때 팽창하는 가스는 소모된 탄피를 총열 뒤쪽으로 밀어내는 제트 추진 효과도 만드는데, 이 '블로우백' 현상이 반동의 주요 원인이 된다.[3] 어떤 총기들은 이 블로우백 에너지를 이용해 볼트의 자동 순환 및 재장전 과정을 수행하고, 다른 총기들은 작동 사이클의 특정 부분에만 블로우백을 활용하거나 다른 자동 작동 시스템의 에너지를 보강하는 데 사용한다.[3]
블로우백 작동 방식은 다른 작동 방식과 비교했을 때 다음과 같은 특징을 가진다.
블로우백 방식은 노리쇠의 후퇴를 제어하는 메커니즘의 유무와 방식에 따라 여러 종류로 나뉜다. 가장 기본적인 방식은 단순 블로우백이며, 노리쇠의 질량과 복좌 스프링의 힘만으로 작동 지연을 얻는다. 이보다 발전된 형태로 노리쇠가 전진하는 도중에 뇌관을 격발하여 노리쇠의 전진 운동량으로 후퇴를 지연시키는 API(Advanced Primer Ignition) 블로우백 방식이 있다. 또한, 다양한 기계적 장치를 이용하여 노리쇠의 후퇴를 의도적으로 늦추는 지연 블로우백(Delayed Blowback) 방식도 존재한다.
19세기 후반에는 하이럼 맥심이 1883년에 블로우백 작동 소총 특허를, 1884년에는 토글 록 지연 블로우백 작동 소총 특허를 받았다.[9] 같은 해 몇 달 후, 리처드 폴슨(Richard Paulson)도 블로우백 작동 권총 및 소총에 대한 영국 특허를 출원했다.[10] 1887년에는 미국 발명가 Carl J. Bjerkness가 블로우백 작동 소총 특허를 출원했으며,[11][12] 1888년에는 오스트리아의 카를 살바토르 대공과 도르무스 대령이 스코다(Skoda)라고 알려진 지연 블로우백 기관총을 발명했다.[13]
금속 탄피가 실용화된 이후 다양한 자동 장전 기구를 갖춘 총기가 고안되었는데, 블로우백 작동 방식을 채택한 총기 중 기록상 가장 오래된 것은 1897년 존 브라우닝이 특허를 획득한 자동 권총([http://www.pat2pdf.org/pat2pdf/foo.pl?number=580926 U.S.Patent580,926])이다. 이 총은 후에 디자인이 변경되어 FN 브라우닝 M1900으로 시판되었으며, 이를 계기로 블로우백 작동 방식은 중, 소형 권총을 중심으로 널리 퍼져나갔다.
기관단총 분야에서는 제1차 세계 대전 시기 빌라르-페로사 M1915와 MP18 등에 블로우백 방식이 채용되었다. 제2차 세계 대전 중에는 MP40, 스텐, 톰슨, PPSh-41 등 여러 국가의 기관단총에서 이 방식을 사용했으며, 전쟁 이후에도 많은 기관단총의 작동 방식으로 채택되었다.
소총에서는 .22 롱 라이플탄을 사용하는 소구경 총기에 스트레이트 블로우백 방식이 주로 채용되었다. 전후에는 스페인제 세토메 소총에서 딜레이드 블로우백 방식이 채용되었고, 이를 개량한 H&K G3 소총과 그 파생형들이 개발되었다. 그 외에도 소수의 군용 자동 소총 등에 채용된 사례가 있다.
현재 블로우백 방식은 주로 .380 ACP탄 이하의 위력을 가진 탄약을 사용하는 자동 권총이나 기관단총, 일부 자동 소총 등에 사용되고 있다.



3. 작동 원리
모든 블로우백 시스템의 공통점은 탄피가 화약 가스 압력의 직접적인 작용으로 움직여야 한다는 것이다. 따라서 볼트가 단단히 잠기지 않고 약실에 가스 압력이 남아있는 동안 움직일 수 있는 모든 총기는 어느 정도 블로우백 작용을 겪는다.[3] 발사 시 가스 팽창 에너지는 볼트 메커니즘에 운동 에너지 형태로 전달되어 총기의 작동 사이클을 구동하는 데 사용된다. 블로우백이 활용되는 정도는 볼트의 움직임을 제어하는 방식과 다른 작동 시스템에서 얻는 에너지 비율에 따라 달라진다.[1] 볼트의 움직임을 제어하는 방식에 따라 블로우백 시스템은 주로 세 가지 범주로 나뉜다: 단순 블로우백(Simple/Straight Blowback), 지연 블로우백(Delayed/Retarded Blowback), 선진 뇌관 점화 블로우백(Advanced Primer Ignition Blowback, API). 세 방식 모두 작동 주기를 완료하기 위해 잔류 압력을 사용한다.
조지 M. 친은 블로우백을 다른 자동 화기 작동 방식과 비교하며 다음과 같이 설명했다: "넓은 의미에서 블로우백은 가스 작동 방식의 특별한 형태로 볼 수 있다. 탄피가 화약 가스에 의해 구동되는 일종의 피스톤으로 간주될 수 있기 때문이다. 하지만 블로우백은 너무 많은 특수한 문제를 포함하고 있어 자체적인 분류로 간주하는 것이 가장 좋다. 이를 가스 작동이나 반동 작동 중 어디에 포함시켜야 하는지는 순전히 학문적인 문제이다. 중요한 점은 블로우백이 두 분류의 특성을 일부 공유하며, 관련된 문제에 따라 어느 쪽으로든 간주될 수 있다는 것이다."[1]
=== 단순 블로우백 방식 ===

단순 블로우백(Straight Blowback 또는 Pure Blowback)은 가장 기본적인 자동 장전 방식이다. 이 방식에서 볼트는 총열 뒤쪽에 위치하지만 기계적으로 고정되지 않는다. 격발 시 팽창하는 가스는 총알을 총열 앞으로 밀어내는 동시에, 탄피에도 같은 압력을 가해 볼트를 뒤로 밀어내려고 한다. 탄환이 총구를 떠나기 전에 볼트가 후퇴하여 탄피가 약실에서 빠져나오면 고압 가스가 새어 나와 위험하므로, 볼트의 후퇴 속도를 늦추는 것이 중요하다.
이 방식에서는 볼트 자체의 질량(무게), 내부 마찰, 그리고 복좌 용수철(recoil spring)을 압축하는 데 필요한 힘이 볼트의 후퇴를 지연시킨다. 발사 직후 탄피는 가스압에 의해 후퇴를 시작하지만, 볼트와 복좌 용수철의 저항 때문에 탄환보다 훨씬 느리게 움직인다. 또한, 황동 등 신축성 있는 재질의 탄피는 발사 시 약실 내벽에 밀착되어 가스가 새는 것을 막는다. 탄환이 총구를 떠나 총열 내 압력이 안전한 수준으로 떨어질 때까지, 이 지연 시간 덕분에 탄피는 약실에서 완전히 빠져나오지 않는다.
탄환이 총구를 떠나면 총열 내 압력은 급격히 떨어지지만, 탄피와 볼트는 그동안 얻은 관성에 의해 복좌 용수철을 계속 압축하며 후퇴한다. 이 과정에서 빈 탄피는 추출/배출 기구(extractor/ejector)에 의해 총기 밖으로 배출된다. (이론적으로 단순 블로우백은 추출기 없이도 탄피 후퇴가 가능하다.) 볼트가 가장 뒤쪽까지 후퇴하면, 압축되었던 복좌 용수철의 힘으로 다시 앞으로 전진하며 탄창에서 다음 탄약을 약실로 밀어 넣고, 처음의 발사 준비 상태로 돌아간다.
단순 블로우백 방식은 비교적 위력이 약한 탄약과 가벼운 탄두를 사용하는 총기에 적합하다. 더 강력한 탄약을 사용하려면, 발사 초기에 약실이 너무 빨리 열리는 것을 막기 위해 더 무거운 볼트가 필요하다. 하지만 볼트 무게가 어느 수준 이상으로 증가하면 총기가 너무 크고 무거워져 비실용적이 된다. 예를 들어, 단순 블로우백과 윤활 처리된 탄피를 사용하는 20mm 기관포는 발사 후 초기 몇 밀리초 동안 탄피를 약실 내에 안전하게 유지하기 위해 약 약 226.80kg 무게의 볼트가 필요할 수 있다. 하지만 동시에 볼트는 탄피 배출과 재장전을 위해 충분히 뒤로 움직여야 하므로, 복좌 용수철의 평균 장력은 약 60lbf 정도로 제한될 수 있다. 이러한 조건에서는 시스템이 안정적으로 작동하기 어렵거나, 총구를 위로 향했을 때 볼트가 닫힌 상태를 유지하기 어려울 수 있다.[14]
이러한 볼트 무게 제약 때문에, 단순 블로우백 권총은 주로 9×19mm 파라벨룸보다 약한 구경(.25 ACP, .32 ACP, .380 ACP, 9×18mm 마카로프 등)에 사용된다. .40 S&W나 .45 ACP 같은 더 강력한 탄약을 사용하는 Hi-Point Firearms의 권총처럼 예외도 존재한다.[15] 단순 블로우백은 소구경(.22LR) 반자동 소총(예: Marlin Model 60, Ruger 10/22)이나 카빈, 그리고 기관단총에서도 흔히 볼 수 있다. 대부분의 블로우백 카빈과 기관단총은 9×19mm 파라벨룸, .40 S&W, .45 ACP와 같은 권총탄을 사용한다(예: MP 40, 스텐, UZI). 이런 총기들은 권총보다 볼트를 더 크고 무겁게 만들 수 있으며, 무게가 더 나가고 두 손으로, 때로는 개머리판의 도움을 받아 사격하므로 무거운 볼트의 움직임이 사수의 조준에 미치는 영향을 줄일 수 있다. 따라서 단순 블로우백은 기관단총에서 표준 권총보다 다소 강력한 탄약에 더 적합하다. 완전한 위력의 소총탄을 사용하는 단순 블로우백 총기는 매우 드물다. Brixia 930 경기관총은 탄약의 압력을 감당하기 위해 거대한 볼트가 필요했고, 반동을 흡수하기 위해 개머리판에 스프링 완충 장치가 있었다.[16][17] 또한 Winchester Model 1905, 1907, 1910처럼 블로우백 작동을 위해 특별히 설계된 탄약을 사용하는 소총도 소수 존재했다. 단순 블로우백 방식을 사용한 유일한 돌격 소총으로는 Burton Model 1917이 알려져 있다.[18]
단순 블로우백은 저위력 탄약 총기에는 매우 효율적이어서 소구경 반자동 권총에서는 거의 표준처럼 사용된다. 더 강력한 구경의 반자동 권총은 일반적으로 반동 작동 방식, 특히 브라우닝 계열의 잠금 총열과 슬라이드를 사용하는 짧은 반동 방식을 채택한다. 하지만 API 블로우백이나 지연 블로우백 방식이라면 강력한 탄약을 사용하는 블로우백 총기도 가능하다.
=== 선진 뇌관 점화 (API) 블로우백 방식 ===

선진 뇌관 점화(API) 블로우백 방식에서는 볼트가 앞으로 움직이는 도중, 탄약이 약실에 완전히 장전되기 전에 뇌관이 점화된다. 이는 단순 블로우백에서 정지된 볼트의 관성을 극복해야 하는 것과 달리, API 블로우백에서는 먼저 볼트의 전진 운동량을 극복해야 한다. 볼트의 전진 속도와 후진 속도가 비슷하다고 가정하면, API 블로우백은 필요한 볼트 무게를 절반으로 줄일 수 있다.[19] 또한, 반대 방향으로 움직이는 볼트의 운동량이 상쇄되면서 체감 반동을 줄이는 효과도 있다.
API 방식은 원래 라인홀트 베커가 베커 M2 20mm 기관포를 위해 개발했으며,[20] 제2차 세계 대전 중 대공 무기로 널리 쓰인 외르리콘 기관포 등 베커 설계를 기반으로 한 많은 총기에서 사용되었다.
API 블로우백 총기의 성능을 향상시키기 위해,[19] 베커나 외르리콘 같은 대구경 APIB 총기는 탄약을 담는 데 필요한 것보다 더 긴 약실을 사용하며, 탄약은 리베이트 림(탄피 지름보다 작은 림)을 가진 직벽 탄피를 사용한다.[21] 탄피와 볼트의 전진 운동 마지막 부분과 후진 운동 첫 부분은 이 확장된 약실 내에서 일어난다. 총열 내 가스 압력이 높은 동안 탄피 벽은 지지되고 약실은 밀봉 상태를 유지하지만, 탄피 자체는 뒤로 미끄러진다. 이 과정에서 탄피가 높은 내부 압력으로 팽창하여 찢어질 위험이 있어, 마찰을 줄이기 위해 탄약에 윤활유를 바르는 것이 일반적이다. 볼트 앞부분이 약실에 들어가고 추출기 갈고리가 림에 걸려야 하므로, 탄피는 약실 직경 내에 맞도록 리베이트 림을 가져야 한다. 탄피 넥은 발사 주기 동안 지지되지 않아 변형되기 쉬우므로 보통 매우 짧다.
API 블로우백 설계는 단순 블로우백보다 더 강력한 탄약을 더 가벼운 총기에서 사용할 수 있게 해주며, 반동 감소 효과는 추가적인 무게 절감으로 이어진다. 20×70mmRB 탄약을 사용하는 오리지널 베커 기관포는 제1차 세계 대전 항공기 탑재용으로 개발되었으며 무게는 30kg에 불과했다.[22] 외르리콘은 API 블로우백 방식으로 20×110mmRB 탄약을 발사하는 대전차 소총인 SSG36도 생산했다. 그러나 APIB 총기는 볼트 질량, 약실 길이, 스프링 강도, 탄약 위력, 발사 속도 간의 관계가 매우 민감하여 높은 발사 속도와 높은 총구 속도를 동시에 달성하기 어렵다.[21] 또한 API 블로우백 총기는 오픈 볼트 방식으로 발사해야 하므로 정확도가 떨어지고, 항공기 프로펠러 동기화 장치를 사용한 동기화된 발사가 불가능하다.
1970년 미국 육군 군수 사령부의 공학 과정 자료에 따르면, "API 총은 더 높은 발사 속도와 낮은 반동 운동량 때문에 단순 블로우백보다 우수하다. 그러나 유리한 성능은 정확한 타이밍에 의존한다. 뇌관 작동에 약간의 지연만 있어도, 총은 강력한 볼트와 반동 충격을 완화할 더 강한 구동 스프링의 이점 없이 단순 블로우백처럼 작동하게 된다. [...] 총과 탄약의 설계 및 제작에 대한 엄격한 요구 사항 때문에 이 방식은 거의 학문적인 관심사로 남아있다."[23]
API 메커니즘은 사용 탄약에 매우 민감하다. 예를 들어, 독일군이 MG FF(외르리콘 FFF 파생형) 기관포를 새로운 경량 지뢰탄으로 변경했을 때, 총의 스프링 강도와 볼트 무게 균형을 다시 맞춰야 했고, 그 결과 탄약 호환이 불가능한 새로운 MG FF/M 모델이 탄생했다.[24] 30mm MK 108 cannon은 제2차 세계 대전 중 API 블로우백 기술의 정점을 보여주는 예시이다.
이 원리는 미국의 Mk 19 유탄 발사기나 러시아의 AGS-30과 같은 일부 자동 유탄 발사기에서도 사용된다.
=== 지연 블로우백 방식 ===
더 강력한 탄약을 사용하거나 단순 블로우백 방식보다 더 가벼운 메커니즘을 만들기 위한 또 다른 대안은 지연 블로우백(Delayed Blowback) 방식이다. 이 방식에서는 볼트가 완전히 잠기지는 않지만, 다양한 기계적 저항(지연 메커니즘)을 이용하여 초기 위치에 머무르며 약실을 밀봉한다. API 방식에서 관성이 저항을 제공하는 것처럼, 지연 블로우백에서는 기계적 저항이 추진 가스가 볼트와 탄피를 뒤로 밀어내는 것을 매우 짧은 시간 동안 지연시킨다. 이 짧은 지연 시간은 총알이 총구를 떠나고 총열 내부 압력이 안전한 수준으로 떨어지기에 충분하다. 그 후 볼트와 탄피는 남아있는 가스 압력에 의해 뒤로 밀려나 작동 사이클을 완료한다.
고압 때문에, FAMAS, AA-52, G3와 같이 소총 구경 탄약을 사용하는 지연 블로우백 총기는 추출을 용이하게 하기 위해 플루티드 챔버(약실 내에 홈을 파서 탄피가 달라붙는 것을 방지하는 구조)를 사용하는 경우가 많다. 지연 블로우백 방식에는 다양한 형태가 있다.
4. 특징
; 비교적 간략한 구조
: 총열과 노리쇠를 기계적으로 잠그는 폐쇄 기구가 필요 없어 부품 수를 줄일 수 있다. 특히 단순 블로우백 방식은 자동 장전 방식 중 가장 구조가 간단하다. 이러한 단순성은 전시 상황 등에서 총기 수요가 급증할 때 생산성을 높이는 데 기여하기도 한다.
; 고위력 탄약에 대한 대응이 어려움
: 탄피가 화약 연소 직후부터 후퇴하기 때문에, 높은 압력을 내는 고위력 탄약을 사용하기 어렵다. 발사 가스의 압력이 높은 상태에서 탄피가 너무 빨리 후퇴하면, 약실의 지지를 받지 못하는 탄피 측면이 압력을 이기지 못하고 찢어져 가스가 누출될 위험이 있다.
: 이러한 문제 때문에 물리적인 크기 제약이 있는 권총의 경우, 단순 블로우백 방식은 일반적으로 .380 ACP 정도 위력의 탄약까지만 사용된다. .380 ACP보다 강력한 9mm 파라벨럼탄 등을 사용한 단순 블로우백 권총(예: 아스트라 mod.400, H&K VP70)이나 지연 블로우백 권총(예: H&K P7)도 있었지만, 각각 강한 복좌 스프링으로 인한 조작 어려움(아스트라), 탄약 위력 저하(VP70), 가스 실린더 발열 문제(P7) 등으로 인해 현재 널리 사용되지는 않는다.
: 자동 소총의 경우, 사용하는 탄약의 압력이 높고 탄피 길이가 길어 탄피 앞부분이 약실에 달라붙은 상태로 후퇴하지 못하고 찢어지는 문제가 발생할 수 있다. 이를 해결하기 위해 H&K G3, FA-MAS 등 고압 탄약을 사용하는 지연 블로우백 방식 소총 대부분은 약실 내벽에 플루트(flute)라는 홈을 파서 발사 가스 일부를 유도해 탄피의 들러붙음을 방지한다.
; 약실 폐쇄 기구 탑재가 어려움
: 위에서 언급한 이유와 더불어, 쇼트 리코일 방식처럼 화약 연소가 완료될 때까지 약실을 완전히 잠그는 기구(로킹 블록)를 설치하기 어렵다. 이 때문에 장약량을 늘리거나 탄두를 소구경화하여 탄속을 높인 보틀넥 형태의 탄약을 사용하기 어렵다. 예외적으로 태평양 전쟁 중 일본에서 개발된 하마다식 자동 권총은 보틀넥 형태의 8mm 남부탄을 사용하면서 단순 블로우백 방식을 채택했는데, 이는 당시 야금 기술의 한계로 8mm 남부탄의 실제 위력이 .32 ACP 수준에 머물렀기에 가능했다.[76]
: 일반적으로 폐쇄 기구를 갖춘 총기는 약실이 완전히 폐쇄되지 않으면 격발되지 않도록 하는 안전 장치를 갖추는 경우가 많지만, 폐쇄 기구 탑재가 어려운 블로우백 방식은 이러한 다중 안전 장치를 갖추기 어려워 상대적으로 안전성이 낮다고 평가될 수 있다.
; 총열의 고정이 가능
: 쇼트 리코일이나 가스 작동 방식과 달리 총열이 작동 과정에서 움직일 필요가 없어 고정시킬 수 있다. 또한 총열에 피스톤 등 부가적인 부품이 붙지 않아 비교적 높은 집탄 성능을 얻기 쉽다.
; 질량 변화에 기인하는 동작 불량
: 발사 가스의 압력, 노리쇠의 질량, 복좌 스프링의 탄성력 사이의 균형이 작동에 큰 영향을 미친다. 따라서 탄두 중량이나 장약량이 다른 탄약(예: 강장탄, 약장탄)을 사용하면 이 균형이 깨져 작동 불량이 발생하기 쉽다. 이 때문에 다른 작동 방식에 비해 다양한 종류의 탄약에 대응하기 어렵다는 단점이 있다.
5. 종류
지연 블로우백 방식은 노리쇠 후퇴를 지연시키는 구체적인 방법에 따라 롤러 지연, 레버 지연, 가스 지연, 약실 링 지연, 헤지테이션 록, 토글 지연 등 매우 다양한 하위 방식으로 세분화된다. 각 방식의 구체적인 작동 원리와 특징은 해당 하위 섹션에서 자세히 다룬다.
금속 탄피가 실용화된 이후 다양한 자동 장전 기구가 고안되었는데, 블로우백 작동 방식을 채택한 가장 오래된 기록은 1897년 존 브라우닝이 특허를 획득한 자동권총 설계([https://patents.google.com/patent/US580926A U.S.Patent 580,926])이다. 이 설계는 후에 FN M1900으로 상업화되었다. 이후 블로우백 방식은 구조의 단순함 덕분에 주로 중소형 권총에 널리 사용되었다.
기관단총 분야에서는 제1차 세계 대전 시기 빌라르-페로사 M1915, MP18 등에 채용되었고, 제2차 세계 대전에서는 MP40, 스텐 기관단총, 톰슨 기관단총, PPSh-41 등 여러 국가의 주력 기관단총 작동 방식으로 채택되었다. 전후에도 수많은 기관단총이 블로우백 방식을 기반으로 설계되었다.
소총의 경우, 주로 .22 롱 라이플탄과 같이 위력이 낮은 탄약을 사용하는 소구경 총기에 단순 블로우백 방식이 채용되었다. 더 강력한 소총탄을 사용하기 위해 전후 스페인의 CETME 소총에서 지연 블로우백 방식이 채용되었고, 이를 개량한 H&K G3 소총과 그 파생형들이 성공을 거두면서 일부 군용 자동소총에도 지연 블로우백 방식이 적용되었다.
현재 블로우백 방식은 .380 ACP 이하의 위력을 가진 탄약을 사용하는 자동권총이나 기관단총, 일부 자동소총 등에서 찾아볼 수 있다.
5. 1. 단순 블로우백 (Simple Blowback)
블로우백 방식 중 가장 기본적인 형태로, 때로는 직선 블로우백 또는 순수 블로우백이라고도 불린다. 단순 블로우백 방식에서 노리쇠(볼트)는 총열 후미에 위치하지만 고정되어 있지는 않다. 탄약이 발사될 때 발생하는 연소 가스는 탄환을 총열 앞으로 밀어내는 동시에, 탄피를 뒤쪽의 노리쇠 방향으로 밀어낸다. 이 힘으로 노리쇠 뭉치가 뒤로 밀려나지만, 노리쇠의 질량, 내부 마찰력, 그리고 작동 스프링을 압축하는 데 필요한 힘 때문에 후퇴 속도가 늦춰진다. 이 설계는 탄피가 약실을 완전히 벗어나기 전에 탄환이 총열을 빠져나갈 수 있도록 충분한 지연 시간을 확보하는 것이 중요하다. 노리쇠가 뒤로 움직이면서 빈 탄피가 배출된다. 이후 압축되었던 작동 스프링의 힘으로 노리쇠가 다시 앞으로 전진하며(오픈 볼트 방식 총기에서는 방아쇠를 당기기 전까지는 이 과정이 일어나지 않는다), 탄창에서 새로운 탄약을 약실로 밀어 넣어 장전한다.
단순 블로우백 방식은 비교적 위력이 약한 탄약을 사용하는 총기에 적합하다. 더 강력한 탄약을 사용하려면 노리쇠가 너무 빨리 열리는 것을 막기 위해 더 무거운 노리쇠가 필요한데, 어느 시점 이상이 되면 노리쇠가 지나치게 무거워져 비실용적이 된다. 예를 들어, 단순 블로우백과 윤활 처리된 탄약을 사용하는 20mm 포는 발사 초기 몇 밀리초 동안 탄약이 총열 내에 안전하게 머물도록 하기 위해 약 약 226.80kg 무게의 노리쇠가 필요하다. 하지만 노리쇠는 사용된 탄피를 배출하고 새 탄약을 장전하기 위해 충분히 뒤로 움직여야 하므로, 반동 스프링의 힘은 평균 60 lbf 정도로 제한될 수밖에 없다. 만약 이런 구조로 제작된다면, 시스템이 안정적으로 작동하기에 충분한 에너지를 갖지 못하거나, 총을 위로 기울였을 때 노리쇠를 닫힌 상태로 유지하기 어려울 수 있다.[14]
필요한 노리쇠 무게 때문에 권총의 블로우백 설계는 일반적으로 9×19mm 파라벨룸보다 작은 구경으로 제한된다(예: .25 ACP, .32 ACP, .380 ACP, 9×18mm 마카로프 등). Hi-Point Firearms의 단순 블로우백 권총과 같이 .40 S&W 및 .45 ACP탄을 사용하는 모델도 예외적으로 존재한다.[15] 단순 블로우백 작동 방식은 소구경(예: .22LR) 반자동 소총, 카빈 및 기관단총에서도 찾아볼 수 있다. 대부분의 단순 블로우백 소총은 .22 롱 라이플탄을 사용한다. 대표적인 예로는 Marlin Model 60과 Ruger 10/22가 있다. 대부분의 블로우백 카빈과 기관단총은 9×19mm 파라벨룸, .40 S&W 및 .45 ACP와 같은 권총탄을 사용한다. 예로는 MP 40, Sten 및 UZI가 있다. 이러한 무기에서는 볼트를 권총보다 크고 더 거대하게 만들 수 있는데, 본질적으로 더 무겁고, 이상적으로는 두 손으로 발사하도록 설계되었으며, 종종 어깨 받침의 도움을 받는다. 이러한 요소들은 무거운 볼트의 움직임으로 인해 사수의 조준에 방해를 받는 것을 완화하는 데 도움이 된다. 결과적으로 단순 블로우백은 표준 권총보다 기관단총에서 약간 더 강력한 탄약에 적합하다. 완전한 위력의 소총탄을 발사할 수 있는 단순 블로우백 화기 중 알려진 사례는 매우 드문데, Brixia M1930 경기관총은 탄약의 압력을 처리하기 위해 대형 볼트가 필요했으며, 반동을 처리하기 위해 개머리판에 스프링 완충 쇼크 흡수 받침대가 필요했다.[16][17] 또한 블로우백 작동을 위해 특별히 설계된 탄약을 사용하는 소수의 소총도 있었다. 예로는 Winchester Model 1905, 1907 및 1910이 있다. 단순 블로우백 방식을 사용한 것으로 알려진 유일한 돌격 소총은 Burton Model 1917이었다.[18]
단순 블로우백은 저출력 탄약을 사용하는 총기에 제한되지만, 소구경 반자동 권총에서는 매우 효율적이어서 거의 보편화되었다. 더 무거운 구경의 반자동 권총은 일반적으로 짧은 반동 방식을 사용하며, 이 중 가장 일반적인 유형은 블로우백 대신 잠금 총열과 슬라이드 어셈블리에 의존하는 브라우닝 파생 설계이다. 그러나 블로우백 방식의 총기는 강력한 탄약을 발사하는 데 사용될 수 있는데, API 또는 지연 블로우백 방식인 경우에 가능하다.
다음은 단순 블로우백의 작동 과정을 단계별로 나타낸 것이다.
# '''발사 직전 (그림 I):''' 노리쇠와 리코일 스프링에 의해 지지된 탄약이 총신 후미(약실)에 장전된 상태이다.
# '''격발 및 가스 팽창 (그림 II):''' 탄피 내 화약이 연소하며 발생한 가스가 모든 방향으로 팽창하려 한다. 이 압력으로 탄환은 총구 방향으로 이동하고, 동시에 탄피는 노리쇠를 뒤로 밀기 시작한다. 탄피는 가스압에 의해 약실 내벽에 밀착되어 가스가 새는 것을 막는다.
# '''탄환 가속 및 노리쇠 후퇴 (그림 III):''' 총열 내에서 연소 가스 압력이 높아지며 탄환이 가속된다. 같은 압력을 받은 탄피도 노리쇠와 함께 후퇴하지만, 노리쇠의 질량과 리코일 스프링의 저항 때문에 탄환보다 느린 속도로 움직인다.
# '''탄환 총구 이탈 및 압력 저하 (그림 IV):''' 탄환이 총구를 떠나면 총열 내 가스는 외부로 방출되어 압력이 급격히 떨어진다. 하지만 탄피와 노리쇠는 관성에 의해 리코일 스프링을 압축하며 계속 후퇴한다.
# '''탄피 추출 (그림 V):''' 탄피와 노리쇠는 관성에 의해 계속 후퇴하며 약실에서 탄피를 완전히 빼낸다. 이 시점에는 총열 내 압력이 안전한 수준까지 내려간 상태이다.
이후 노리쇠는 후퇴를 계속하며 탄피는 추출기(익스트랙터)와 차개(이젝터)에 의해 총 외부로 배출된다. 이론적으로 단순 블로우백 방식에서는 추출기 없이도 탄피 후퇴 및 추출이 가능하다. 노리쇠가 후퇴 한계점에 도달하면 압축되었던 리코일 스프링의 힘으로 다시 전진하며 다음 탄약을 탄창에서 밀어내 약실에 장전시키고, 총신 후미에 맞닿아 발사 준비 상태(그림 I)로 돌아간다.
단순 블로우백은 노리쇠의 후퇴 속도를 늦추는 별도의 기구가 없기 때문에, 탄약의 위력에 오직 노리쇠의 질량과 리코일 스프링의 힘만으로 대응한다. 이 때문에 권총에서는 사용할 수 있는 탄종이 제한되며, 대부분 .380 ACP탄 이하의 위력을 가진다. 반면 기관단총은 권총보다 노리쇠 질량이나 스프링 강도 등 설계 자유도가 높아, 9mm 파라벨룸, .45 ACP, .40 S&W 등 비교적 고위력 권총탄을 사용하는 경우가 많다. 또한, 비교적 저위력인 .22LR 탄 등을 사용하는 자동 장전 총기(권총, 소총 모두)는 대부분 단순 블로우백 방식을 채택한다.
'''주요 채용 예시:'''5. 2. API 블로우백 (Advanced Primer Ignition Blowback)
API(Advanced Primer Ignition) 블로우백 방식은 노리쇠가 전진하는 도중, 탄약이 완전히 약실에 장전되기 전에 뇌관이 점화되는 방식이다. 이는 일부 산포(山砲)에서 사용되는 포외발사 원리와 유사하지만, Canon de 65 M (montagne) modele 1906과 같은 포는 노리쇠가 고정되고 포신 전체가 발사 시 움직인다는 점에서 차이가 있다. API 블로우백은 발사체의 무게, 추진 장약, 포신 길이, 노리쇠 무게, 반동 스프링 강도 사이의 정교한 균형과 힘의 평형을 요구하므로 매우 신중한 설계가 필요하다.
단순 블로우백 방식에서는 추진 가스가 노리쇠의 정적 관성을 극복하고 뒤로 밀어내 약실을 개방한다. 반면 API 블로우백에서는 추진 가스가 먼저 노리쇠의 전진 운동량을 극복해야 한다. 노리쇠의 전진 속도와 후진 속도가 거의 같다고 가정하면, API 블로우백은 노리쇠의 무게를 절반으로 줄일 수 있다.[19][78] 또한, 서로 반대 방향으로 움직이는 노리쇠의 운동량이 상쇄되면서 반동을 줄이는 효과도 있다.
선진 뇌관 점화(API) 방식은 라인홀트 베커(Reinhold Becker)가 베커 M2 20mm 기관포를 위해 처음 개발했다.[20][77] 이 방식은 제2차 세계 대전 중 대공 무기로 널리 사용된 외르리콘 20mm 기관포를 포함하여 베커의 설계를 기반으로 한 여러 자동 화기에 채택되었다.
API 블로우백 화기의 성능을 높이기 위해,[19][78] 베커나 외르리콘 같은 대구경 APIB 총기는 탄약을 수납하는 데 필요한 길이보다 더 긴 약실을 사용한다. 또한, APIB 화기용 탄약은 보통 직벽(테이퍼가 없는) 형태이며 리베이트 림(탄피 지름보다 작은 지름의 림)을 가진다.[21][79] 노리쇠 전진 운동의 마지막 단계와 후진 운동의 첫 단계는 이 확장된 약실 내에서 이루어진다. 포신 내 가스 압력이 높은 동안에는 탄피 벽이 약실에 밀착되어 가스를 밀봉하지만, 탄피 자체는 뒤로 미끄러진다. 이 과정에서 높은 내부 가스 압력으로 인해 탄피가 팽창하여 찢어질 위험이 있는데, 이를 방지하기 위해 탄약에 윤활유를 바르는 것이 일반적인 해결책이다. 노리쇠 앞부분이 약실 안으로 들어가고 추출기 갈고리가 림에 걸려야 하므로, 탄피는 약실 지름 안에 맞도록 리베이트 림을 가져야 한다. 이런 탄피는 발사 사이클 동안 지지되지 않는 넥(neck) 부분이 변형되기 쉬워 보통 매우 짧은 넥을 가진다. 넥이 강하게 조여진 탄피는 쪼개질 가능성이 높다.
API 블로우백 설계는 단순 블로우백 방식보다 더 강력한 탄약을 사용하면서도 총의 무게를 가볍게 만들 수 있다. 또한 체감 반동이 줄어들어 추가적인 무게 절감 효과도 얻을 수 있다. 20×70mmRB 탄약을 사용하는 오리지널 베커 기관포는 제1차 세계 대전 항공기 탑재용으로 개발되었으며 무게는 30kg에 불과했다.[22][80] 외르리콘 사는 API 블로우백 방식을 이용해 20mm 탄약을 발사하는 대전차 소총인 SSG36을 생산하기도 했다. 그러나 이 설계는 노리쇠 질량, 약실 길이, 스프링 강도, 탄약 위력, 발사 속도 간의 관계가 매우 밀접하게 연관되어 있어, 높은 발사 속도와 높은 총구 속도를 동시에 달성하기 어려운 경향이 있다.[21][79] 또한 API 블로우백 총기는 오픈 볼트 방식으로 발사되므로 정확도가 떨어지고, 항공기 프로펠러 사이로 발사 타이밍을 맞추는 동기 장치와 함께 사용하기 어렵다.
1970년 미국 육군 군수 사령부의 공학 과정 자료에 따르면, "선진 뇌관 점화 총은 더 높은 발사 속도와 낮은 반동 운동량 때문에 단순 블로우백보다 우수하다. 그러나 이러한 장점은 정확한 타이밍에 의존한다. 뇌관 작동에 약간의 지연이라도 발생하면, 총은 강력한 노리쇠와 반동 충격을 완화하기 위한 강력한 구동 스프링의 이점 없이 단순 블로우백처럼 작동하게 된다. [...] 총과 탄약의 설계 및 제작에 대한 엄격한 요구 사항 때문에 이 방식은 거의 학문적인 관심사로 남아있다."[23]
API 메커니즘은 사용되는 탄약에 매우 민감하다. 예를 들어, 독일군이 MG FF 기관포(외르리콘 FFF 파생형)에 새로운 경량 지뢰탄을 도입했을 때, 총의 스프링 강도와 노리쇠 무게의 균형을 다시 맞춰야 했고, 이로 인해 기존 모델과 탄약 호환이 불가능한 새로운 MG FF/M 모델이 등장했다.[24] 30mm MK 108 기관포는 제2차 세계 대전 중 API 블로우백 기술의 정점이라 할 수 있다.
이 원리는 미국의 Mk 19 유탄발사기나 러시아의 AGS-30과 같은 일부 자동 유탄 발사기에도 사용된다.
단순화된 형태의 API 블로우백은 TZ-45 기관단총과 같은 오픈 볼트 방식 기관단총에서 사용된다.[79] 돌격소총 중에서는 포스트니코프 돌격 소총(ATP 및 APP)이 이 방식을 사용한다.[81] 이러한 단순화된 구조에서는 약실의 깊이가 탄피 길이보다 아주 약간 짧게 설계된다. 이로 인해 전진하는 노리쇠에 고정된 공이(격침)가 노리쇠가 약실 후면에 완전히 닿기 직전에 뇌관을 때리게 된다. 이 방식은 노리쇠 무게 감소 효과는 크지 않지만, 발사 사이클이 사수에게 더 부드럽게 느껴지게 하고 총구 들림(머즐 점프)을 줄여 총기 제어를 용이하게 한다. 탄약이 발화할 때, 테레스코핑 볼트의 무게 중심이 기관단총의 무게 중심보다 앞에 위치하게 되어, 노리쇠의 움직임이 총구를 앞으로 밀고 아래로 내리는 효과를 발생시켜 반동을 줄이고 총구 들림을 억제한다.
API 블로우백 총기는 오픈 볼트에서 발사되기 때문에 정밀도가 높지는 않지만, 사거리가 짧은 기관단총에서는 큰 단점으로 여겨지지 않는다.
5. 3. 지연 블로우백 (Delayed Blowback)
단순 블로우백 방식보다 더 강력한 탄약을 사용하거나 더 가벼운 노리쇠 메커니즘을 구현하기 위한 대안으로 지연 블로우백(Delayed Blowback) 방식이 사용된다. 이 방식은 노리쇠가 완전히 잠기지 않는 대신, 다양한 기계적 저항을 이용하는 지연 메커니즘을 통해 노리쇠가 발사 직후 즉시 후퇴하는 것을 막는다.
작동 원리는 발사 시 발생하는 높은 가스압력이 탄피와 노리쇠를 뒤로 밀어내려 할 때, 지연 메커니즘이 기계적인 저항을 제공하여 노리쇠가 초기 위치에 머무르도록 하는 것이다. 추진 가스가 이 저항을 극복하고 노리쇠를 뒤로 밀어내는 데는 아주 짧은 시간(수 밀리초)이 걸린다. 이 짧은 지연 시간 동안 총알은 총열을 떠나고 총열 내부의 압력은 안전한 수준으로 충분히 감소한다. 이후 잔류 가스 압력과 관성에 의해 노리쇠와 탄피가 뒤로 밀려나며 자동 장전 사이클이 진행된다.
지연 블로우백 방식은 단순 블로우백 방식에 비해 구조가 복잡해져 제조 비용이 상승하고 고장 가능성이 높아질 수 있다는 단점이 있다. 하지만 더 강력한 탄약을 안전하게 사용할 수 있게 해준다. 특히 FAMAS, AA-52, G3와 같이 소총 구경의 고압 탄약을 사용하는 지연 블로우백 화기에서는 탄피가 약실 내벽에 달라붙는 것을 방지하고 원활한 추출을 돕기 위해 플루티드 챔버를 사용하는 경우가 많다.
지연 블로우백을 구현하는 방식은 매우 다양하며, 노리쇠의 후퇴를 지연시키는 방법에 따라 여러 종류로 나뉜다. 주요 지연 방식으로는 다음과 같은 것들이 있다.
각 방식의 구체적인 작동 원리와 특징, 채용 사례 등은 해당 하위 섹션에서 자세히 설명한다.[82][83][84]
5. 3. 1. 롤러 지연 방식 (Roller-delayed)

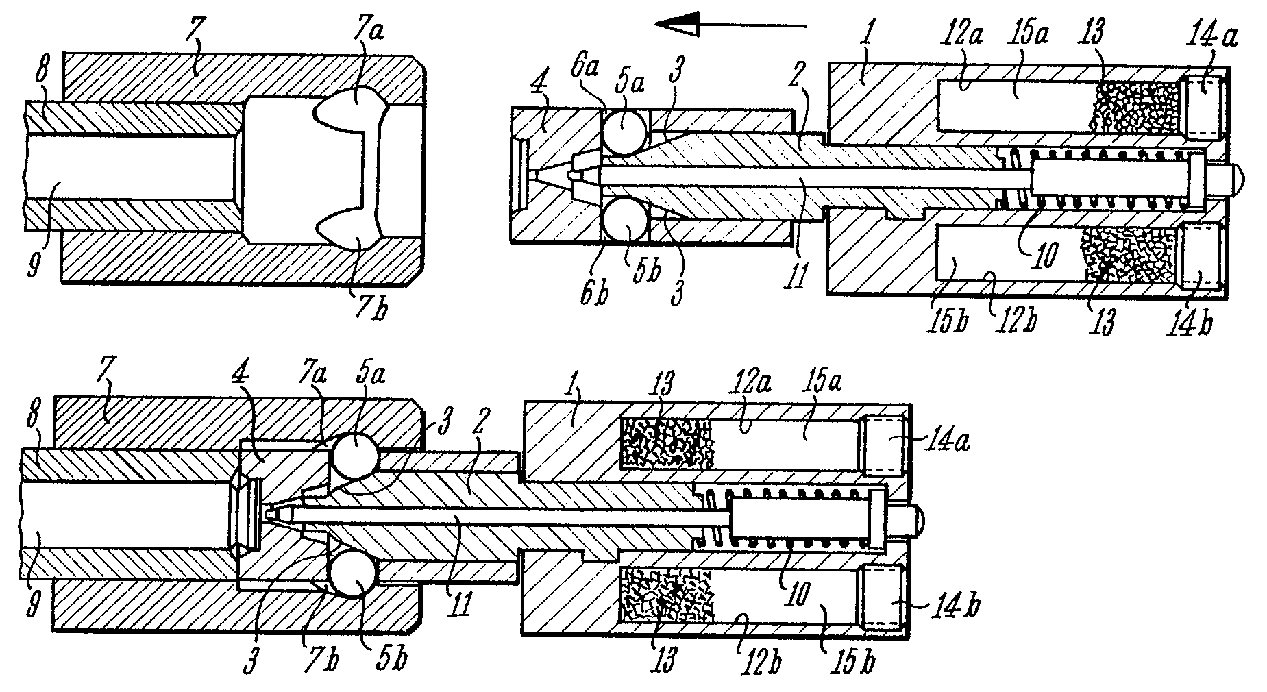
롤러 지연 블로우백(Roller-delayed blowbackeng) 방식은 제2차 세계 대전 중 나치 독일의 마우저 사에서 개발한 ''Gerät 06H'' 프로토타입 돌격소총에 처음 사용된 자동화기 작동 방식이다. 이 방식은 쇼트 리코일 방식의 일종인 MG 42의 롤러 록 방식이나, 가스 작동식 롤러 록 방식(''Gerät 03'', ''Gerät 06'', StG 44)과는 다르다.[25] 롤러 지연 방식은 총열이 고정되어 움직이지 않으며, 가스 피스톤도 사용하지 않는다. 이로 인해 부품 수가 줄어들고 구조가 비교적 가벼워지며 생산에 필요한 가공량도 감소하는 장점이 있다.[26]
작동 원리는 노리쇠(볼트) 뭉치가 후퇴할 때, 노리쇠 머리(볼트 헤드) 양쪽에 있는 롤러가 노리쇠 뭉치(볼트 캐리어) 내부의 경사면과 총몸(리시버) 내부의 홈과 맞물리면서 기계적인 저항을 발생시키는 것이다. 발사 시 발생하는 가스압력으로 탄피가 뒤로 밀리면 노리쇠 머리도 함께 후퇴하려 하지만, 롤러와 경사면의 상호작용 때문에 노리쇠 뭉치가 먼저 더 빠른 속도로 뒤로 밀려나고, 노리쇠 머리의 후퇴는 지연된다. 이 지연 시간 동안 총알이 총구를 떠나고 약실 내 압력이 안전한 수준으로 떨어지게 된다.
=== 개발 역사 ===
롤러 지연 블로우백 방식은 마우저 사의 빌헬름 슈탈레(Wilhelm Stähle)와 루드비히 포르그림러(Ludwig Vorgrimler)가 특허를 받았다. 개발 과정은 순탄치 않았는데, 특히 자동 발사 중 노리쇠가 약 20m/s의 빠른 속도로 열리면서 발생하는 '볼트 바운스'(bolt bounce, 노리쇠가 완전히 닫히기 전에 다시 튕겨나가는 현상) 문제가 심각했다. 마우저 연구소의 오트-헬무트 폰 로스니처(Ott-Helmuth von Lossnitzer) 지휘 아래 여러 엔지니어와 수학자들이 협력했으며, 수학자 카를 마이어(Karl Maier)는 이 문제를 해결하기 위한 계산을 수행했다.[27] 1943년 12월, 마이어는 노리쇠 뭉치 내부 경사면의 각도를 조정(45° 및 27°)하여 노리쇠 뭉치와 노리쇠 머리의 후퇴 속도 비율을 3:1로 만들고, 노리쇠 뭉치에 가해지는 힘과 노리쇠 머리에 가해지는 힘의 비율을 2:1로 조절하는 설계를 제안하여 볼트 바운스 문제를 해결했다. StG 45(M) 프로토타입에서는 120g의 노리쇠 머리와 360g의 노리쇠 뭉치(1:3 비율)를 사용했으며, 약실 벽에 18개의 세로 홈(플루트)을 파서 추출 시 탄피가 약실 벽에 달라붙는 것을 방지하고 안정적인 추출을 도왔다. 1944년에는 Großfuß, 라인메탈, C.G. Haenel 등 다른 독일 회사들도 이 방식에 관심을 보였고, Großfuß는 롤러 지연 방식의 MG 45 기관총 프로토타입을 개발하기도 했으나, StG 45(M)과 마찬가지로 종전으로 인해 양산되지는 못했다.
제2차 세계 대전 후, 마우저의 엔지니어였던 루드비히 포르그림러와 테오도르 뢰플러(Theodor Löffler)는 프랑스 뮐루즈의 무기 연구소 CEAM(Centre d'Etudes et d'Armament de Mulhouse)에서 1946년부터 1950년까지 근무하며 이 메커니즘을 완성했다. 하지만 프랑스의 재정난과 NATO 가입 등의 이유로 프랑스에서의 개발 계획은 취소되었다.[82] 이후 포르그림러는 프랑코 정권 하의 스페인으로 초빙되어 국영 조병창 CETME에서 근무하게 되었고, 이곳에서 개발한 CETME 전투 소총이 롤러 지연 방식을 채용한 최초의 양산 소총이 되었다. 이후 스위스의 SIG SG 510과, CETME 모델 B를 기반으로 서독의 H&K사 가 개발한 G3 전투 소총이 등장했다. G3는 독일 연방군에 제식 채용되었으며, 이후 G3를 기반으로 한 MP5 기관단총 등 다양한 파생형이 개발되어 세계적으로 널리 사용되었다.
=== 기술적 특징 ===
H&K G3 계열의 롤러 지연 방식 노리쇠 뭉치는 노리쇠 머리(볼트 헤드) 좌우에 장착된 2개의 롤러와, 그 뒤에 위치한 쐐기 모양의 잠금쇠(로킹 피스, locking piece)로 구성된다. 노리쇠가 전진하여 약실을 폐쇄하면, 복좌 용수철의 힘으로 전진한 잠금쇠가 롤러를 바깥쪽으로 밀어내 총몸 내부의 홈(배럴 익스텐션)에 물리게 된다. 발사 시 탄피가 받는 압력은 노리쇠 머리에 전달되고, 이 힘은 롤러를 통해 총몸과 잠금쇠로 분산된다. 잠금쇠와 총몸 홈의 경사면 때문에, 뒤로 향하는 힘은 롤러를 안쪽으로 밀어 넣으려는 힘으로 변환되고, 동시에 롤러는 잠금쇠를 뒤로 밀어낸다. 이때 잠금쇠는 노리쇠 머리보다 몇 배 더 빠른 속도로 후퇴하며(G3의 경우 약 3~4배), 이 과정에서 노리쇠 머리의 후퇴 속도가 지연된다. 롤러가 완전히 안쪽으로 들어가 잠금쇠와의 상호작용이 끝나면, 노리쇠 머리와 노리쇠 뭉치 전체가 함께 후퇴하여 탄피를 배출하고 재장전 과정을 수행한다.
G3 계열 소총에는 노리쇠가 완전히 폐쇄되기 전에 튕겨 나오는 볼트 바운스를 방지하기 위해 "볼트 헤드 잠금 레버"라는 안티 바운스 메커니즘이 추가되었다. 이는 노리쇠 뭉치에 장착된 스프링 달린 갈고리로, 노리쇠가 전진할 때 노리쇠 머리를 잡아주어 튕김을 방지한다.[28] 하지만 권총탄을 사용하는 MP5 등에서는 상대적으로 낮은 압력 때문에 이 메커니즘이 생략되었다.
롤러 지연 방식은 잠금쇠(로킹 피스)의 각도를 변경하여 노리쇠의 후퇴 지연 시간을 조절할 수 있으므로, 다양한 위력의 탄약에 비교적 쉽게 적용할 수 있다. 하지만 가스압 조절 밸브가 없기 때문에 특정 탄약의 성능(탄환 무게, 장약 양, 총열 길이 등)에 맞춰 설계되며, 다른 종류의 탄약을 사용할 경우 작동 안정성에 영향을 받을 수 있다. 사용함에 따라 롤러와 접촉하는 부품들이 마모되어 노리쇠와 약실 사이의 간격(볼트 간격, 헤드스페이스와 관련됨)이 변할 수 있다. 이 간격은 필러 게이지로 측정하여 점검해야 하며, 필요한 경우 직경이 다른 롤러로 교체하여 조정해야 한다. 직경이 큰 롤러는 간격을 늘리고, 작은 롤러는 간격을 줄인다.[29][30][31]
수동으로 장전 손잡이를 당겨 노리쇠를 후퇴시킬 때는 롤러의 저항이 걸리지 않도록 설계되어 있지만, 안티 바운스 메커니즘 등의 영향으로 초기 조작 시 다른 방식보다 다소 힘이 더 필요할 수 있다. 또한 노리쇠의 롤러가 총몸 내부와 지속적으로 접촉하며 움직이므로, 이 접촉면이 손상되면 작동 불량을 일으킬 수 있어 정기적인 점검이 필요하다.
=== 채용 사례 ===
5. 3. 2. 레버 지연 방식 (Lever-delayed)
지연 상태(위)와 자유 후퇴 상태(아래) 비교: 힘점(파랑)·작용점(빨강)·지점(녹색)의 3종 지레가 구성되어 있다]]레버 지연 블로우백은 지레를 사용하여 노리쇠를 기계적으로 불리한 위치에 놓아 약실의 개방을 지연시키는 방식이다. 탄약이 발사되어 노리쇠 면을 밀면, 레버는 가벼운 노리쇠에 비해 볼트 캐리어를 더 빠른 속도로 뒤로 이동시킨다.
이 방식은 지레의 원리를 이용한다. 노리쇠가 닫힌 상태에서 볼트 캐리어, 노리쇠, 리시버는 지레 역할을 하는 레버 모양의 부품으로 연결된다. 이 레버는 힘점(볼트 캐리어에 접한 레버 윗부분), 작용점(노리쇠에 접한 레버 중앙), 지점(리시버에 접한 레버 아랫부분)을 가지는 3종 지레 구조를 이룬다. 이 구조 덕분에 실제 복좌 스프링의 탄성력보다 더 큰 힘이 노리쇠에 가해져, 발사 직후 노리쇠가 후퇴하는 속도가 감소하고 개방 시점이 지연된다.
탄환이 총구를 떠나 총열 내부 압력이 낮아질 때까지 노리쇠는 지레 작용으로 증대된 복좌 스프링의 압력을 받는다. 그러나 노리쇠가 일정 거리 후퇴하면 레버가 리시버의 지지를 잃게 되고, 지레 작용은 사라진다. 이후 노리쇠에 가해지는 힘은 스프링의 탄성력만 남게 되며, 탄피와 노리쇠는 관성에 의해 계속 후퇴한다. 수동으로 노리쇠를 후퇴시킬 때는 직접 볼트 캐리어를 움직이므로 노리쇠에는 힘이 가해지지 않아 지레 작용이 일어나지 않는다.
레버 지연 시스템에 대한 최초의 알려진 설계 중 하나는 존 페데르센이 특허를 냈다.[34] 이 메커니즘은 1910년대와 1930년대에 헝가리의 무기 설계자 팔 키라이가 헝가리 왕립군을 위한 다누비아 39M 및 43M 기관단총에 처음 채용했다.[35] 제2차 세계 대전 이후 키라이는 도미니카 공화국에 정착하여 유사한 메커니즘을 사용하는 크리스토발 카빈(키라이-크리스토발 카빈)을 개발했다.
레버 지연 블로우백 방식 무기의 안정적인 작동은 탄두 무게, 추진제 장약, 총열 길이, 마모 상태 등 특정 탄약 및 무기 매개변수에 의해 제한된다.
이 시스템을 사용하는 대표적인 무기들은 다음과 같다.[36][37]
- AA-52 다목적 기관총
- FAMAS 돌격소총
- TKB-454 돌격소총
- TKB-517 돌격소총
- 2B-A-40 돌격소총
- AVB-7.62 전투소총/분대지원화기
- FNAB-43 기관단총
- 크리스토발 카빈
- 베넬리 B76 권총
- 호그 어벤저 권총
- 스털링 7.62 전투소총
- VAHAN 돌격소총
5. 3. 3. 가스 지연 방식 (Gas-delayed)
가스 지연 블로우백 방식은 가스 작동식과 혼동하기 쉽지만, 노리쇠가 잠기지 않고 추진 가스에 의해 후퇴한다는 점에서 블로우백 방식의 일종이다. 다만, 총열에서 분기된 가스가 별도의 실린더와 피스톤을 작동시켜 노리쇠의 후퇴를 지연시킨다는 점이 특징이다. 이 방식은 가스압을 노리쇠 후퇴 제어에만 사용하며, 기계적인 잠금 장치는 없다. 총강 내 압력이 높을 때만 후퇴를 억제하고 압력이 낮아지면 제어가 풀리므로, 다양한 위력의 탄약에 비교적 쉽게 대응할 수 있는 장점이 있다.이 방식은 제2차 세계 대전 당시 독일군이 7.92×33mm Kurz 탄약을 사용한 일부 설계에 사용되었다. 예를 들어 폴크스슈투름게베어(Volksgewehr, 국민 돌격총) 소총은 효과가 미미했지만 이 방식을 채용했고, 그로스푸스 슈투름게베어는 상대적으로 더 효율적이었다.[38] 국민 돌격총의 디자인은 슈타이어 GB에 거의 계승되었다. 종전 후에는 헤클러 & 코흐 P7, 발터 CCP, 슈타이어 GB 및 노린코의 M-77B 권총 등에 사용되었다.
가스 지연 방식에는 크게 두 가지 구조가 있다.
- 국민 돌격총 및 슈타이어 GB 방식: 총신 외부의 전반부를 피스톤으로, 노리쇠 내측을 실린더로 덮는 구조이다. 총신 중간에 두 곳의 가스 도입 구멍이 있어, 발사된 탄환이 이 부분을 통과하면 실린더 내로 고압의 발사 가스가 흘러 들어간다. 탄환이 총구를 떠나 총강 내 압력이 낮아질 때까지 노리쇠의 후퇴 속도는 가스압에 의해 억제된다.
- H&K P7 및 노린코 Model 77B 방식: 총신 하부에 총신과는 별도로 설치된 실린더가 있으며, 노리쇠 전방에 장착된 피스톤이 이 실린더에 삽입되는 구조이다. 탄약 발화 직후, 발사 가스의 일부가 약실 바로 옆에 뚫린 가스 도입 구멍을 통해 실린더로 흘러 들어가, 탄환이 총구를 떠나 총강 내 압력이 낮아질 때까지 노리쇠의 후퇴 속도는 가스압에 의해 억제된다.
두 구조 모두, 탄환이 총구를 떠나 연소 가스의 압력이 낮아지면 실린더 내의 압력도 낮아지고, 노리쇠의 후퇴를 늦추던 피스톤에 대한 압력도 약해지므로, 탄피와 노리쇠는 관성에 의해 후퇴한다.
한편, 블로우 포워드 방식을 채용한 SIG AK53는 국민 돌격총과 유사한 가스 실린더를 사용하여 총신의 전진을 발사 가스로 지연시키는 구조였다.

5. 3. 4. 약실 링 지연 방식 (Chamber-ring-delayed)

약실 앞부분(총구 쪽)의 지름을 뒷부분(노리쇠 쪽)보다 약간 더 크게 만들어, 총알이 발사될 때 발생하는 압력으로 탄피가 약실 벽에 더 강하게 달라붙게 하는 방식이다. 이렇게 하면 탄피가 뒤로 밀려나는 것에 일반적인 약실보다 더 큰 저항이 생겨 노리쇠의 후퇴 속도를 늦출 수 있다.
약실 지름에 변화를 주는 것 외에, 약실 안쪽에 홈(플루트)을 파는 방식도 있다. 발사 시 압력으로 탄피 옆면이 이 홈 속으로 파고들면서 변형되어 후퇴를 지연시킨다. 이는 다른 지연 블로우백 방식에서 탄피가 약실에 달라붙는 것을 막기 위해 사용하는 플루트와는 정반대의 목적으로 쓰인다. 다만, 이 방식은 탄약의 압력이 너무 높으면 탄피 옆면의 약한 부분이 찢어질 위험이 있다. 따라서 압력이 낮고 길이가 짧은 .380ACP탄이나 .32ACP탄 같은 탄약에 주로 사용되며, 비교적 저렴한 비용으로 구현할 수 있다는 장점이 있다.
한편, 탄피 재료로 황동보다 강도가 높은 연강을 사용하는 전통이 있는 구 소련 및 러시아에서는 9mm 파라벨럼탄과 비슷한 수준의 강한 탄약인 9x18mm 마카로프탄을 사용할 수 있도록 약실 내부에 나선형 홈을 판 마카로프 PM의 현대화 개량 모델(PMM)을 생산하기도 했다.
'''채용 예'''
- Seecamp 제품
- HK4
- 마카로프 PM
5. 3. 5. 헤지테이션 록 방식 (Hesitation locked)

헤지테이션 록(Hesitation lockeng) 방식은 존 페더슨( John Pederseneng )이 특허를 취득한 지연 블로우백의 한 종류이다.
이 방식은 독립적으로 움직이는 브리치부(탄피 밑부분을 지지하고 약실을 폐쇄하는 부분)를 노리쇠 안에 갖춘 구조이다. 브리치부의 뒷면은 곡선 형태이며, 이 곡선은 노리쇠 내부와 맞물린다. 동시에 브리치부 아래쪽에는 하방으로 돌출된 부분이 있다. 총알이 발사되면 노리쇠와 브리치부는 함께 뒤로 밀려나기 시작한다. 약 2mm 정도 후퇴했을 때, 브리치부 하단의 돌출부가 총몸(리시버)에 부딪혀 잠시 멈추고 고정된다. 이때 탄피는 약실에서 2mm만 빠져나오지만, 탄피 옆면은 여전히 약실 벽에 지지되고 노출된 탄피 바닥(케이스 헤드) 부분은 두껍기 때문에 탄피가 파열될 위험은 없다. 브리치부가 고정되는 동안, 관성을 얻은 노리쇠는 브리치부를 남겨두고 약 5mm 정도 더 뒤로 물러난다. 그 후, 브리치부 뒷부분이 노리쇠 내부의 캠(cameng)에 의해 위로 들어 올려지면서 총몸(리시버)에 걸려있던 돌출부가 풀려나고, 브리치부는 총몸(리시버)으로부터 완전히 분리된다. 이 시점에는 총열 안의 가스 압력이 안전한 수준까지 떨어진 상태이다. 이후 브리치부와 노리쇠는 함께 끝까지 후퇴한다. 이 작동 방식은 SKS나 MP43의 틸팅 볼트(tilting bolteng) 폐쇄 방식과 유사한 면이 있지만, 브리치부와 노리쇠를 2mm만 함께 후퇴시켜 노리쇠에 관성을 주는 점이 독특하다.
헤지테이션 록 방식을 채용하여 실제로 판매된 총기는 레밍턴 51(Remington 51eng)이 유일하다. 레밍턴( Remington Armseng )사는 이 방식을 사용하여 .45 ACP탄을 사용하는 레밍턴 53의 시제품을 만들고, 이를 M1911(콜트 M1911)을 대체할 새로운 제식 권총 후보로 미군에 제출하려 했다. 하지만 미군이 M1911의 대량 생산을 레밍턴사에 맡기는 대신, 레밍턴사는 레밍턴 53의 제출을 중단하기로 합의했다. 결국 미군은 기존 M1911을 개량한 M1911A1을 채택했고, 레밍턴 53은 제품화되지 못했다.
'''채용 사례'''
- 레밍턴 51(Remington 51eng)
5. 3. 6. 총열 유동 지연 방식 (Rotating barrel)
중: 총열: 약실 부분의 돌기가 캠 홈과 맞물림
하: 슬라이드 내 캠 홈의 도입부에는 급한 각도가 붙어 있음
총열 유동 지연 방식은 탄환이 총열을 통과할 때 내부에서 생기는 힘(강선 회전의 반작용이나 탄두 통과 시 마찰력 등)을 이용한다. 이 힘은 총열에 설치된 돌기(lug)와 캠(cam) 또는 레버(lever) 등을 통해 슬라이드에 전달되어, 슬라이드의 후퇴 속도를 늦춘다. 총열에 가해지는 힘 자체는 탄피와 슬라이드의 후퇴 운동에 비해 작지만, 캠이나 레버 구조를 통해 힘이 증폭되어 총 내부 압력이 안전한 수준으로 떨어질 때까지 슬라이드의 개방을 지연시키는 원리이다. 사용자가 직접 슬라이드를 당겨 후퇴시킬 때는 총열에서 슬라이드로 힘이 가해지지 않으므로 후퇴를 억제하는 움직임은 일어나지 않는다.
이 방식은 쇼트 리코일 방식의 회전 노리쇠 방식과 구조적으로 유사해 보일 수 있다. 하지만 총열 유동 지연 방식은 슬라이드를 기계적으로 완전히 폐쇄하는 기구를 갖지 않고, 탄약 발화 직후부터 탄피와 슬라이드가 후퇴를 시작한다는 점에서 작동 원리가 다르다.
초기 사례 중 하나인 세비지 모델 1907에 적용된 초기 이론은 강선이 총열 내에서 회전력을 발생시켜 발사체가 총열을 떠날 때까지 잠금 상태를 유지한다는 것이었다. 하지만 나중에 탄자가 잠금이 풀리기 훨씬 전에 총열을 떠난다는 사실이 밝혀졌고, 실제로는 단순 블로우백 방식으로 작동하는 것으로 확인되었다.[72] 반면, 프랑스의 MAB PA-15 및 PA-8 9mm 권총은 유사한 설계를 채택하여 성공적으로 작동한다.
세비지 모델 1907이나 MAB PA-15에서는 강선과 같은 방향으로 기울어진 캠 홈이 슬라이드 내부에 파여 있다. 이 홈이 총열의 돌출부와 맞물려 슬라이드가 전후로 움직일 때 총열이 회전하게 된다. 탄환이 발사될 때 강선(예: 우회전)에 의해 탄환에는 회전(우회전)이 가해지고, 그 반작용으로 총열에는 반대 방향(좌회전)으로 회전하려는 힘이 생긴다. 발사 가스의 압력을 받은 탄피와 슬라이드는 총열을 회전(우회전)시키면서 후퇴하려고 하지만, 총열은 반대로 회전(좌회전)하려 하기 때문에 캠 홈을 통해 슬라이드의 후퇴가 방해받아 속도가 느려진다. 탄환이 총구를 떠나면 총열에 가해지는 반작용 힘이 사라지고, 슬라이드는 총열을 회전(우회전)시키면서 정상적으로 후퇴한다.
후대에 개발된 FN Five-seveN은 다른 원리를 이용한다. 탄환이 총열 내부와 마찰하며 전진할 때 발생하는 마찰력(탄피 저항 포함)으로 인해 총열에 전방으로 작용하는 힘을 이용한다. 총열이 앞으로 나아가려는 상태에서는 슬라이드의 후퇴가 방해받는 구조라는 점에서, 결과적으로 슬라이드 후퇴를 지연시키는 것은 동일하다.
'''채용 사례'''
- 세비지 모델 1907
- MAB PA-15
- FN Five-seveN

5. 3. 7. 축외 블로우백 방식 (Off-axis bolt travel)
존 브라우닝이 제1차 세계 대전 말기에 개발하여 1921년[53][54]과 1923년에 특허([https://www.google.com/patents?vid=1457961 U.S. Patent 1,457,961])를 받은 방식이다. 이 방식은 노리쇠(볼트)가 움직이는 축을 총열 축선과 일치하지 않게 각도를 주어 설계하는 것이 특징이다. 이렇게 하면 노리쇠가 뒤로 약간 움직이더라도 실제 이동 축을 따라서는 더 많이 움직여야 하므로, 노리쇠의 질량을 늘리지 않고도 후퇴에 필요한 힘을 크게 만들어 후퇴 속도를 늦추는 지연 효과를 얻을 수 있다.[53][54]프랑스의 MAS-38 기관단총이 이 방식을 처음으로 채택했으며, 노리쇠의 반동 경로가 총열과 각도를 이루도록 설계되었다. 이후 노리쇠의 후퇴 방향을 조절하여 반동을 줄이는 효과를 노린 개량형 방식이 개발되어 자티매틱(Jatimatic) 기관단총과 크리스 벡터(KRISS Vector) 기관단총 등에 적용되었다.
5. 3. 8. 토글 지연 방식 (Toggle-delayed)


토글 지연 방식은 노리쇠와 리시버를 토글(toggle, 지렛대 원리를 이용한 경첩식 연결 장치)로 연결하여, 탄피와 노리쇠가 후퇴할 때 발생하는 에너지를 토글의 움직임으로 소모시켜 노리쇠의 후퇴 속도를 늦추고 개방을 지연시키는 방식이다.[48][49][50]
노리쇠는 중간에 경첩이 달려 있으며, 뒤쪽 끝은 고정되어 있고 약실이 폐쇄된 상태에서는 거의 직선에 가깝다. 격발 후 블로우백의 힘으로 노리쇠가 뒤로 움직이면, 이 경첩 관절 부분이 위쪽으로 꺾이면서 올라가게 된다.[51] 이 과정에서 상당한 기계적 저항(지렛대의 불리함)을 극복해야 하므로, 탄자가 총열을 떠나고 약실 내부 압력이 안전한 수준으로 떨어질 때까지 노리쇠가 열리는 것을 효과적으로 지연시킨다.
이 메커니즘은 페데르센 소총과 슈바르츠로제 MG M.07/12 기관총에 사용되었다.[49][52] 하지만 이들 총기는 G3 소총과 같은 플루트 챔버(약실 내부에 홈을 파서 탄피 배출을 돕는 구조)를 갖추지 않아, 탄피가 약실에 달라붙는 것을 방지하기 위해 탄약에 왁스나 오일을 바를 필요가 있었다.
'''채용 사례'''
- 페데르센 소총
- 슈바르츠로제 MG M.07/12
- 고쿠라 육군 조병창 시험 제작 자동소총·갑
5. 3. 9. 스크류 지연 방식 (Screw-delayed)
스크류 지연 방식은 노리쇠 후방에 스크류 모양으로 회전하는 기구를 설치하여 노리쇠의 후퇴 속도를 늦추는 방식이다. 이 방식은 1893년 오스트리아의 만리허 사에서 제작한 자동 소총에 처음 사용되었는데, 각진 단속 나사산을 이용해 회전 노리쇠가 1/4 회전하며 지연되도록 설계되었다.[57] 나선형 나사를 이용해 후방 이동을 지연시키는 또 다른 초기 형태는 살바토르-도르무스 M1893 기관총에서도 찾아볼 수 있다.이후 존 T. 톰슨은 1920년경 비슷한 원리로 작동하는 자동소총을 설계하여 미 육군 차기 소총 시험에 여러 차례 제출했다. 이 소총은 페더슨 소총이나 개런드가 제출한 프라이머 작동식 자동소총 등과 경쟁했지만, M1903 스프링필드 소총을 대체하기 위한 초기 시험에서 채택되지 못했다.[58]
스크류 지연 방식은 지연 블로우백 중 가장 간단한 형태 중 하나로 평가받는다. 하지만 탄약에 윤활유를 바르거나 플루티드 챔버(약실 내 홈)를 사용하지 않으면, 특히 풀 사이즈 소총 탄약을 사용할 경우 반동이 불안정해질 수 있다는 단점이 있다.[59] 또한 안전을 위해, 탄피 파열을 방지하려면 노리쇠가 최소 90° 이상 회전해야 한다.[60]
이 방식은 이후 미하일 칼라시니코프가 1942년에 제작한 시제 기관단총[61]과 폭스 와스프 카빈에도 적용되었다.
'''채용 예'''
- [http://kalashnikov.guns.ru/models/ka10.html 1942년형 칼라시니코프 시제 기관단총]
5. 3. 10. 블리시 록 방식 (Blish lock)


블리시 록(Blish lock)은 전 미국 해군 중령이었던 존 벨 블리시가 고안한 후미 잠금(지연) 방식이다. 그는 "고압 하에서 서로 다른 특정 금속 사이에는 일반적인 마찰 법칙 예측보다 더 큰 저항력(정지 마찰력)이 작용한다"는 자신의 관찰에 기반하여 1915년 이 방식의 특허를 취득했다. 현대 공학 용어로는 이러한 현상을 스틱션(sticktion)이라고 부른다.
이 방식은 노리쇠 좌우 측면에 경사진 홈을 파고, H자형 황동제 로킹 피스를 끼워 넣는 구조이다. 노리쇠가 전진한 상태에서는 로킹 피스가 아래쪽에 위치한다. 탄환이 발사되어 탄피에 밀린 노리쇠가 후퇴를 시작하면, 강철제 노리쇠와 황동제 로킹 피스 사이에 마찰이 발생하여 로킹 피스가 노리쇠 홈을 따라 위로 완전히 올라갈 때까지 노리쇠의 후퇴 속도가 지연될 것이라고 블리시는 예상했다.
블리시 록은 톰슨 기관단총 초기형, 자동소총, 자동카빈총 설계에 사용되었다. 그러나 블리시의 가설은 과학적 근거가 부족했고, 실제로는 노리쇠와 로킹 피스 사이에 기대했던 만큼의 마찰력이 발생하지 않았다.[83] 로킹 피스의 상하 이동에 큰 마찰이 걸릴 것을 대비해 오일 공급 장치도 고안되었으나, 먼지나 모래가 붙기 쉬워 실제 장착된 경우는 드물었다. 또한 윤활 상태나 오염 여부에 따라 지연 효과가 크게 달라지거나 아예 사라질 수도 있었다.[70] 게다가 황동은 강철보다 무른 소재여서 로킹 피스는 마모와 파손이 잦아 정기적으로 교체해야 하는 소모품이었다.
결과적으로 블리시 록 시스템이 실제로 제공하는 지연 효과는 볼트 무게를 약 1온스 늘리는 것만으로도 얻을 수 있는 미미한 수준이었다.[71] 이 방식은 불필요한 복잡성만 더하고 노리쇠 무게를 증가시켰을 뿐이며, 초기형 톰슨 기관단총 역시 실질적으로는 단순 블로우백 방식으로 작동했다는 평가를 받는다.[83] 이러한 문제점 때문에 블리시 록은 제2차 세계 대전 중 미국 육군의 요구에 따라 톰슨 기관단총의 M1 및 M1A1 버전에서는 제거되었다.[70]
- '''채용 사례''': 톰슨 기관단총 초기형 (M1 이전 모델)
5. 3. 11. 악력 지연 방식 (Grip-delayed)
1978년 미국 A.J. Ordnance사에서 판매한 “Thomas .45ACP” 권총에 사용된 독특한 지연 방식이다. 이 외에 다른 총기에서 사용된 사례는 없다.
이 방식은 사용자가 총의 그립(손잡이) 뒤쪽 레버를 쥐는 힘, 즉 악력을 이용하여 슬라이드의 후퇴를 늦춘다. 레버를 쥐면 슬라이드 아래쪽에 있는 부등변삼각형 모양의 홈에 브레이크 부품이 올라와 맞물리면서 슬라이드가 뒤로 움직이는 것을 방해한다. 총알이 발사된 후 강한 압력으로 슬라이드가 뒤로 밀릴 때, 이 브레이크 부품을 누르면서 후퇴하게 된다. 기계의 작동 원리가 사람의 악력에 의존한다는 점이 특징이다.
악력을 이용하기 때문에 다소 원시적으로 보일 수도 있지만, 레버와 브레이크는 지렛대 원리를 이용하여 생각보다 강한 제동력을 만들어낸다. 또한 구조가 단순하기 때문에 고장이 적고 비교적 저렴한 비용으로 만들 수 있다는 장점이 있다.[84]
채용 예는 Thomas .45ACP가 유일하다.
6. 블로우 포워드 (Blow Forward)
블로우백 방식과 유사한 원리를 가지지만, 작동 방식에서 차이가 있다. 블로우백 방식이 노리쇠(볼트)가 뒤로 밀리는 방식인 반면, 블로우 포워드는 노리쇠와 약실 부분을 리시버에 고정하고 발사 시 발생하는 가스압으로 총열 전체가 앞으로 밀려나도록 설계된 방식이다.[85]
이 방식을 채용한 총기로는 슈타이어 만리허 M1894, 슈바르츠로제 M1908, 히노식 자동 권총 등이 소수 제작되었다. 그러나 탄창에서의 탄약 공급이 어렵고 동작 사이클이 느리다는 단점이 있었다. 이러한 문제점 때문에 SIG AK53 (가스 지연식)이 시제품으로 제작된 것을 마지막으로, 현재 소형 권총에서는 거의 사용되지 않는 방식이다.[85]
다만, 대형 기관포에서는 여전히 사용 사례가 있는데, 일본 육상자위대가 운용하는 96식 40mm 자동 유탄총이 현재까지 블로우 포워드 방식을 채택한 대표적인 예이다.[85]
참조
[1]
간행물
Chinn
[2]
서적
Rifles
Military Service Publishing Co.
[3]
간행물
Chinn
[4]
웹사이트
The History of the Royal Society of London for Improving of Natural Knowledge, from Its First Rise: In which the Most Considerable of Those Papers Communicated to the Society, which Have Hitherto Not Been Published, are Inserted in Their Proper Order, as a Supplement to the Philosophical Transactions
https://books.google[...]
[5]
웹사이트
Abridgments of the Specifications Relating to Fire-arms and Other Weapons, Ammunition, and Accoutrements: A.D. 1588–1858-Pt. II. A.D. 1858–1866
https://books.google[...]
Printed by George E. Eyre and William Spottiswoode, pub. at the Great seal patent office
2017-12-23
[6]
웹사이트
HyperWar: The Machine Gun (Vol. /Part )
http://www.ibiblio.o[...]
Ibiblio.org
2017-12-23
[7]
웹사이트
Improved automatic cannon
https://patents.goog[...]
[8]
웹사이트
Improvement in breech-loadimx fire-arms
https://patents.goog[...]
[9]
웹사이트
Hieam stevens maxim
https://patents.goog[...]
[10]
서적
Patents for Inventions. Abridgments of Specifications, Volume 19
https://books.google[...]
Great Britain. Patent Office
[11]
웹사이트
Repeating fire-arm
https://patents.goog[...]
[12]
서적
The Machine Gun, History, Evolution, and Development of Manual, Automatic, and Airborne Repeating Weapons
https://books.google[...]
Ordnance Bureau (Navy Department)
[13]
서적
The Machine Gun: History, Evolution, and Development of Manual, Automatic, and Airborne Repeating Weapons, Volume 2, Part 7
https://books.google[...]
U.S. Government Printing Office, 1951
[14]
간행물
Chinn
[15]
웹사이트
Hi-Point Firearms: Handguns
https://web.archive.[...]
[16]
문서
Mitragliatrice Brixia 930
Metallurgica bresciana
[17]
문서
Mitragliatrice Brixia 930
Magazine "Diana-Armi"
1976-08
[18]
문서
The World's Assault Rifles
[19]
간행물
Chinn
[20]
웹사이트
Williams, Anthony G., ''Of Oerlikons and other things……''
http://www.quarryhs.[...]
[21]
서적
Rapid Fire
Airlife UK
[22]
서적
Flying Gun World War I
Airlife UK
[23]
웹사이트
Automatic Weapons
http://www.dtic.mil/[...]
United States Army Materiel Command
1970-02
[24]
서적
Rapid Fire
Airlife UK
[25]
Youtube
Last Ditch Innovation: The Development of the Gerat 06 and Gerat 06H Rifles
https://m.youtube.co[...]
2012-11-19
[26]
서적
Full Circle: A Treatise on Roller Locking
Collector Grade Publications
[27]
웹사이트
Do You Know Your HK’s Parents?
https://www.thefirea[...]
[28]
서적
Encyklopedia najnowszej broni palnej – tom 2 G-Ł
Bellona
[29]
Youtube
How Does It Work: Roller Delayed Blowback
https://www.youtube.[...]
[30]
웹사이트
Actions: Blowback Action: Roller Delayed Blowback
http://firearmshisto[...]
[31]
웹사이트
How Roller-Delayed Firearms Work and Why it Matters
https://www.internat[...]
[32]
웹사이트
Roller and bearing delayed firearm operating systems
https://patents.goog[...]
[33]
웹사이트
Bearing Delay Upper Receiver | Mean Arms
https://www.meanarms[...]
[34]
특허
US Patent 1410270
[35]
웹사이트
Gun automatics: Delayed blowback action
https://modernfirear[...]
2018-01-07
[36]
웹사이트
GIAT FAMAS assault rifle (France)
http://modernfirearm[...]
2010-10-27
[37]
French Patent
French Patent FR949973A Mécanisme de retard à l'ouverture de culasse d'arme à feu, Published 1949-09-14
https://worldwide.es[...]
[38]
간행물
http://www.kalashnik[...]
2006-09
[39]
웹사이트
High Standard T3 Prototype: An American Blowback at James D Julia
http://www.forgotten[...]
2017-04-05
[40]
웹사이트
The Mann .25 Pistol
https://unblinkingey[...]
[41]
웹사이트
L.W. Seecamp Co. - Care & Maintenance
http://www.seecamp.c[...]
[42]
웹사이트
AMT Automag II-V
https://modernfirear[...]
2010-10-22
[43]
웹사이트
Detroit's Short-Lived Kimball .30 Carbine Pistol
https://www.forgotte[...]
2018-03-29
[44]
웹사이트
The SG510 Assault Rifle of Switzerland
http://www.biggerham[...]
[45]
웹사이트
Firearm barrel assembly with ported chamber
https://patents.goog[...]
[46]
웹사이트
Firearm barrel assembly with ported chamber
https://patents.goog[...]
[47]
US Patent
1,737,974
[48]
웹사이트
Cliff Carlisle, ''Japanese Pedersen Semi Auto Rifles & Carbines''
http://www.carbinesf[...]
2007-08-19
[49]
서적
How It Works: Science and Technology
https://books.google[...]
Marshall Cavendish
[50]
간행물
Automatic Weapons
http://www.dtic.mil/[...]
United States Army Materiel Command
2013-08-01
[51]
웹사이트
Система запирания канала оружейных стволов Patent RU2529303
http://www.findpaten[...]
[52]
서적
Hatcher's Notebook
The Military Service Press Company
1947
[53]
US Patent
1457961
[54]
웹사이트
Historical Firearms - the .30-18 Browning Autoloading Rifle the First
https://www.historic[...]
[55]
Radial delayed blowback operating system
Radial delayed blowback operating system, such as for ar 15 platform US20180142972A1
https://patents.goog[...]
[56]
웹사이트
CMMG MkG45
https://www.shooting[...]
[57]
문서
Repetier- und Automatische Handfeuer Waffen, Der systeme Ferdinand Ritter von Mannlicher
[58]
서적
Book of the Garand
Gun Room Pr.
1983
[59]
문서
Ordnance, The Thompson Autorifle Caliber .30 by H. E. Hartney, 1921, P150
[60]
문서
Ordnance, Volume 3-4, American Defense Preparedness Association 1922. THE PROBLEM OF AN INFANTRY RIFLE. Page 153
[61]
간행물
Кто изобрел автомат Калашникова
2000
[62]
웹사이트
Charles E. Petty, ''Delightful diversion'', Guns Magazine, March, 2004.
http://findarticles.[...]
[63]
서적
Blue Book of Gun Values, 13th Ed.
Blue Book Publications, Incorporated
[64]
서적
Hatcher's Notebook
https://books.google[...]
Stackpole Books
[65]
웹사이트
Experimental semi-automatic rifles by John Garand, 1919-1936
http://www.nps.gov/s[...]
National Park Service
[66]
웹사이트
''Flirting With Flechettes: The US Army's Search for the Ideal Rifle Projectile''
http://www.cruffler.[...]
2007-09-27
[67]
웹사이트
Clarke carbine
https://www.forgotte[...]
2010-10-27
[68]
웹사이트
9 x 51mm SMAW - International Ammunition Association
http://cartridgecoll[...]
[69]
간행물
ГИЛЬЗОВЫЙ ДВИГАТЕЛЬ. О необычных системах автоматики
http://www.kalashnik[...]
2014-05-13
[70]
서적
Soviet Submachine Guns Of World War II
Osprey Publishing
2014
[71]
간행물
Army Ordnance
1920-12
[72]
서적
Hatchers Notebook
The Military Service Press Company
[73]
웹사이트
Firearm
https://patents.goog[...]
[74]
웹사이트
Headspace-Operated Prototype Rifle – Yeah, it's as Weird as it Sounds
https://www.forgotte[...]
2020-12-28
[75]
웹사이트
TACCOM Delayed Blowback 9mm Recoil System with Neodymium Magnets -
https://www.thefirea[...]
2019-07-02
[76]
문서
[77]
웹사이트
Williams, Anthony G., ''Of Oerlikons and other things……''
http://www.quarry.ni[...]
2009-04-24
[78]
서적
The Machine Gun, Volume IV: Design Analysis of Automatic Firing Mechanisms and Related Components
Bureau of Ordnance, Department of the Navy
[79]
서적
Rapid Fire
Airlife UK
[80]
서적
Flying Gun World War I
Airlife UK
[81]
웹사이트
livejournal.com
http://pics.livejour[...]
[82]
문서
[83]
웹사이트
The Tale of the Tommy Gun
https://www.popularm[...]
Popular Mechanics
2020-02-26
[84]
웹사이트
参照スレッド
http://www.thehighro[...]
[85]
특허
米国特許5123329号
http://www.freepaten[...]
1990
본 사이트는 AI가 위키백과와 뉴스 기사,정부 간행물,학술 논문등을 바탕으로 정보를 가공하여 제공하는 백과사전형 서비스입니다.
모든 문서는 AI에 의해 자동 생성되며, CC BY-SA 4.0 라이선스에 따라 이용할 수 있습니다.
하지만, 위키백과나 뉴스 기사 자체에 오류, 부정확한 정보, 또는 가짜 뉴스가 포함될 수 있으며, AI는 이러한 내용을 완벽하게 걸러내지 못할 수 있습니다.
따라서 제공되는 정보에 일부 오류나 편향이 있을 수 있으므로, 중요한 정보는 반드시 다른 출처를 통해 교차 검증하시기 바랍니다.
문의하기 : help@durumis.com